TOP
|
特許
|
意匠
|
商標
特許ウォッチ
Twitter
他の特許を見る
10個以上の画像は省略されています。
公開番号
2025161980
公報種別
公開特許公報(A)
公開日
2025-10-24
出願番号
2025141668,2021193621
出願日
2025-08-27,2021-11-29
発明の名称
車両用灯具
出願人
市光工業株式会社
代理人
弁理士法人酒井国際特許事務所
主分類
F21S
43/30 20180101AFI20251017BHJP(照明)
要約
【課題】固定側の灯具ユニットと可動側の灯具ユニットとの間の繋がり感を向上させることが可能な車両用灯具を提供する。
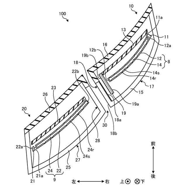
【解決手段】車両用灯具は、第1ユニット及び第2ユニットを備え、第1ユニットは、第1光学部材と第1脚部との間に配置される反射部材を有し、反射部材は、第1光学部材から隙間側に出射される第1光を第1正面部側に反射する第1反射面と、第2ユニットの第2光学部材から出射されて第2アウターレンズ及び第1アウターレンズを透過する第2光を隙間側に反射して隙間から正面側に出射させる第2反射面とを有する。
【選択図】図2
特許請求の範囲
【請求項1】
第1光を照射する第1ユニットと、
前記第1ユニットとの間に隙間を空けて配置され、第2光を照射する第2ユニットと
を備え、
前記第1ユニットは、
第1光源と、
前記第1光源の前記第1光を導光して出射する第1光学部材と、
車両搭載状態において前記第1光学部材の正面側を覆う第1正面部と、前記第1光学部材の前記隙間側の側面を形成する第1脚部とを有し、正面から見た場合に前記第1脚部の前記隙間側の側面が前記隙間から視認可能に配置された第1アウターレンズと、
を有し、
前記第2ユニットは、
第2光源と、
前記第2光源の前記第2光を導光して出射する第2光学部材と、
車両搭載状態において前記第2光学部材の正面側を覆う第2正面部と、前記第2光学部材の前記隙間側の側面を形成する第2脚部とを有する第2アウターレンズと、
を有し、
前記第1ユニットは、前記第1光学部材と前記第1脚部との間に配置される反射部材を有し、
前記反射部材は、前記第1光学部材から前記隙間側に出射される前記第1光を前記第1正面部側に反射する第1反射面と、前記第2光学部材から出射されて前記第2アウターレンズ及び前記第1アウターレンズを透過する前記第2光を前記隙間側に反射して前記隙間から正面側に出射させる第2反射面とを有する
車両用灯具。
続きを表示(約 67 文字)
【請求項2】
前記第2ユニットは、前記第1ユニットに対して車両内側に配置される
請求項1に記載の車両用灯具。
発明の詳細な説明
【技術分野】
【0001】
本発明は、車両用灯具に関する。
続きを表示(約 1,400 文字)
【背景技術】
【0002】
従来、車両の後部に車両本体側とバックドア側とに跨って配置される車両用灯具が知られている(例えば、特許文献1参照)。このような車両用灯具は、車両本体側の灯具ユニットと、バックドア側の灯具ユニットとを備えた構成である。
【先行技術文献】
【特許文献】
【0003】
特許第6159166号公報
【発明の概要】
【発明が解決しようとする課題】
【0004】
特許文献1に記載の車両用灯具は、車両本体側の灯具ユニットとバックドア側の灯具ユニットとが隙間を空けて配置される。このように車両における固定側と可動側との間に跨って配置される車両用灯具においては、固定側の灯具ユニットと可動側の灯具ユニットとの繋がり感を高める構成が求められている。
【0005】
本発明は、上記に鑑みてなされたものであり、固定側の灯具ユニットと可動側の灯具ユニットとの間の繋がり感を向上させることが可能な車両用灯具を提供することを目的とする。
【課題を解決するための手段】
【0006】
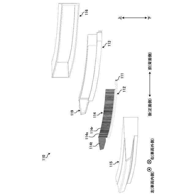
本発明に係る車両用灯具は、固定部及び可動部を有する車両の前記固定部に配置されて第1光を照射する固定側ユニットと、前記固定側ユニットとの間に隙間を空けた状態で前記可動部に配置されて第2光を照射する可動側ユニットとを備え、前記固定側ユニットは、第1光源と、前記第1光源の前記第1光を導光して出射する第1光学部材と、車両搭載状態において前記第1光学部材の正面側を覆う第1正面部と、前記第1光学部材の前記隙間側の側面を形成する第1脚部とを有し、正面から見た場合に前記第1脚部の前記隙間側の側面が前記隙間から視認可能に配置された第1アウターレンズと、を有し、前記可動側ユニットは、第2光源と、前記第2光源の前記第2光を導光して出射する第2光学部材と、車両搭載状態において前記第2光学部材の正面側を覆う第2正面部と、前記第2光学部材の前記隙間側の側面を形成する第2脚部とを有する第2アウターレンズと、を有し、前記固定側ユニットは、前記第1光学部材と前記第1脚部との間に配置される反射部材を有し、前記反射部材は、前記第1光学部材から前記隙間側に出射される前記第1光を前記第1正面部側に反射する第1反射面と、前記第2光学部材から出射されて前記第2アウターレンズ及び前記第1アウターレンズを透過する前記第2光を前記隙間側に反射して前記隙間から正面側に出射させる第2反射面とを有する。
【0007】
上記の車両用灯具において、前記第1脚部は、前記第1アウターレンズに入射する前記第2光を前記隙間側に内面反射して前記隙間から正面側に出射させるプリズム部を内面に有する。
【0008】
上記の車両用灯具において、前記第1正面部及び前記第2正面部の少なくとも一方は、内面に光拡散部を有する。
【0009】
上記の車両用灯具において、前記第1アウターレンズ及び前記第2アウターレンズは、前記可動部から前記固定部にかけて背面側に湾曲した形状を有する。
【0010】
上記の車両用灯具において、前記第1光学部材及び前記第2光学部材は、棒状の導光体と、前記導光体の延びる方向に一体に並ぶ棒状部及び板状部を有し前記導光体の側面との間の所定間隔を空けて配置されるインナーレンズとを有する。
【発明の効果】
(【0011】以降は省略されています)
この特許をJ-PlatPat(特許庁公式サイト)で参照する
関連特許
個人
照明装置
1か月前
個人
消火器設置表示装置
1か月前
個人
車載機器の通気構造
3か月前
株式会社遠藤照明
照明器具
1日前
株式会社遠藤照明
照明装置
2か月前
日亜化学工業株式会社
面状光源
15日前
株式会社小糸製作所
車両用灯具
2か月前
株式会社小糸製作所
車両用灯具
2か月前
能美防災株式会社
表示灯
3か月前
株式会社小糸製作所
誘導装置
2か月前
スタンレー電気株式会社
照射用光源
2か月前
アクア株式会社
冷蔵庫
4か月前
フルトラム株式会社
光学機器
2か月前
株式会社小糸製作所
投光装置
3か月前
株式会社小糸製作所
投光装置
3か月前
株式会社小糸製作所
車両用灯具
1か月前
株式会社小糸製作所
表示用灯具
2か月前
株式会社小糸製作所
車両用灯具
5か月前
株式会社小糸製作所
車両用灯具
1か月前
株式会社小糸製作所
車両用灯具
1か月前
株式会社小糸製作所
車両用灯具
7日前
株式会社小糸製作所
表示用灯具
2か月前
株式会社小糸製作所
車両用灯具
5か月前
株式会社小糸製作所
車両用灯具
1か月前
株式会社小糸製作所
車両用灯具
1か月前
日東電工株式会社
照明装置
2か月前
日本精機株式会社
照明装置及び表示装置
14日前
オムロン株式会社
発光エンブレム
1か月前
株式会社小糸製作所
車両用前照灯
2か月前
東芝ライテック株式会社
照明装置
4か月前
株式会社北井地所
照明装置
2か月前
スタンレー電気株式会社
照明装置
2か月前
株式会社ユーシン
表示・照明装置
2か月前
三協立山株式会社
照明付きポール
4か月前
シャープ株式会社
照明装置
7日前
市光工業株式会社
車両用灯具
28日前
続きを見る
他の特許を見る