TOP
|
特許
|
意匠
|
商標
特許ウォッチ
Twitter
他の特許を見る
公開番号
2025154881
公報種別
公開特許公報(A)
公開日
2025-10-10
出願番号
2024058132
出願日
2024-03-29
発明の名称
車両用画像表示装置
出願人
市光工業株式会社
代理人
個人
,
個人
主分類
H04N
5/64 20060101AFI20251002BHJP(電気通信技術)
要約
【課題】排熱効率が良い車両用画像表示装置を提供することにある。
【解決手段】この発明の車両用画像表示装置1は、ケース2と、ケース2に取り付けられているカメラ3と、ケース2に取り付けられていて、カメラ3が撮影した車両の周囲の情報を表示する表示部4と、ケース2内に配置されていて、カメラ3が撮影した車両の周囲の情報を記録する記録部5と、ケース2内に配置されていて、カメラ3、表示部4および記録部5を制御する制御部6と、ケース2内に配置されていて、制御部6の熱を排出するヒートシンク7と、を備え、ケース2内を換気するファン8を、ケース2に設ける。この結果、この発明の車両用画像表示装置1は、排熱効率が良い。
【選択図】 図1
特許請求の範囲
【請求項1】
車両の室内の所定箇所に取り付けられるケースと、
前記ケースに取り付けられているカメラと、
前記ケースに取り付けられていて、前記カメラが撮影した車両の周囲の情報を表示する表示部と、
前記ケース内に配置されていて、前記カメラが撮影した車両の周囲の情報を記録する記録部と、
前記ケース内に配置されていて、前記カメラ、前記表示部および前記記録部を制御する制御部と、
前記ケース内に配置されていて、前記制御部の熱を排出する放熱部材と、
を備え、
前記ケース内を換気するファンを、前記ケースに設けた、
ことを特徴とする車両用画像表示装置。
続きを表示(約 1,100 文字)
【請求項2】
前記ケースと前記カメラとの間には、隙間が形成されている、
ことを特徴とする請求項1に記載の車両用画像表示装置。
【請求項3】
前記ケースは、第1ケースと、第2ケースと、前記所定箇所に取り付けられる取付部と、を有し、
前記ケースは、前記第1ケースと前記第2ケースとに2分割されていて、
前記第1ケースには、前記表示部が取り付けられていて、
前記第2ケースには、前記カメラが取り付けられていて、
前記第1ケースと前記第2ケースとの間には、前記ファンが挟み込まれている、
ことを特徴とする請求項1に記載の車両用画像表示装置。
【請求項4】
前記ケースには、吸気口と排気口とが設けられていて、
前記吸気口は、前記ケースのうち、前記ファンに対向している部分に設けられていて、または、前記ケースに設けられている前記ファンが担っていて、
前記排気口は、前記ケースのうち、少なくとも、前記カメラに対向している部分に設けられている、
ことを特徴とする請求項1に記載の車両用画像表示装置。
【請求項5】
前記排気口は、
前記カメラに対向している部分に設けられているカメラ側排気口と、
前記カメラ側排気口が設けられている部分に対して、前記ファンと反対側の部分に設けられている下流側排気口、または、前記取付部との間に設けられている取付部側排気口の少なくともいずれか一方と、
を有する、
ことを特徴とする請求項3に記載の車両用画像表示装置。
【請求項6】
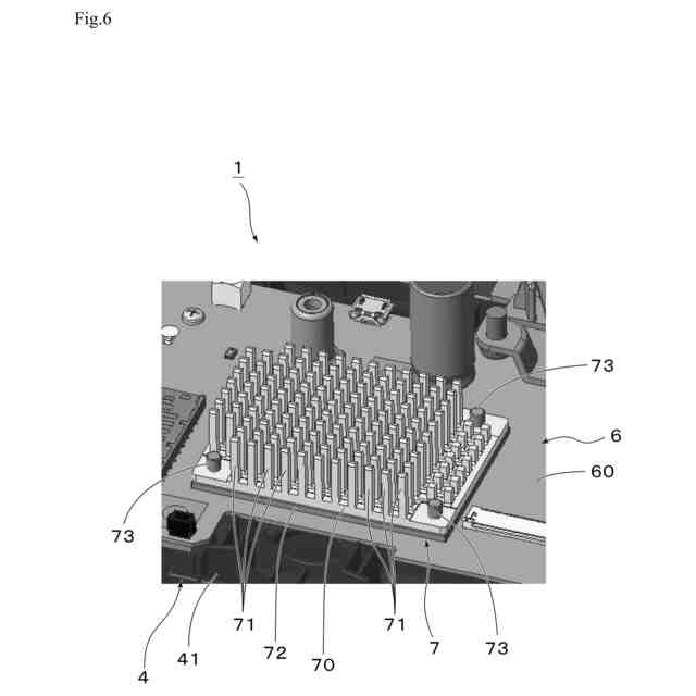
前記放熱部材は、基板部と、前記基板部に縦横に立設されている複数本の棒部材と、を有し、
複数本の前記棒部材は、前記ファンが吸入した空気を、前記ファンの軸方向と、前記軸方向に交差する方向とに、分流させる、
ことを特徴とする請求項1に記載の車両用画像表示装置。
【請求項7】
前記制御部は、基板と、前記基板に実装されている制御素子と、を有し、
前記放熱部材は、前記制御素子を前記基板との間において挟み込むように、前記基板に介在部材を介して取り付けられていて、
前記介在部材のうち前記制御素子に対応する部分には、透孔が設けられていて、
前記透孔中には、熱伝導シートが配置されていて、
前記熱伝導シートは、前記制御素子と前記放熱部材との間に介在されている、
ことを特徴とする請求項1に記載の車両用画像表示装置。
発明の詳細な説明
【技術分野】
【0001】
この発明は、車両用画像表示装置に関する。
続きを表示(約 1,200 文字)
【背景技術】
【0002】
車両用画像表示装置、いわゆる、ドライブレコーダとしては、たとえば、特許文献1に示すものがある。
【0003】
特許文献1のドライブレコーダは、カメラ部および制御部と、カメラ部および制御部を収容する筐体とを備える。筐体は、使用姿勢における水平方向の両端部側に、それぞれ上下方向に延びるフィンを有する第1放熱部及び第2放熱部を有する。
【0004】
特許文献1のドライブレコーダは、制御部で生じた熱が、第1放熱部及び第2放熱部それぞれのフィンに伝達され、フィンから効率よく外部へ排出される。このように、特許文献1のドライブレコーダは、排熱効率に優れている。このように、車両用画像表示装置においては、排熱効率が良い、ことが重要である。
【先行技術文献】
【特許文献】
【0005】
特開2020-199800号公報
【発明の概要】
【発明が解決しようとする課題】
【0006】
この発明は、排熱効率が良い車両用画像表示装置を提供することにある。
【課題を解決するための手段】
【0007】
この発明の第1の観点の車両用画像表示装置は、前記の課題を解決するため、車両の室内の所定箇所に取り付けられるケースと、前記ケースに取り付けられているカメラと、前記ケースに取り付けられていて、前記カメラが撮影した車両の周囲の情報を表示する表示部と、前記ケース内に配置されていて、前記カメラが撮影した車両の周囲の情報を記録する記録部と、前記ケース内に配置されていて、前記カメラ、前記表示部および前記記録部を制御する制御部と、前記ケース内に配置されていて、前記制御部の熱を排出する放熱部材と、を備え、前記ケース内を換気するファンを、前記ケースに設けた、ことを特徴とする。
【0008】
この発明の車両用画像表示装置において、前記ケースと前記カメラとの間には、隙間が形成されている、ことが好ましい。
【0009】
この発明の車両用画像表示装置において、前記ケースは、第1ケースと、第2ケースと、前記所定箇所に取り付けられる取付部と、を有し、前記ケースは、前記第1ケースと前記第2ケースとに2分割されていて、前記第1ケースには、前記表示部が取り付けられていて、前記第2ケースには、前記カメラが取り付けられていて、前記第1ケースと前記第2ケースとの間には、前記ファンが挟み込まれている、ことが好ましい。
【0010】
この発明の車両用画像表示装置において、前記ケースには、吸気口と排気口とが設けられていて、前記吸気口は、前記ケースのうち、前記ファンに対向している部分に設けられていて、または、前記ケースに設けられている前記ファンが担っていて、前記排気口は、前記ケースのうち、少なくとも、前記カメラに対向している部分に設けられている、ことが好ましい。
(【0011】以降は省略されています)
この特許をJ-PlatPat(特許庁公式サイト)で参照する
関連特許
市光工業株式会社
表示装置
1か月前
市光工業株式会社
車両用灯具
6日前
市光工業株式会社
車両用灯具
8日前
市光工業株式会社
車両用灯具
8日前
市光工業株式会社
車両用灯具
13日前
市光工業株式会社
車両用灯具
1か月前
市光工業株式会社
車両用灯具
1か月前
市光工業株式会社
車両用灯具
2か月前
市光工業株式会社
車両用画像表示装置
1か月前
市光工業株式会社
車両用灯具
27日前
市光工業株式会社
車両用発光ユニットの基板、車両用発光ユニット、車両用灯具
1か月前
個人
イヤーピース
13日前
個人
イヤーマフ
27日前
個人
監視カメラシステム
1か月前
個人
スイッチシステム
21日前
キーコム株式会社
光伝送線路
1か月前
WHISMR合同会社
収音装置
2か月前
サクサ株式会社
中継装置
1か月前
サクサ株式会社
中継装置
1か月前
個人
スキャン式車載用撮像装置
1か月前
アイホン株式会社
電気機器
2か月前
キヤノン株式会社
撮像装置
2か月前
サクサ株式会社
無線通信装置
1か月前
サクサ株式会社
無線通信装置
1か月前
個人
映像表示装置、及びARグラス
22日前
サクサ株式会社
無線システム
1か月前
ヤマハ株式会社
放音制御装置
21日前
キヤノン電子株式会社
画像読取装置
1か月前
キヤノン電子株式会社
画像読取装置
2か月前
株式会社リコー
画像形成装置
2か月前
個人
ワイヤレスイヤホン対応耳掛け
2か月前
株式会社リコー
画像形成装置
29日前
株式会社リコー
画像形成装置
2か月前
キヤノン電子株式会社
画像読取装置
13日前
キヤノン電子株式会社
画像読取装置
21日前
キヤノン電子株式会社
シート搬送装置
13日前
続きを見る
他の特許を見る