TOP
|
特許
|
意匠
|
商標
特許ウォッチ
Twitter
他の特許を見る
10個以上の画像は省略されています。
公開番号
2025169051
公報種別
公開特許公報(A)
公開日
2025-11-12
出願番号
2024074028
出願日
2024-04-30
発明の名称
車両用灯具
出願人
市光工業株式会社
代理人
弁護士法人クレオ国際法律特許事務所
主分類
F21S
41/265 20180101AFI20251105BHJP(照明)
要約
【課題】より簡易な構成で適切にカットオフラインを形成することのできる車両用灯具を提供する。
【解決手段】車両用灯具10は、光源(45)からの光を反射する配光反射面56と、配光反射面56で反射された光を車両の前方に投影して、カットオフラインCLを有するすれ違い用配光パターンLPを照射する投影レンズ13と、を備える。配光反射面56は、カットオフラインCLを形成するために、カットオフ縁部57と、カットオフ縁部57に沿って部分的に突出するまたは凹む偏向部70と、を有し、偏向部70は、自らに進行する光源(45)からの光を投影レンズ13とは異なる位置へと進行させる。
【選択図】図4
特許請求の範囲
【請求項1】
光源からの光を反射する配光反射面と、
前記配光反射面で反射された光を車両の前方に投影して、カットオフラインを有するすれ違い用配光パターンを照射する投影レンズと、を備え、
前記配光反射面は、前記カットオフラインを形成するために、カットオフ縁部と、前記カットオフ縁部に沿って部分的に突出するまたは凹む偏向部と、を有し、
前記偏向部は、自らに進行する前記光源からの光を前記投影レンズとは異なる位置へと進行させることを特徴とする車両用灯具。
続きを表示(約 1,000 文字)
【請求項2】
さらに、前記光源からの光を入射させた後に前記配光反射面で反射させてから出射させて前記投影レンズへと導く導光レンズを備え、
前記偏向部は、前記導光レンズにおいて前記配光反射面を形成する傾斜壁箇所に部分的に設けられていることを特徴とする請求項1に記載の車両用灯具。
【請求項3】
前記光源を第1光源とするとともに前記導光レンズを第1導光レンズとし、
さらに、前記第1導光レンズの上方に設けられて、第2光源からの光を導く第2導光レンズを備え、
前記第1導光レンズは、前記配光反射面で反射した前記第1光源からの光を出射させる第1出射部を有し、
前記第2導光レンズは、前記第2光源からの光を出射させる第2出射部を有し、
前記第1出射部の上端は、前記第2出射部の下端よりも上方に位置されていることを特徴とする請求項2に記載の車両用灯具。
【請求項4】
前記第2導光レンズは、前記第2光源からの光を入射させる第2入射部と、前記第2入射部から入射されて下方へ向かう光を前記第2出射部へ向けて反射する第2下側内部反射面と、を有し、
前記第2下側内部反射面は、前記第2入射部から前記第2出射部に向かって上側に傾斜されていることを特徴とする請求項3に記載の車両用灯具。
【請求項5】
前記第1導光レンズは、前記第1光源からの光を入射させる第1入射部と、前記第1入射部から入射された光を前記配光反射面へ向けて反射する第1下側内部反射面と、を有し、
前記配光反射面は、前記第1下側内部反射面の上方に位置することを特徴とする請求項3または請求項4に記載の車両用灯具。
【請求項6】
前記第1導光レンズは、前記第1下側内部反射面で反射された光を前記配光反射面へと導く導光箇所を有し、
前記カットオフ縁部は、前記導光箇所の後側壁面と前記配光反射面との境目で形成されていることを特徴とする請求項5に記載の車両用灯具。
【請求項7】
さらに、前記光源からの光を入射させた後に前記配光反射面で反射させてから出射させて前記投影レンズへと導くリフレクタ部材を備え、
前記偏向部は、前記リフレクタ部材において前記配光反射面から部分的に突出されていることを特徴とする請求項1に記載の車両用灯具。
発明の詳細な説明
【技術分野】
【0001】
本開示は、車両用灯具に関する。
続きを表示(約 2,400 文字)
【背景技術】
【0002】
車両用灯具では、カットオフラインを有するすれ違い用配光パターンを形成するものが考えられている(例えば、特許文献1参照)。そのカットオフラインは、水平ラインを基本としつつ、求められる明るさ分布に応じて傾斜ラインを組み合わせた構成とされている。従来の車両用灯具は、光源からの光を導く導光レンズのカットオフ縁部の形状を投影することで、水平ラインと傾斜ラインとを有するカットオフラインを形成している。
【先行技術文献】
【特許文献】
【0003】
国際公開第2018/043663号
【発明の概要】
【発明が解決しようとする課題】
【0004】
上記の車両用灯具は、カットオフ縁部を、水平ラインに対応する水平縁部分と傾斜ラインに対応する傾斜縁部分とを有する構成とすることで、水平ラインに対する適切な位置に所望の大きさの傾斜ラインを組み合わせたカットオフラインを有するすれ違い用配光パターンを形成している。このため、上記の車両用灯具は、カットオフ縁部を、カットオフラインにおいて求められる水平ラインと傾斜ラインとの位置関係に合わせて水平縁部分と傾斜縁部分とを高い精度で設けた形状とする必要がある。
【0005】
本開示は、上記の事情に鑑みて為されたもので、より簡易な構成で適切にカットオフラインを形成することのできる車両用灯具を提供することを目的とする。
【課題を解決するための手段】
【0006】
本開示の車両用灯具は、光源からの光を反射する配光反射面と、前記配光反射面で反射された光を車両の前方に投影して、カットオフラインを有するすれ違い用配光パターンを照射する投影レンズと、を備え、前記配光反射面は、前記カットオフラインを形成するために、カットオフ縁部と、前記カットオフ縁部に沿って部分的に突出するまたは凹む偏向部と、を有し、前記偏向部は、自らに進行する前記光源からの光を前記投影レンズとは異なる位置へと進行させることを特徴とする。
【発明の効果】
【0007】
本開示の車両用灯具によれば、より簡易な構成で適切にカットオフラインを形成することができる。
【図面の簡単な説明】
【0008】
本開示に係る実施例1の車両用灯具を示す説明図である。
図1に示すI-I線に沿って得られた断面を示す説明図である。
車両用灯具を構成した状態における投影レンズと第1導光レンズと第2導光レンズと各第1すれ違い用光源と各第2すれ違い用光源との構成と位置関係とを示す説明図である。
第1導光レンズと各第1すれ違い用光源とを、各第1すれ違い用光源側から見た様子を示す説明図である。
各第1すれ違い用光源からの光が第1導光レンズにより導かれる様子と、各第2すれ違い用光源からの光が第2導光レンズにより導かれる様子と、を示す説明図であり、それらの周辺を図2と同様の断面で示している。
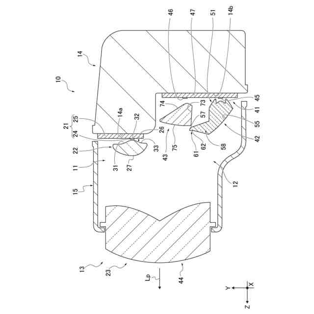
配光反射面に設けた偏向部の作用を説明するための説明図であり、偏向部の周辺を図5と同様の断面で示している。
投影光軸上の中心位置で水平線と鉛直線とが交差するスクリーン上において、第1導光レンズを通した各第1すれ違い用光源からの光が形成する集光パターン部を示す説明図である。
図7と同様のスクリーン上において、第2導光レンズを通した各第2すれ違い用光源からの光が形成する拡散パターン部を示す説明図である。
図7と同様のスクリーン上において、車両用灯具が形成するすれ違い用配光パターンと走行用配光パターンとを示す説明図である。
他の例の第1導光レンズにおけるカットオフ縁部と偏向部との構成を示す説明図である。
図7と同様のスクリーン上において、他の例の第1導光レンズを通した各第1すれ違い用光源からの光が形成する集光パターン部を示す説明図である。
【発明を実施するための形態】
【0009】
以下に、本開示に係る車両用灯具の実施例について図面を参照しつつ説明する。なお、図5、図6では、光が進行する様子の把握を容易とするために断面を示すハッチを省略して示している。また、図9では、走行用配光パターンHPの把握を容易とするために、走行用配光パターンHPに色を付けて示している。
【実施例】
【0010】
本開示に係る車両用灯具の一実施形態に係る実施例1の車両用灯具10を、図1から図9を用いて説明する。実施例1の車両用灯具10は、自動車等の車両の前照灯装置として用いられる。この車両用灯具10は、車両の前部の左右両側において、開放された前端がアウターレンズで覆われたランプハウジングにより形成される灯室に設けられる。車両用灯具10は、上下方向用光軸調整機構や左右方向用光軸調整機構を介して灯室に設けられ、車両の前方を適宜照射する。以下の説明では、車両用灯具10において、車両が進行する方向を前後方向(図面ではZとする)とし、前後方向を水平面に沿う状態とした際の鉛直方向を上下方向(図面ではYとする)とし、前後方向および上下方向に直交する方向(水平方向)を幅方向(図面ではXとする)とする。その各方向では、車両内の乗員から見た、前後方向の前方と後方、上下方向の上方と下方、幅方向の左側と右側、を用いるものとする。ここで、実施例1の車両用灯具10は、車両の左側に設けられるものと右側に設けられるものとで基本的に等しい構成とされつつ幅方向で反転されたものであるので、以下では、右側に設けられる車両用灯具10を用いて説明する。
(【0011】以降は省略されています)
この特許をJ-PlatPat(特許庁公式サイト)で参照する
関連特許
市光工業株式会社
表示装置
1か月前
市光工業株式会社
車両用灯具
7日前
市光工業株式会社
車両用灯具
9日前
市光工業株式会社
車両用灯具
9日前
市光工業株式会社
車両用灯具
14日前
市光工業株式会社
車両用灯具
1か月前
市光工業株式会社
車両用灯具
1か月前
市光工業株式会社
車両用灯具
2か月前
市光工業株式会社
車両用画像表示装置
1か月前
市光工業株式会社
車両用灯具
28日前
市光工業株式会社
車両用発光ユニットの基板、車両用発光ユニット、車両用灯具
1か月前
個人
室外機器
5か月前
個人
照明装置
14日前
個人
照明システム
4か月前
個人
気泡を用いた遊具。
7か月前
個人
消火器設置表示装置
25日前
個人
車載機器の通気構造
2か月前
株式会社遠藤照明
照明装置
2か月前
株式会社遠藤照明
照明器具
6か月前
株式会社小糸製作所
車両用灯具
1か月前
株式会社小糸製作所
車両用灯具
1か月前
能美防災株式会社
表示灯
2か月前
個人
LEDライト
4か月前
デンカ株式会社
照明装置
5か月前
デンカ株式会社
道路用照明
5か月前
株式会社小糸製作所
投光装置
2か月前
株式会社小糸製作所
誘導装置
1か月前
株式会社小糸製作所
投光装置
2か月前
スタンレー電気株式会社
照射用光源
1か月前
フルトラム株式会社
光学機器
1か月前
アクア株式会社
冷蔵庫
3か月前
株式会社小糸製作所
車両用灯具
29日前
株式会社小糸製作所
車両用灯具
28日前
株式会社小糸製作所
描画用灯具
7か月前
株式会社小糸製作所
車両用灯具
1か月前
株式会社小糸製作所
車両用灯具
7か月前
続きを見る
他の特許を見る