TOP
|
特許
|
意匠
|
商標
特許ウォッチ
Twitter
他の特許を見る
10個以上の画像は省略されています。
公開番号
2025152336
公報種別
公開特許公報(A)
公開日
2025-10-09
出願番号
2024054176
出願日
2024-03-28
発明の名称
表示装置
出願人
市光工業株式会社
代理人
弁護士法人クレオ国際法律特許事務所
主分類
G08G
1/16 20060101AFI20251002BHJP(信号)
要約
【課題】交通参加者の視線を本報知情報へ誘導することができる表示装置を提供する。
【解決手段】表示装置は、車両制御部31と、HMI制御部32と、を備える。車両制御部31は、自車1が進行する方向に交通参加者が存在するか否かを認識する。HMI制御部32は、車両制御部31から交通参加者が存在するとの認識結果が入力されたとき、表示部14を用いて自車1から交通参加者へ報知情報を報知する。報知情報は、自車1の動作に関する本報知情報と、本報知情報よりも前に報知する事前報知情報と、である。更に、HMI制御部32は、事前報知情報と本報知情報とを切り替える。
【選択図】図5
特許請求の範囲
【請求項1】
自車が進行する方向に交通参加者が存在するか否かを認識する認識部と
前記認識部から前記交通参加者が存在するとの認識結果が入力されたとき、表示部を用いて前記自車から前記交通参加者へ報知情報を報知する報知制御部と、を備え、
前記報知情報は、前記自車の動作に関する本報知情報と、前記本報知情報よりも前に報知する事前報知情報と、であり、
前記報知制御部は、前記事前報知情報と前記本報知情報とを切り替える
ことを特徴とする表示装置。
続きを表示(約 940 文字)
【請求項2】
請求項1に記載された表示装置において、
前記報知制御部は、前記認識部から前記自車が走行中に前記自車が進行する方向に前記交通参加者が存在するとの認識結果が入力されたとき、少なくとも前記自車の停止前に、前記表示部を用いて前記自車から前記交通参加者へ前記事前報知情報を報知する
ことを特徴とする表示装置。
【請求項3】
請求項1に記載された表示装置において、
前記事前報知情報は、前記表示部の発光及び/又はスピーカから音を発することにより、前記自車から前記交通参加者へ報知される
ことを特徴とする表示装置。
【請求項4】
請求項1に記載された表示装置において、
前記報知制御部は、前記本報知情報の少なくとも一秒前に、前記表示部を用いて前記自車から前記交通参加者へ前記事前報知情報を報知する
ことを特徴とする表示装置。
【請求項5】
請求項1から4までのいずれか一項に記載された表示装置において、
前記自車は、前記自車の前方を照射する灯具と、前記自車の上下方向にて前記灯具の上方位置に配置されたフロントウィンドと、を有し、
前記表示部は、前記自車の上下方向にて前記灯具と前記フロントウィンドとの間の位置に配置された
ことを特徴とする表示装置。
【請求項6】
請求項1から4までのいずれか一項に記載された表示装置において、
前記自車は、フロントウィンドと、前記フロントウィンドの前面を拭うワイパーと、を有し、
前記表示部は、前記自車の前後方向にて前記フロントウィンドの前面よりも後側に配置され、
前記表示部の前面は、前記自車の前後方向にて前記フロントウィンドの前面側を向いている
ことを特徴とする表示装置。
【請求項7】
請求項1から4までのいずれか一項に記載された表示装置において、
前記自車は、フロントウィンドと、前記フロントウィンドの前面を拭うワイパーと、を有し、
前記表示部の前面は、前記フロントウィンドの前面と面一である
ことを特徴とする表示装置。
発明の詳細な説明
【技術分野】
【0001】
本開示は、表示装置に関する。
続きを表示(約 2,000 文字)
【背景技術】
【0002】
従来、抽出された特定交通参加者を提示対象として、情報提示部により自車両(自車)の行動計画に係る情報の提示が行われる情報提示装置が知られている(例えば、特許文献1参照)。更に、この従来の情報提示装置では、特定交通参加者のうち自車両に対する干渉度が一等高いと想定される一等特定交通参加者に、情報提示部により視線が送られる。一等特定交通参加者が視線送りに気づいていると判断される場合、情報提示部により一等特定交通参加者宛てに相互にコミュニケーションが成立した旨のメッセージが返される。「交通参加者」とは、自車両の周囲の自動車等の運転手及び乗員等と歩行者等である。
【先行技術文献】
【特許文献】
【0003】
特開2021-092979号公報
【発明の概要】
【発明が解決しようとする課題】
【0004】
しかしながら、上記の従来の情報提示装置では、自車両から交通参加者へ情報を提示したり視線を送ったりするだけとなるため、交通参加者の視線を情報へ誘導することについて検討の余地がある、という問題がある。
【0005】
本開示は、上記の事情に鑑みてなされたもので、交通参加者の視線を本報知情報へ誘導することができる表示装置を提供することを目的とする。
【課題を解決するための手段】
【0006】
本開示の表示装置は、認識部と、報知制御部と、を備える。認識部は、自車が進行する方向に交通参加者が存在するか否かを認識する。報知制御部は、前記認識部から前記交通参加者が存在するとの認識結果が入力されたとき、表示部を用いて前記自車から前記交通参加者へ報知情報を報知する。前記報知情報は、前記自車の動作に関する本報知情報と、本報知情報よりも前に報知する事前報知情報と、である。更に、前記報知制御部は、前記事前報知情報と前記本報知情報とを切り替えることを特徴とする。
【発明の効果】
【0007】
本開示の車両用灯具によれば、交通参加者の視線を本報知情報へ誘導することができる。
【図面の簡単な説明】
【0008】
本開示に係る一実施例としての表示装置が適用された自動運転車両を示す説明図である。
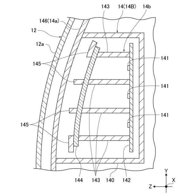
第2表示部の模式的に示す部分断面図であって、図1のA-A部の縦断面である。
表示部を示す説明図であって、本報知情報の表示(停止中)を示す説明図である。
表示部を示す説明図であって、本報知情報の表示(走行中又は発進時)を示す説明図である。
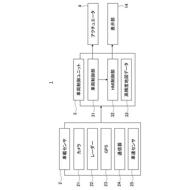
本開示に係る一実施例としての制御ブロック構成を示す説明図である。
本開示に係る一実施例としての車両制御ユニットの処理の流れを示すフローチャートである。
所定範囲に、横断歩道があると共に横断歩道を横断しようとする歩行者が存在することを示す説明図である。
所定範囲に、横断歩道があると共に横断歩道を横断している歩行者が存在することを示す説明図である。
所定範囲に、横断歩道がない場所を横断している歩行者が存在することを示す説明図である。
自車が左折中であって、所定範囲に、横断歩道があると共に横断歩道を横断している歩行者が存在することを示す説明図である。
自車が左折中であって、所定範囲に他車が存在することを示す説明図である。
図2の表示部の構成に別の発光色の光源を追加した状態を示す説明図である。
図2の表示部の構成にインナーレンズを追加した状態を示す説明図である。
表示部の前面がフロントウィンドの前面と面一であることを示す説明図である。
表示部の前面がフロントウィンドであることを示す説明図である。
【発明を実施するための形態】
【0009】
以下、本開示に係る表示装置の一例として実施例1の図面を参照しつつ説明する。以下の説明では、自車1(車両)において、自車1が進行する方向を前後方向Zとし、前後方向Zを水平面に沿う状態とした際の鉛直方向を上下方向Yとし、前後方向Z及び上下方向Yに直交する方向(水平方向)を幅方向Xとする。前後方向Zでは、後述のアウターレンズ146が設けられる側を前側とする。
【実施例】
【0010】
実施例1における表示装置は、自動運転車両(以下「自車1」とも記載する。)に適用されたものである。自動運転車両は、目的地の入力によりまず目標走行経路が生成される。次に、生成された目標走行経路に沿って走行するように速度及び舵角によって自車1が制御される。以下、実施例1の構成を、「全体構成」、「制御ブロック構成」、「車両制御ユニット3の処理構成」に分けて説明する。
(【0011】以降は省略されています)
この特許をJ-PlatPat(特許庁公式サイト)で参照する
関連特許
市光工業株式会社
表示装置
1か月前
市光工業株式会社
車両用灯具
6日前
市光工業株式会社
車両用灯具
8日前
市光工業株式会社
車両用灯具
8日前
市光工業株式会社
車両用灯具
13日前
市光工業株式会社
車両用灯具
1か月前
市光工業株式会社
車両用灯具
1か月前
市光工業株式会社
車両用灯具
2か月前
市光工業株式会社
車両用画像表示装置
1か月前
市光工業株式会社
車両用灯具
27日前
市光工業株式会社
車両用発光ユニットの基板、車両用発光ユニット、車両用灯具
1か月前
個人
安全支援装置
15日前
日本精機株式会社
警報システム
2か月前
株式会社SUBARU
車両
1か月前
個人
自動電動車椅子
2か月前
スズキ株式会社
運転支援装置
2か月前
エムケー精工株式会社
車両誘導装置
2か月前
日本無線株式会社
船舶システム
16日前
ニッタン株式会社
検知器
2か月前
ニッタン株式会社
検知器
2か月前
ニッタン株式会社
検知器
2か月前
個人
磁気路上での車両の路線離脱防御
1か月前
株式会社国際電気
防災システム
2か月前
ニッタン株式会社
検知器
1か月前
トヨタ自動車株式会社
サーバ
1か月前
株式会社小糸製作所
移動体検出装置
2か月前
大阪瓦斯株式会社
音声出力システム
1か月前
トヨタ自動車株式会社
サーバ
24日前
株式会社SUBARU
運転支援装置
1か月前
ダイハツ工業株式会社
移動支援装置
1か月前
日本信号株式会社
異常走行検出装置
1か月前
株式会社デンソー
運航管理装置
1か月前
日本精機株式会社
報知装置及び報知システム
2か月前
株式会社小糸製作所
車両検出システム
2か月前
株式会社CCT
通信装置及び表示方法
1か月前
三菱自動車工業株式会社
制御システム
1か月前
続きを見る
他の特許を見る