TOP
|
特許
|
意匠
|
商標
特許ウォッチ
Twitter
他の特許を見る
公開番号
2025136397
公報種別
公開特許公報(A)
公開日
2025-09-19
出願番号
2024034941
出願日
2024-03-07
発明の名称
レーダー反射システム、及び計測方法
出願人
国際航業株式会社
代理人
弁理士法人 武政国際特許商標事務所
主分類
G01S
7/40 20060101AFI20250911BHJP(測定;試験)
要約
【課題】本願発明の課題は、従来の問題を解決することであり、すなわち人や車などが往来するような場所であっても、他者の障壁とならないように合成開口レーダー用のリフレクタを設置することができるレーダー反射システムと、これを用いた計測方法を提供することである。
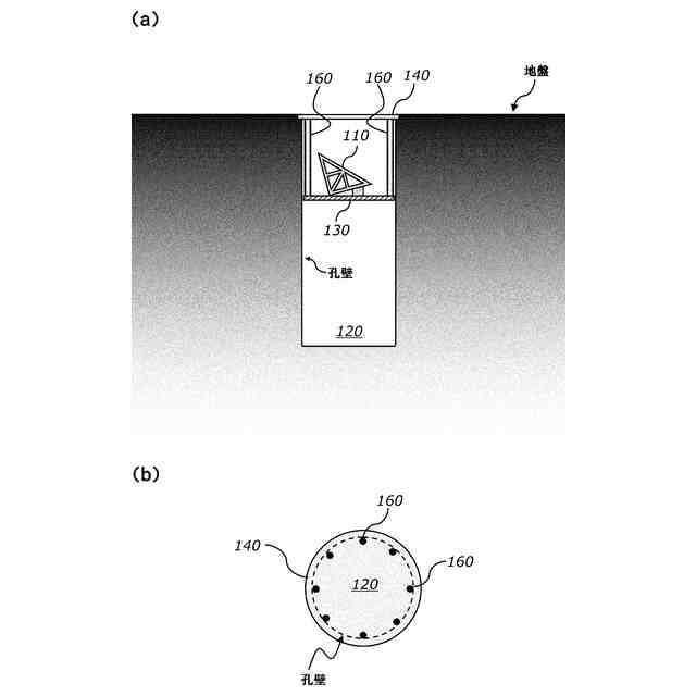
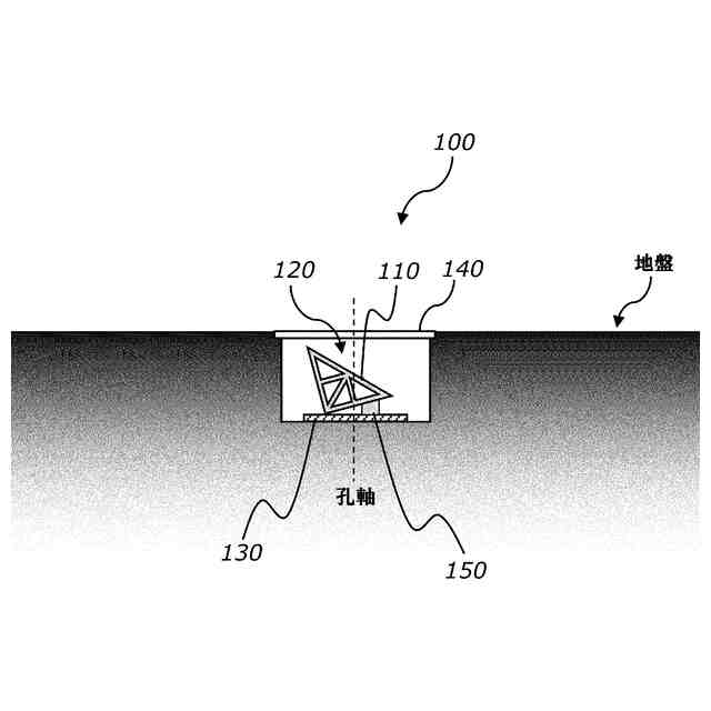
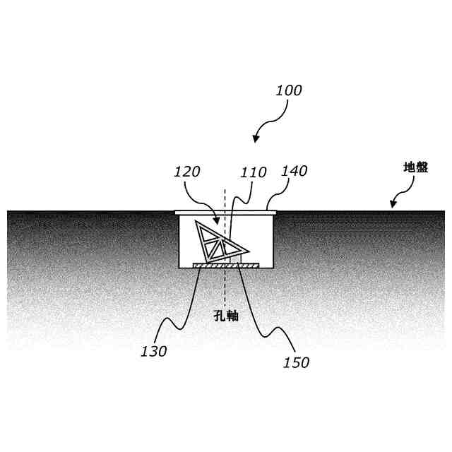
【解決手段】本願発明のレーダー反射システムは、孔軸が略鉛直(鉛直を含む)である地中孔と、合成開口レーダーを反射するリフレクタと、を備えたものである。なおリフレクタは、地中孔の中に設置される。このように本願発明は、地中孔を利用し、すなわち地盤面よりも低い位置にリフレクタを設置する、という点に着目したものであり、従来にはなかった発想に基づいてなされた発明である。
【選択図】図1
特許請求の範囲
【請求項1】
孔軸が鉛直又は略鉛直である地中孔と、
前記地中孔の中に設置され、合成開口レーダーを反射するリフレクタと、を備えた、
ことを特徴とするレーダー反射システム。
続きを表示(約 970 文字)
【請求項2】
前記リフレクタを載置する底板を、さらに備え、
前記底板は、前記リフレクタを載置した状態で、鉛直又は略鉛直な軸周りに回転する、
ことを特徴とする請求項1記載のレーダー反射システム。
【請求項3】
前記リフレクタを載置する底板と、
前記底板に取り付けられる支持材と、
前記支持材の上端に取り付けられる係止体と、をさらに備え、
前記係止体を前記地中孔の開口部の縁部に係止すると、前記支持材を介して前記底板が懸垂された状態となる、
ことを特徴とする請求項1記載のレーダー反射システム。
【請求項4】
前記リフレクタを載置する底板と、
前記底板に取り付けられる支持材と、
前記合成開口レーダーを透過する蓋体と、をさらに備え、
前記支持材の上端に前記蓋体が取り付けられ、
前記蓋体を前記地中孔の開口部に設置すると、前記支持材を介して前記底板が懸垂された状態となる、
ことを特徴とする請求項1記載のレーダー反射システム。
【請求項5】
前記合成開口レーダーを反射する独立反射板を、さらに備え、
前記独立反射板が、前記地中孔の内周面に設置された、
ことを特徴とする請求項1記載のレーダー反射システム。
【請求項6】
前記リフレクタが、前記地中孔の内周面に設置された板状である、
ことを特徴とする請求項1記載のレーダー反射システム。
【請求項7】
孔軸が鉛直又は略鉛直である地中孔に、合成開口レーダーを反射するリフレクタを設置するリフレクタ設置工程を、備え、
前記リフレクタを利用して、前記合成開口レーダーによる計測を行う、
ことを特徴とする計測方法。
【請求項8】
前記地中孔における前記合成開口レーダーの入射角度と、該地中孔の形状及び寸法と、に基づいて、前記リフレクタが具備する反射面の大きさを算出する諸元算出工程を、さらに備え、
前記リフレクタ設置工程では、前記諸元算出工程で算出された大きさの前記反射面を具備する前記リフレクタを設置する、
ことを特徴とする請求項7記載の計測方法。
発明の詳細な説明
【技術分野】
【0001】
本願発明は、合成開口レーダーによる計測に関する技術であり、より具体的には、地中孔の中にリフレクタを設置したレーダー反射システムと、これを用いて計測する方法に関するものである。
続きを表示(約 1,700 文字)
【背景技術】
【0002】
我が国は地震が頻発する国として知られ、近年では令和6年能登半島地震をはじめ、東北地方太平洋沖地震や、兵庫県南部地震など大きな地震が発生し、そのたびに甚大な被害を被ってきた。また、地球温暖化に伴い、従来では見られなかったゲリラ豪雨や台風など、大規模な風水害も多発している。
【0003】
地震や台風等によって広範囲の建物被害を受けると、その全容を把握すべく上空からの調査が行われる。例えば、航空機で上空を飛行しながら撮影(いわゆる空撮)を行い、その画像を用いて被害状況を確認することがある。広範囲を対象として調査を行う技術としては、航空写真を利用する手法のほか、合成開口レーダー(SAR:Synthetic Aperture Radar)を利用した手法が知られている。例えば、2時期のSARの計測結果を比較する差分干渉合成開口レーダーで解析することによって、数センチオーダーの変位量を広範囲で得ることができる。2014年5月には陸域観測技術衛星2号「だいち2号」(ALOS-2)が打ち上げられ、また民間の超小型SAR衛星の開発と打ち上げも進められており、さらなるSARの活用が推進されているところである。
【0004】
合成開口レーダーによって行われる計測(以下、単に「合成開口レーダー計測」という。)は、衛星から照射したマイクロ波が地上で反射し、その反射波の信号強度や位相などから地物の位置や変位を把握する手法である。そして合成開口レーダー計測では、合成開口レーダー(つまり、マイクロ波)を強く反射するリフレクタが利用されることもある。リフレクタでの反射波は周囲よりも非常に強く、他の地物における反射波と区別することができるため、例えば座標が既知である基準点などにリフレクタ(コーナーリフレクタと称されることもある。)を設置するわけである。
【0005】
通常、リフレクタは一旦設置されると長期に亘って移動されることはなく、またリフレクタに含まれる反射板(例えば金属板)の傾きが変更されることもない。そのためリフレクタを設置するときは、他者の障壁にならない場所を選定したり、反射板が常に適切な傾きとなるように配置したりするなど、相当の配慮が必要であった。そこで、合成開口レーダー用のリフレクタに関する種々の技術がこれまでにも提案されている。例えば特許文献1では、地上に固定され、様々な方向から衛星の電波を反射することを目的とした「基準点用リフレクタ」について提案している。
【先行技術文献】
【特許文献】
【0006】
特開第2019-220905号公報
【発明の概要】
【発明が解決しようとする課題】
【0007】
上記したとおり、通常はリフレクタが長期に亘って移動されないことから、当然ながら他者の障壁にならない場所に設置される。他方、計測しようとする対象物によっては、道路上や公園など多くの人が供用するような場所にリフレクタを設置したいこともある。しかしながら、特許文献1の基準点用リフレクタをはじめ従来のリフレクタは、地上に置かれることから道路上などに設置することはできなかった。
【0008】
本願発明の課題は、従来の問題を解決することであり、すなわち人や車などが往来するような場所であっても、他者の障壁とならないように合成開口レーダー用のリフレクタを設置することができるレーダー反射システムと、これを用いた計測方法を提供することである。
【課題を解決するための手段】
【0009】
本願発明は、地中孔を利用し、すなわち地盤面よりも低い位置にリフレクタを設置する、という点に着目したものであり、従来にはなかった発想に基づいてなされた発明である。
【0010】
本願発明のレーダー反射システムは、孔軸が略鉛直(鉛直を含む)である地中孔と、合成開口レーダーを反射するリフレクタと、を備えたものである。なおリフレクタは、地中孔の中に設置される。
(【0011】以降は省略されています)
この特許をJ-PlatPat(特許庁公式サイト)で参照する
関連特許
国際航業株式会社
道路縁データ作成支援システム
1か月前
日本精機株式会社
検出装置
13日前
個人
採尿及び採便具
19日前
個人
高精度同時多点測定装置
1か月前
個人
アクセサリー型テスター
1か月前
個人
計量機能付き容器
8日前
株式会社ミツトヨ
測定器
25日前
甲神電機株式会社
電流検出装置
13日前
アズビル株式会社
電磁流量計
28日前
大成建設株式会社
風洞実験装置
8日前
トヨタ自動車株式会社
監視装置
1か月前
ダイキン工業株式会社
監視装置
1か月前
大和製衡株式会社
組合せ計量装置
22日前
日本特殊陶業株式会社
ガスセンサ
6日前
愛知電機株式会社
軸部材の外観検査装置
22日前
大和製衡株式会社
組合せ計量装置
22日前
個人
システム、装置及び実験方法
28日前
個人
計量具及び計量機能付き容器
8日前
双庸電子株式会社
誤配線検査装置
14日前
愛知時計電機株式会社
ガスメータ
25日前
長崎県
形状計測方法
1か月前
ローム株式会社
半導体装置
1か月前
日本信号株式会社
距離画像センサ
11日前
TDK株式会社
磁気センサ
1か月前
個人
非接触による電磁パルスの測定方法
11日前
ローム株式会社
半導体装置
1か月前
日本特殊陶業株式会社
センサ
1か月前
個人
液位検視及び品質監視システム
6日前
中国電力株式会社
電柱管理システム
1か月前
トヨタ自動車株式会社
測定システム
1か月前
日本特殊陶業株式会社
センサ
1か月前
日本特殊陶業株式会社
センサ
1か月前
日東精工株式会社
振動波形検査装置
14日前
日本特殊陶業株式会社
センサ
1か月前
日本特殊陶業株式会社
センサ
25日前
ダイハツ工業株式会社
移動支援装置
1か月前
続きを見る
他の特許を見る