TOP
|
特許
|
意匠
|
商標
特許ウォッチ
Twitter
他の特許を見る
公開番号
2025149047
公報種別
公開特許公報(A)
公開日
2025-10-08
出願番号
2024049481
出願日
2024-03-26
発明の名称
道路縁データ作成支援システム
出願人
国際航業株式会社
代理人
弁理士法人 武政国際特許商標事務所
主分類
G06T
7/60 20170101AFI20251001BHJP(計算;計数)
要約
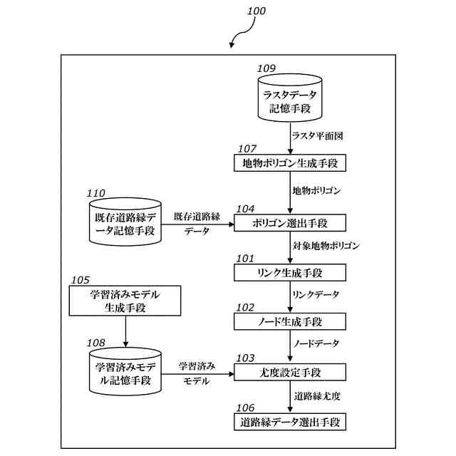
【課題】本願発明の課題は、従来の問題を解決することであり、すなわち従来技術に比して高精度の道路縁データの生成を支援することができる道路縁データ作成支援システムを提供することである。
【解決手段】本願発明の道路縁データ作成支援システムは、ラスタデータの平面図から生成されたベクタデータの「地物ポリゴン」に基づいて「道路縁データ」の作成を支援するシステムであって、リンク生成手段とノード生成手段、尤度設定手段を備えたものである。尤度設定手段は、ノードデータが学習済みモデルに入力されると、そのノードデータに道路縁尤度(道路縁を構成する確からしさを示す値)を設定する手段である。道路縁尤度に応じてリンクデータを選別しながら、道路縁データを作成することができる。
【選択図】図1
特許請求の範囲
【請求項1】
ラスタデータの平面図から生成されたベクタデータの地物ポリゴンに基づいて、道路縁データの作成を支援するシステムであって、
前記地物ポリゴンから、該地物ポリゴンの中心線であるリンクデータを生成するリンク生成手段と、
前記リンクデータを構成するノードデータを生成するノード生成手段と、
前記ノードデータが学習済みモデルに入力されると、該ノードデータに道路縁尤度を設定する尤度設定手段と、を備え、
前記リンクデータは1又は2以上の構成線分からなり、
前記ノードデータは、前記構成線分の端部と接続部で生成され、
前記学習済みモデルは、情報タグとしての「道路特徴量」と「道路構成の有無」が付された前記ノードデータを機械学習することによって生成され、
前記道路縁尤度は、道路縁を構成する確からしさを示す値であり、
前記道路縁尤度に応じて前記ノードデータを含む前記リンクデータを選別しながら、前記道路縁データを作成することができる、
ことを特徴とする道路縁データ作成支援システム。
続きを表示(約 1,000 文字)
【請求項2】
前記ノードデータには、前記リンクデータの端点に位置する端部ノードデータと、前記構成線分の接続点に位置する中間ノードデータと、が含まれ、
前記ノードデータの前記道路特徴量には、前記ノードデータを含む前記リンクデータの長さ、前記ノードデータと他の前記リンクデータとの最短距離、前記ノードデータを含む前記リンクデータに含まれる前記ノードデータの総数、前記中間ノードデータにおける挟角、及び前記端部ノードデータと前記中間ノードデータの種別が含まれる、
ことを特徴とする請求項1記載の道路縁データ作成支援システム。
【請求項3】
前記地物ポリゴンの中から、前記リンクデータの生成対象とする対象地物ポリゴンを選出するポリゴン選出手段を、さらに備え、
前記ポリゴン選出手段は、前記地物ポリゴンの長さを算出するとともに、該地物ポリゴンの長さがあらかじめ定めたポリゴン長閾値を下回ることを条件として前記対象地物ポリゴンを選出し、
前記リンク生成手段は、前記対象地物ポリゴンに対して前記リンクデータを生成する、
ことを特徴とする請求項1記載の道路縁データ作成支援システム。
【請求項4】
前記ポリゴン選出手段は、前記地物ポリゴンとあらかじめ用意された道路縁のデジタルデータである既存道路縁データを照らし合わせ、該地物ポリゴンと該既存道路縁データとの最短距離があらかじめ定めた離間閾値を下回ることを条件として前記対象地物ポリゴンを選出する、
ことを特徴とする請求項3記載の道路縁データ作成支援システム。
【請求項5】
前記ノードデータの前記道路特徴量には、前記ノードデータと前記既存道路縁データとの最短距離、及び前記ノードデータに係る前記構成線分と前記既存道路縁データとの最短距離が含まれる、
ことを特徴とする請求項4記載の道路縁データ作成支援システム。
【請求項6】
情報タグとしての前記道路特徴量が付された前記ノードデータを機械学習することによって、前記学習済みモデルを生成する学習済みモデル生成手段を、さらに備えた、
ことを特徴とする請求項1記載の道路縁データ作成支援システム。
【請求項7】
前記リンクデータに含まれる2以上の前記ノードデータに係る前記道路縁尤度に応じて、該リンクデータを前記道路縁データとして選出する道路縁データ選出手段を、さらに備えた、
ことを特徴とする請求項1記載の道路縁データ作成支援システム。
発明の詳細な説明
【技術分野】
【0001】
本願発明は、ラスタデータの平面図から道路縁に関する情報を取得する技術であり、より具体的には、機械学習によって生成された学習済みモデルを利用し、ラスタデータに基づいて生成されたノードデータに対して道路を構成する確からしさを与えることができる道路縁データ作成支援システムに関するものである。
続きを表示(約 1,900 文字)
【背景技術】
【0002】
近時、地形情報(空間情報)の需要が高まっており、地上に設置された施設等をより高度に管理し、より有効に活用することを目的として、その形状や設置位置といった施設等の空間情報を要望する者が増加している。同時に、現在官民一体となって推進しているSociety5.0の実現にとっても、社会インフラストラクチャーの高度な維持管理は重要な課題と位置付けられている。さらに、自動運転技術の実用化が進むなか、道路縁(道路境界線)をはじめとする道路に関する種々の空間情報が多方面から切望されているところである。
【0003】
従来、道路縁のデジタルデータ(以下、単に「道路縁データ」という。)を作成するにああっては、道路や地形図、土地外形などを紙面に表した地図(以下、単に「紙地図」という。)を参考にしていた。具体的には、スキャニング等によってこの紙地図をラスタ形式のデータ(以下、「ラスタ平面図」という。)に変換し、オペレータがディスプレイ等に表示されたラスタ平面図をトレースしながら道路縁データを作成していた。そのため、オペレータはその作成業務に多大な時間と労力を強いられるという問題や、作成された道路縁データの品質がオペレータのスキルに依存するといった問題が指摘されていた。
【0004】
一方、ラスタデータをベクタデータに変換する技術が利用されることもある。すなわち、ラスタ平面図から道路縁と認識される図形を抽出したうえで、その図形をベクタデータに変換することによって道路縁データを生成するわけである。しかしながら、画像処理技術などを利用してラスタ平面図から自動的に道路縁を抽出したとしても、漏れや過剰などを完全に排除することはできず、故にオペレータの目視による修正処理が必要とされ、結果的には上記した問題を大きく改善するには至っていない。
【0005】
そこで、ラスタ平面図から抽出された道路縁に対して何らかの処理を加えることによって、その抽出精度を向上させる取り組みも行われている。例えば特許文献1では、ラスタデータから抽出されたいわば候補としての道路データと、既存の道路データを照らし合わせることによって、最終的に道路データを決定する技術について提案している。
【先行技術文献】
【特許文献】
【0006】
特開2008-170611号公報
【発明の概要】
【発明が解決しようとする課題】
【0007】
特許文献1に開示される技術をはじめ、ラスタ平面図から道路縁とされる図形を抽出する従来技術は、生成されるデータがラインデータではなくポリゴンデータとされることがあった。その場合、ポリゴンデータから中心線のデータ(以下、「リンクデータ」という。)を生成することとなり、そのリンクデータに対して道路縁データとしての適否を判定することになる。なお、ポリゴンデータからリンクデータを自動生成することができる種々の従来技術(例えば、https://pygeoops.readthedocs.io/en/latest/api/pygeoops.centerline.html#pygeoops.centerlineなど)が知られている。
【0008】
ポリゴンデータから生成されたリンクデータに対して道路縁データとしての適否判定を行うには、リンクデータそのものの属性を評価することが考えられる。ところが、本願発明の発明者らは、リンクデータを構成する点のデータ(以下、「ノードデータ」という。)の属性が、道路縁データの適否に大きく影響していることを見出した。すなわち、ノードデータの属性に着目したうえで、そのノードデータを含むリンクデータを評価すると、道路縁データとしての適否をより高い精度で評価することができるわけである。
【0009】
本願発明の課題は、従来の問題を解決することであり、すなわち従来技術に比して高精度の道路縁データの生成を支援することができる道路縁データ作成支援システムを提供することである。
【課題を解決するための手段】
【0010】
本願発明は、リンクデータを構成するノードデータの特徴量に基づいて、「道路縁を構成するノードデータとしての確からしさ(以下、「道路縁尤度」という。)」を求め、その道路縁尤度に応じてリンクデータの道路縁データとしての適否を判定する、という点に着目したものであり、従来にはなかった発想に基づいてなされた発明である。
(【0011】以降は省略されています)
この特許をJ-PlatPat(特許庁公式サイト)で参照する
関連特許
国際航業株式会社
道路縁データ作成支援システム
6日前
他の特許を見る