TOP
|
特許
|
意匠
|
商標
特許ウォッチ
Twitter
他の特許を見る
公開番号
2025135859
公報種別
公開特許公報(A)
公開日
2025-09-19
出願番号
2024033874
出願日
2024-03-06
発明の名称
延伸フィルムの製造方法
出願人
日東電工株式会社
代理人
弁理士法人籾井特許事務所
主分類
B29C
55/16 20060101AFI20250911BHJP(プラスチックの加工;可塑状態の物質の加工一般)
要約
【課題】延伸工程において複数の第1クリップのピッチを十分に変化させ得、かつ、開放工程後において複数の第2クリップを円滑に移動させ得る延伸フィルムの製造方法を提供すること。
【解決手段】
本発明の1つの実施形態による延伸フィルムの製造方法は、把持工程と、延伸工程と、開放工程と、をこの順に含んでいる。把持工程では、フィルムの第1端部を複数の第1クリップで把持し、かつ、フィルムの第2端部を複数の第2クリップで把持する。延伸工程では、複数の第1クリップのピッチを複数の第2クリップのピッチよりも大きくさせながら、複数の第1クリップおよび複数の第2クリップを移動させて、フィルムを斜め方向に延伸する。開放工程では、フィルムを第1クリップおよび第2クリップから開放する。このような延伸フィルムの製造方法では、開放工程の後に、複数の第1クリップのピッチと複数の第2クリップのピッチとを調整する。
【選択図】図1
特許請求の範囲
【請求項1】
長尺状のフィルムの幅方向の第1端部を前記フィルムの長尺方向に並ぶ複数の第1クリップで把持し、かつ、前記フィルムの幅方向の第2端部を前記長尺方向に並ぶ複数の第2クリップで把持する把持工程と、
前記複数の第1クリップのピッチを前記複数の第2クリップのピッチよりも大きくさせながら、前記複数の第1クリップおよび前記複数の第2クリップを前記長尺方向に移動させて、前記フィルムを前記長尺方向および前記幅方向の両方と交差する斜め方向に延伸する延伸工程と、
前記フィルムの前記第1端部を前記複数の第1クリップから開放し、かつ、前記フィルムの前記第2端部を前記複数の第2クリップから開放する開放工程と、をこの順に含み、
前記開放工程の後に、前記複数の第1クリップのピッチと前記複数の第2クリップのピッチとを調整するピッチ調整工程をさらに含む、延伸フィルムの製造方法。
続きを表示(約 120 文字)
【請求項2】
前記開放工程において、前記複数の第1クリップは、前記長尺方向に移動しながら前記第1端部を開放し、前記複数の第2クリップは、前記長尺方向に移動しながら前記第2端部を開放する、請求項1に記載の延伸フィルムの製造方法。
発明の詳細な説明
【技術分野】
【0001】
本発明は、延伸フィルムの製造方法に関する。
続きを表示(約 2,700 文字)
【背景技術】
【0002】
液晶表示装置(LCD)、有機エレクトロルミネッセンス表示装置(OLED)などの画像表示装置において、表示特性の向上や反射防止を目的として円偏光板が用いられている。円偏光板は、代表的には、偏光子と位相差フィルム(代表的にはλ/4板)とが、偏光子の吸収軸と位相差フィルムの遅相軸とが45°の角度をなすようにして積層されている。従来、位相差フィルムは、代表的には、縦方向および/または横方向に一軸延伸または二軸延伸することにより作製されているので、その遅相軸は、多くの場合、長尺状のフィルム原反の横方向(幅方向)または縦方向(長尺方向)に発現する。結果として、円偏光板を作製するには、位相差フィルムを幅方向または長尺方向に対して45°の角度をなすように裁断し、1枚ずつ貼り合わせる必要がある。
【0003】
そのため、長尺方向に対して斜め方向に延びる遅相軸を有する位相差フィルムの製造が望まれている。このような位相差フィルムの製造方法として、例えば、長尺状のフィルムの幅方向の左右端部のそれぞれを縦方向のクリップピッチが変化する可変ピッチ型の左右のクリップによって把持し、左右のクリップの一方を進行側、他方を遅行側として、進行側のクリップピッチを遅行側のクリップピッチよりも大きくなるように変化させて、長尺方向に対して斜め方向に延伸(以下、「斜め延伸」とも称する)する、シート・フィルムの斜め延伸方法が提案されている(例えば、特許文献1参照)。
【先行技術文献】
【特許文献】
【0004】
特許第4845619号公報
【発明の概要】
【発明が解決しようとする課題】
【0005】
しかし、特許文献1に記載のシート・フィルムの斜め延伸方法では、遅行側のクリップがフィルムを介して進行側のクリップに引っ張られ、遅行側のクリップのピッチが所望のピッチよりも狭くなる場合がある。この場合、遅行側のクリップがフィルムを開放した後に、当該クリップの流れにつまりが生じて、クリップの円滑な移動が困難となるおそれがある。
本発明の主たる目的は、延伸工程において複数の第1クリップのピッチを十分に変化させ得、かつ、開放工程後において複数の第2クリップを円滑に移動させ得る延伸フィルムの製造方法を提供することにある。
【課題を解決するための手段】
【0006】
[1]本発明の1つの実施形態による延伸フィルムの製造方法は、把持工程と、延伸工程と、開放工程と、をこの順に含んでいる。該把持工程では、長尺状のフィルムの幅方向の第1端部を、該フィルムの長尺方向に並ぶ複数の第1クリップで把持し、かつ、該フィルムの幅方向の第2端部を該長尺方向に並ぶ複数の第2クリップで把持する。該延伸工程では、該複数の第1クリップのピッチを該複数の第2クリップのピッチよりも大きくさせながら、該複数の第1クリップおよび該複数の第2クリップを該長尺方向に移動させて、該フィルムを該長尺方向および該幅方向の両方と交差する斜め方向に延伸する。該開放工程では、該フィルムの該第1端部を該複数の第1クリップから開放し、かつ、該フィルムの該第2端部を該複数の第2クリップから開放する。このような延伸フィルムの製造方法は、ピッチ調整工程をさらに含んでいる。該ピッチ調整工程では、上記開放工程の後に、上記複数の第1クリップのピッチと上記複数の第2クリップのピッチとを調整する。
[2]上記[1]に記載の延伸フィルムの製造方法では、上記開放工程において、上記複数の第1クリップは、上記長尺方向に移動しながら上記第1端部を開放してもよい。また、上記開放工程において、上記複数の第2クリップは、上記長尺方向に移動しながら上記第2端部を開放してもよい。
【0007】
本発明の実施形態によれば、延伸工程において複数の第1クリップのピッチを十分に変化させ得、かつ、開放工程後において複数の第2クリップを円滑に移動させ得る。
【図面の簡単な説明】
【0008】
本発明の1つの実施形態による延伸フィルムの製造方法が実施可能な延伸装置の一例の概略構成図である。
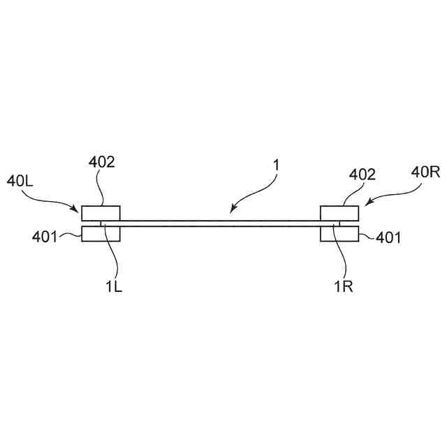
図1の延伸装置により実施される把持工程を説明するための概略平面図である。
図1の延伸装置により実施される把持工程を説明するための概略断面図である。
図1の延伸装置により実施される延伸工程におけるクリップピッチのプロファイルを示す概略図である。
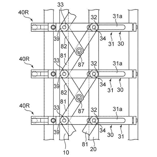
図1の延伸装置が備えるリンク機構を説明するための概略平面図である。
図5のリンク機構の動作を説明するための概略平面図である。
図1の延伸装置が備えるピッチコントロールホイールの概略平面図である。
【発明を実施するための形態】
【0009】
以下、本発明の実施形態について説明するが、本発明はこれらの実施形態には限定されない。なお、見やすくかつ理解を容易にするために、図面は模式的または概念的に描かれており、長さ、幅、形状、大きさ、比率、方向、個数等は実際と異なっている場合があり、図面間で対応していない場合がある。
【0010】
(用語および記号の定義)
本明細書における用語および記号の定義は下記の通りである。
(1)屈折率(nx、ny、nz)
「nx」は面内の屈折率が最大になる方向(すなわち、遅相軸方向)の屈折率であり、「ny」は面内で遅相軸と直交する方向(すなわち、進相軸方向)の屈折率であり、「nz」は厚み方向の屈折率である。
(2)面内複屈折(Δn)
「Δn(λ)」は、23℃における波長λnmの光で測定した面内複屈折である。例えば、「Δn(550)」は、23℃における波長550nmの光で測定した面内複屈折である。面内複屈折(Δn)は、式:Δn=nx-nyから求められる。
(3)実質的に平行または直交
「実質的に直交」および「略直交」という表現は、2つの方向のなす角度が90°±10°である場合を包含し、好ましくは90°±7°であり、さらに好ましくは90°±5°である。「実質的に平行」および「略平行」という表現は、2つの方向のなす角度が0°±10°である場合を包含し、好ましくは0°±7°であり、さらに好ましくは0°±5°である。さらに、本明細書において単に「直交」または「平行」というときは、実質的に直交または実質的に平行な状態を含み得るものとする。
(【0011】以降は省略されています)
この特許をJ-PlatPat(特許庁公式サイト)で参照する
関連特許
日東電工株式会社
積層体
27日前
日東電工株式会社
吸着材
1か月前
日東電工株式会社
照明装置
26日前
日東電工株式会社
発光装置
1か月前
日東電工株式会社
シート体
22日前
日東電工株式会社
電子装置
29日前
日東電工株式会社
光学積層体
今日
日東電工株式会社
粘着シート
26日前
日東電工株式会社
粘着シート
12日前
日東電工株式会社
光ファイバ
28日前
日東電工株式会社
粘着シート
26日前
日東電工株式会社
粘着シート
15日前
日東電工株式会社
スイッチ装置
1か月前
日東電工株式会社
スイッチ装置
26日前
日東電工株式会社
配線回路基板
19日前
日東電工株式会社
粘着剤組成物
28日前
日東電工株式会社
粘着剤組成物
28日前
日東電工株式会社
温度測定装置
28日前
日東電工株式会社
温度測定装置
28日前
日東電工株式会社
調光フィルム
27日前
日東電工株式会社
表面保護シート
22日前
日東電工株式会社
反射防止フィルム
1か月前
日東電工株式会社
反射防止フィルム
1か月前
日東電工株式会社
導光体、及び照明装置
26日前
日東電工株式会社
光学積層体の製造方法
1か月前
日東電工株式会社
光学積層体の製造方法
1か月前
日東電工株式会社
積層フィルムの製造方法
27日前
日東電工株式会社
分離機能層、及び分離膜
26日前
日東電工株式会社
分離機能層、及び分離膜
22日前
日東電工株式会社
レンズ及び内視鏡用部材
26日前
日東電工株式会社
配線回路基板の製造方法
26日前
日東電工株式会社
積層フィルムの製造方法
27日前
日東電工株式会社
高分子分散型液晶フィルム
26日前
日東電工株式会社
積層光学部材及び光学装置
26日前
日東電工株式会社
光半導体素子封止用シート
9日前
日東電工株式会社
ポリマー粒子およびその利用
22日前
続きを見る
他の特許を見る