TOP
|
特許
|
意匠
|
商標
特許ウォッチ
Twitter
他の特許を見る
公開番号
2025131462
公報種別
公開特許公報(A)
公開日
2025-09-09
出願番号
2024029236
出願日
2024-02-28
発明の名称
照明装置
出願人
株式会社小糸製作所
代理人
弁理士法人プロウィン
主分類
F21V
19/00 20060101AFI20250902BHJP(照明)
要約
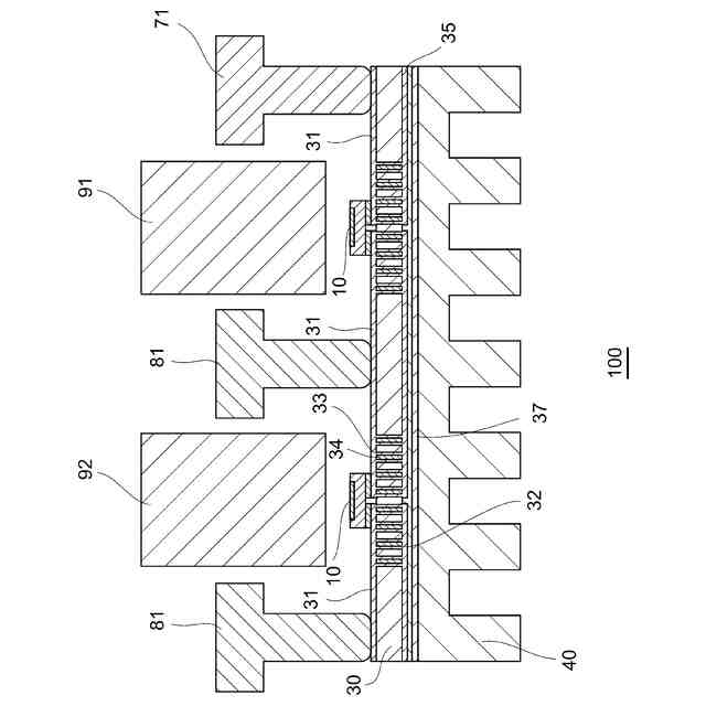
【課題】回路基板を薄型化しても反りを抑制して放熱性の向上を図ることが可能な照明装置を提供する。
【解決手段】第一面に発光素子(10)が搭載される回路基板(30)と、回路基板(30)の第二面に配置された放熱部材(40)と、回路基板(30)および放熱部材(40)の間に配置された熱伝導部材(37)とを有し、回路基板(30)は締結部材(50)を挿入する締結孔(36)が設けられており、第一面の面内において、締結孔(36)の中心と発光素子(10)の中心を結んだ線を仮想線とし、仮想線に垂直な線を仮想境界線とし、仮想境界線よりも締結孔(36)から遠い領域の一部を押圧領域とし、押圧領域内に当接する押圧部材(71)を少なくとも一つ有する照明装置(100)。
【選択図】図1
特許請求の範囲
【請求項1】
第一面に発光素子が搭載される回路基板と、
前記回路基板の第二面に配置された放熱部材と、
前記回路基板および前記放熱部材の間に配置された熱伝導部材と、を有し、
前記回路基板は、締結部材を挿入する締結孔が設けられており、
前記第一面の面内において、前記締結孔の中心と前記発光素子の中心を結んだ線を仮想線とし、前記仮想線に垂直な線を仮想境界線とし、前記仮想境界線よりも前記締結孔から遠い領域の一部を押圧領域とし、
前記押圧領域内に当接する押圧部材を少なくとも一つ有することを特徴とする照明装置。
続きを表示(約 540 文字)
【請求項2】
請求項1に記載の照明装置であって、
前記押圧領域は、前記発光素子の中心から50mm以内であることを特徴とする照明装置。
【請求項3】
請求項1に記載の照明装置であって、
前記回路基板は、前記第一面から前記第二面に貫通して形成されたスルーホール配線を有し、
前記発光素子は、平面視において前記スルーホール配線に重なる位置に搭載されていることを特徴とする照明装置。
【請求項4】
請求項3に記載の照明装置であって、
前記熱伝導部材は、平面視において前記スルーホール配線に重なる位置に配置されていることを特徴とする照明装置。
【請求項5】
請求項1に記載の照明装置であって、
前記押圧領域および前記押圧部材の組み合わせが複数設けられていることを特徴とする照明装置。
【請求項6】
請求項1から5の何れか一つに記載の照明装置であって、
前記回路基板が装着されるハウジング部と、
前記発光素子からの配光パターンを調整する配光調整部を備え、
前記押圧部材は、前記ハウジング部または前記配光調整部に一体に形成されていることを特徴とする照明装置。
発明の詳細な説明
【技術分野】
【0001】
本発明は、照明装置に関し、特に発光素子を回路基板に搭載した照明装置に関する。
続きを表示(約 1,400 文字)
【背景技術】
【0002】
近年、車両用灯具の光源として発光ダイオード(LED:Light Emitting Diode)を用いるものが普及してきている。また、車両用灯具に用いられる照明装置として、複数のLEDを回路基板上に複数配列して、所望の輝度と配光パターンで光を照射することも提案されている(特許文献1等を参照)。
【0003】
一般的に、LEDは発光に伴う発熱で温度が上昇し、発光波長が変化することや発光効率が低下することが知られている。よって大光量を照射する前照灯などでは、LEDで生じた熱を良好に外部に放熱し、温度上昇を抑制することが重要である。また、絶縁性材料で構成された回路基板にスルーホール配線と放熱用配線を形成し、LEDからの熱を良好に裏面側の放熱用配線に伝達し、放熱用配線に接触させた放熱部材から放熱することも提案されている。
【先行技術文献】
【特許文献】
【0004】
特開2018-073762号公報
【発明の概要】
【発明が解決しようとする課題】
【0005】
このような従来技術の照明装置では、放熱部材と回路基板の間に熱伝導部材を接触させて、発光素子からの放熱性を向上させている。しかし、放熱性をさらに向上させるために回路基板の薄型化を図ると回路基板の剛性が低下し、放熱部材と回路基板の間に挟まれた熱伝導部材が十分に拡がらず、回路基板に反りが生じて放熱性が妨げられるという問題があった。
【0006】
そこで本発明は、上記従来の問題点に鑑みなされたものであり、回路基板を薄型化しても反りを抑制して放熱性の向上を図ることが可能な照明装置を提供することを目的とする。
【課題を解決するための手段】
【0007】
上記課題を解決するために、本発明の照明装置は、第一面に発光素子が搭載される回路基板と、前記回路基板の第二面に配置された放熱部材と、前記回路基板および前記放熱部材の間に配置された熱伝導部材と、を有し、前記回路基板は、締結部材を挿入する締結孔が設けられており、前記第一面の面内において、前記締結孔の中心と前記発光素子の中心を結んだ線を仮想線とし、前記仮想線に垂直な線を仮想境界線とし、前記仮想境界線よりも前記締結孔から遠い領域の一部を押圧領域とし、前記押圧領域内に当接する押圧部材を少なくとも一つ有することを特徴とする。
【0008】
このような本発明の照明装置では、締結孔より遠い位置に設けられた押圧領域において、押圧部材が回路基板の第一面に当接することで、締結孔と押圧部材によって発光素子の両側で回路基板に放熱部材の方向への力を加えることができる。これにより、回路基板を薄型化しても反りを抑制して放熱性の向上を図ることが可能となる。
【0009】
また、本発明の一態様では、前記押圧領域は、前記発光素子の中心から50mm以内である。
【0010】
また、本発明の一態様では、前記回路基板は、前記第一面から前記第二面に貫通して形成されたスルーホール配線を有し、前記発光素子は、平面視において前記スルーホール配線に重なる位置に搭載されている。
(【0011】以降は省略されています)
この特許をJ-PlatPat(特許庁公式サイト)で参照する
関連特許
株式会社小糸製作所
車両用灯具
今日
株式会社小糸製作所
水分解装置
3日前
株式会社小糸製作所
投影光学系
3日前
株式会社小糸製作所
水素発生装置
3日前
株式会社小糸製作所
発光素子搭載用基板および照明装置
3日前
株式会社小糸製作所
素子搭載基板、車両用灯具および素子搭載方法
3日前
株式会社小糸製作所
車両用灯具および車両用灯具に備えられる単一レンズ
3日前
個人
室外機器
3か月前
個人
照明システム
2か月前
個人
車載機器の通気構造
22日前
個人
気泡を用いた遊具。
5か月前
株式会社遠藤照明
照明器具
4か月前
株式会社遠藤照明
照明装置
13日前
能美防災株式会社
表示灯
22日前
個人
LEDライト
2か月前
デンカ株式会社
照明装置
3か月前
デンカ株式会社
道路用照明
3か月前
株式会社小糸製作所
投光装置
22日前
株式会社小糸製作所
投光装置
22日前
株式会社小糸製作所
誘導装置
6日前
アクア株式会社
冷蔵庫
1か月前
株式会社小糸製作所
車両用灯具
3か月前
株式会社小糸製作所
車両用灯具
4か月前
株式会社小糸製作所
車両用灯具
3か月前
株式会社小糸製作所
車両用灯具
2か月前
株式会社小糸製作所
車両用灯具
3か月前
株式会社小糸製作所
車両用灯具
3か月前
株式会社小糸製作所
車両用灯具
3か月前
株式会社小糸製作所
車両用灯具
2か月前
東芝ライテック株式会社
照明装置
2か月前
株式会社パクマケ
スポットライト
3か月前
トキコーポレーション株式会社
照明器具
4か月前
三協立山株式会社
照明付きポール
1か月前
株式会社北井地所
照明装置
6日前
株式会社小糸製作所
車両用前照灯
6日前
シャープ株式会社
照明装置
5か月前
続きを見る
他の特許を見る