TOP
|
特許
|
意匠
|
商標
特許ウォッチ
Twitter
他の特許を見る
公開番号
2025115120
公報種別
公開特許公報(A)
公開日
2025-08-06
出願番号
2024009470
出願日
2024-01-25
発明の名称
冷媒循環システム
出願人
マツダ株式会社
代理人
個人
,
個人
,
個人
,
個人
,
個人
主分類
F25B
1/00 20060101AFI20250730BHJP(冷凍または冷却;加熱と冷凍との組み合わせシステム;ヒートポンプシステム;氷の製造または貯蔵;気体の液化または固体化)
要約
【課題】モータの滑り軸受を冷媒にて潤滑し、モータ内で冷媒を膨張させると共に冷却に用いる冷媒循環システムにおいて、液状態の冷媒がコンプレッサに流入することを防止する。
【解決手段】CO
2
を含む冷媒を循環する冷媒循環システム100は、冷媒を圧縮するコンプレッサ3と、ロータ11及びステータ12と、ロータに連結された回転軸13と、コンプレッサにより圧縮された冷媒を用いて潤滑を行い、回転軸を支持する滑り軸受14と、を備え、内部を通過する冷媒が、滑り軸受14から流出した後に膨張されて、ステータの冷却に用いられるように構成されたモータ1と、少なくともモータを制御するように構成された制御装置50と、を有し、モータは、冷媒の流量を調整可能な流量調整弁20を更に備え、制御装置は、冷媒の冷凍サイクルにおける過熱度を調整するように、モータの流量調整弁を制御する。
【選択図】図2
特許請求の範囲
【請求項1】
CO
2
を含む冷媒を循環する冷媒循環システムであって、
前記冷媒を圧縮するコンプレッサと、
ロータ及びステータと、前記ロータに連結された回転軸と、前記コンプレッサにより圧縮された前記冷媒を用いて潤滑を行い、前記回転軸を支持する滑り軸受と、を備えるモータであって、当該モータ内を通過する前記冷媒が、前記滑り軸受から流出した後に膨張されて、前記ロータ又は前記ステータの冷却に用いられるように構成された前記モータと、
少なくとも前記モータを制御するように構成された制御装置と、
を有し、
前記モータは、前記冷媒の流量を調整可能な流量調整機構を更に備え、
前記制御装置は、前記冷媒循環システムにより実現される前記冷媒の冷凍サイクルにおける過熱度を調整すべく、前記モータの前記流量調整機構を制御するように構成されている、
ことを特徴とする冷媒循環システム。
続きを表示(約 1,300 文字)
【請求項2】
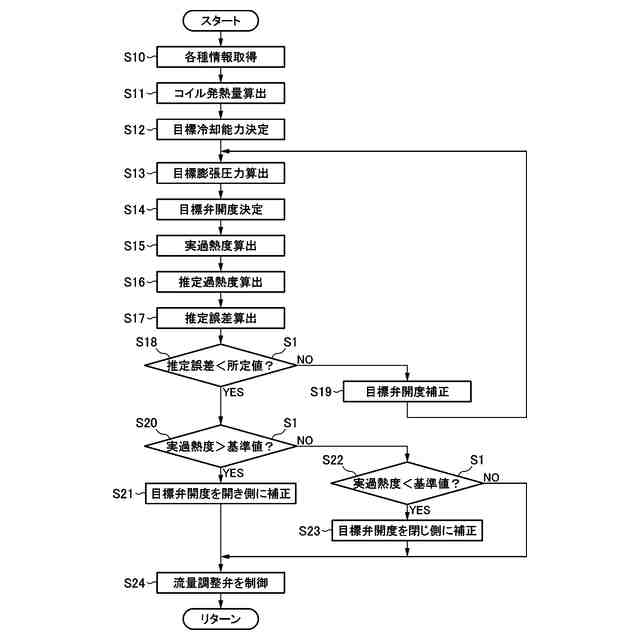
前記制御装置は、前記冷凍サイクルにおける現在の前記過熱度を算出し、前記過熱度が基準値よりも大きい場合には、前記冷媒の流量を大きくするように前記流量調整機構を制御し、前記過熱度が前記基準値よりも小さい場合には、前記冷媒の流量を小さくするように前記流量調整機構を制御するように構成されている、請求項1に記載の冷媒循環システム。
【請求項3】
前記冷媒循環システムは、更に、前記コンプレッサにより圧縮された後の前記冷媒の圧力を検出する第1圧力センサと、前記モータの前記滑り軸受に供給される前の前記冷媒の温度を検出する第1温度センサと、を有し、
前記制御装置は、
冷却すべき前記ロータ又は前記ステータに適用されたコイルの発熱量に基づき、前記冷凍サイクルで実現すべき目標冷却能力を決定し、
前記目標冷却能力と、前記第1圧力センサにより検出された圧力と、前記第1温度センサにより検出された温度とに基づき、前記冷媒が膨張した後の目標膨張圧力を算出し、
前記目標膨張圧力を実現するための前記流量調整機構による前記冷媒の目標流量を決定し、
前記過熱度が前記基準値よりも大きい場合には前記目標流量を大きくする補正を行う一方で、前記過熱度が前記基準値よりも小さい場合には前記目標流量を小さくする補正を行って、補正後の前記目標流量に基づき前記流量調整機構を制御する、
ように構成されている、請求項2に記載の冷媒循環システム。
【請求項4】
前記冷媒循環システムは、更に、前記滑り軸受から流出した後の前記冷媒の圧力を検出する第2圧力センサと、前記ロータ又は前記ステータの冷却に用いられた後の前記冷媒の温度を検出する第2温度センサと、を有し、
前記制御装置は、前記第2圧力センサにより検出された圧力と、前記第2温度センサにより検出された温度とに基づき、前記冷凍サイクルにおける現在の前記過熱度を算出するように構成されている、請求項2又は3に記載の冷媒循環システム。
【請求項5】
前記制御装置は、
前記第2圧力センサにより検出された圧力と前記第2温度センサにより検出された温度とに基づき算出された前記過熱度を第1過熱度とすると、当該第1過熱度とは別に、前記コイルの発熱量及び前記目標冷却能力に基づき推定される第2過熱度を算出し、
前記第1過熱度と前記第2過熱度との差に応じて、前記目標流量を補正する、
ように構成されている、請求項3を引用する請求項4に記載の冷媒循環システム。
【請求項6】
前記モータは、更に、前記滑り軸受から流出した直後の前記冷媒を、冷却すべき前記ロータ又は前記ステータに適用されたコイルに向けて指向させるように構成されたガイド部を備え、
前記流量調整機構は、前記ガイド部と当該ガイド部側の前記滑り軸受の端部との間にある、前記冷媒が流出する隙間の大きさを変更するように、前記ガイド部又は前記滑り軸受を軸方向に移動させることにより、前記冷媒の流量を調整可能に構成されている、
請求項1乃至3のいずれか一項に記載の冷媒循環システム。
発明の詳細な説明
【技術分野】
【0001】
本発明は、冷媒を循環する冷媒循環システムに関する。
続きを表示(約 2,100 文字)
【背景技術】
【0002】
従来から、エアコンなどで利用される冷凍サイクルにおいて、冷媒を循環する冷媒循環システムが用いられている。一般的に、この種の冷媒循環システムでは、コンプレッサ(圧縮機)と、熱交換器(凝縮器)と、膨張弁と、蒸発器との間で、冷媒を状態変化させながら循環させている。
【0003】
このような冷媒循環システムでは、液状態の冷媒がコンプレッサに流入すること(液バック/液戻り)によるコンプレッサの故障などを防止するために、蒸発器で加熱された冷媒を余裕を持たせて加熱して、完全にガス化した冷媒をコンプレッサに供給するように制御が行われている。冷凍サイクルにおいて、この余裕を持たせた加熱の度合いは「過熱度」と呼ばれており、過熱度は、コンプレッサ前の圧力(つまり蒸発器の圧力)に応じた飽和蒸気温度及びコンプレッサ前の冷媒温度から求められる。このような冷凍サイクルの過熱度を制御する技術が、例えば特許文献1に開示されている。
【先行技術文献】
【特許文献】
【0004】
特開2022-023780号公報
【発明の概要】
【発明が解決しようとする課題】
【0005】
ところで、例えば車両の動力源(エンジンやモータ)などの回転軸を支持する軸受として、従来から転がり軸受や滑り軸受が用いられている。ここで、電気自動車などのモータに転がり軸受を適用すると、このモータの回転軸が例えば30000rpmを超える高回転数で回転するので、転がり疲労により寿命が問題となる。他方で、オイルを潤滑剤として用いる一般的な滑り軸受をモータに適用すると、モータの回転軸によるオイル攪拌抵抗の損失が大きくなる。
【0006】
したがって、本件発明者は、モータを上記したような冷媒循環システムに適用し、このシステムで循環される冷媒、特にコンプレッサによる圧縮で液状になるCO
2
冷媒などを、潤滑剤として用いる滑り軸受を、モータの回転軸に適用することを考えた。それと共に、本件発明者は、このモータを、冷媒循環システムによる冷凍サイクルの一部の機能を担わせること、具体的には冷凍サイクルにおける膨張弁及び蒸発器として機能させることを考えた。すなわち、モータ内を通過する冷媒を、滑り軸受から流出した後に膨張させて(膨張弁)、ロータやステータの冷却に用いる(蒸発器)ことを考えた。このようなモータを含む冷媒循環システムでも、液状態の冷媒がモータ下流のコンプレッサに流入すること(液バック)を防止できるようにする必要がある。
【0007】
本発明は、上述した従来技術の問題点を解決するためになされたものであり、モータの滑り軸受を冷媒にて潤滑し、モータ内で冷媒を膨張させると共に冷却に用いるようにした冷媒循環システムにおいて、液状態の冷媒がコンプレッサに流入することを防止することを目的とする。
【課題を解決するための手段】
【0008】
上記の目的を達成するために、本発明は、CO
2
を含む冷媒を循環する冷媒循環システムであって、冷媒を圧縮するコンプレッサと、ロータ及びステータと、ロータに連結された回転軸と、コンプレッサにより圧縮された冷媒を用いて潤滑を行い、回転軸を支持する滑り軸受と、を備えるモータであって、当該モータ内を通過する冷媒が、滑り軸受から流出した後に膨張されて、ロータ又はステータの冷却に用いられるように構成されたモータと、少なくともモータを制御するように構成された制御装置と、を有し、モータは、冷媒の流量を調整可能な流量調整機構を更に備え、制御装置は、冷媒循環システムにより実現される冷媒の冷凍サイクルにおける過熱度を調整すべく、モータの流量調整機構を制御するように構成されている、ことを特徴とする。
【0009】
このように構成された本発明では、モータの滑り軸受を冷媒にて潤滑すると共に、モータを冷凍サイクルの膨張弁及び蒸発器として機能させる冷媒循環システムにおいて、流量調整機構によりモータの冷媒の流量を制御することで、冷凍サイクルの過熱度を的確に調整することができる。したがって、本発明によれば、液状態の冷媒がモータ下流のコンプレッサに流入すること(液バック)を防止することができる。
【0010】
本発明において、好ましくは、制御装置は、冷凍サイクルにおける現在の過熱度を算出し、過熱度が基準値よりも大きい場合には、冷媒の流量を大きくするように流量調整機構を制御し、過熱度が基準値よりも小さい場合には、冷媒の流量を小さくするように流量調整機構を制御するように構成されている。
このように構成された本発明では、過熱度が基準値よりも大きい場合には、冷媒の流量を大きくして過熱度を下げるようにし、過熱度が基準値よりも小さい場合には、冷媒の流量を小さくして過熱度を上げるようにする。これにより、過熱度を所定の基準値(目標値)に維持することができ、コンプレッサへの液バックを確実に防止することが可能となる。
(【0011】以降は省略されています)
この特許をJ-PlatPat(特許庁公式サイト)で参照する
関連特許
マツダ株式会社
運転支援装置
1か月前
マツダ株式会社
運転支援装置
1か月前
マツダ株式会社
運転支援装置
1か月前
マツダ株式会社
車体後部構造
21日前
マツダ株式会社
車両の前部構造
今日
マツダ株式会社
車両の上部構造
28日前
マツダ株式会社
車両の下部構造
1日前
マツダ株式会社
車両の下部構造
1日前
マツダ株式会社
車両の前部構造
今日
マツダ株式会社
バッテリ冷却構造
7日前
マツダ株式会社
バッテリユニット
20日前
マツダ株式会社
バッテリユニット
20日前
マツダ株式会社
バッテリ冷却構造
7日前
マツダ株式会社
車両用フレーム部材
今日
マツダ株式会社
車両用フレーム部材
今日
マツダ株式会社
二次電池の制御装置
1か月前
マツダ株式会社
塗布方法及び塗布装置
7日前
マツダ株式会社
運転者の覚醒維持装置
今日
マツダ株式会社
バッテリ温度制御システム
1か月前
マツダ株式会社
車両のドア構造およびその製造方法
28日前
マツダ株式会社
車両用フレーム部材および車体前部構造
7日前
マツダ株式会社
車両用フレーム部材および車体前部構造
7日前
マツダ株式会社
車両の構造設計方法及び構造設計プログラム
1日前
マツダ株式会社
バッテリユニットを搭載した車両の前部車体構造
20日前
マツダ株式会社
車両の上部構造、および車両の上部構造の製造方法
28日前
マツダ株式会社
バッテリユニット及びバッテリユニットの製造方法。
20日前
マツダ株式会社
樹脂成形品の解析方法、解析装置、解析用プログラム及び記録媒体
1か月前
マツダ株式会社
ゴム材料の応力-ひずみ特性予測方法、装置、プログラム、記録媒体及び設計方法
1か月前
株式会社不二工機
膨張弁
1か月前
株式会社不二工機
膨張弁
1か月前
アクア株式会社
冷蔵庫
7日前
アクア株式会社
冷蔵庫
7日前
ホシザキ株式会社
製氷機
2か月前
個人
ヒートポンプ型空気調和機
2か月前
富士電機株式会社
冷却装置
2か月前
ホシザキ株式会社
冷凍装置
1か月前
続きを見る
他の特許を見る