TOP
|
特許
|
意匠
|
商標
特許ウォッチ
Twitter
他の特許を見る
公開番号
2025082781
公報種別
公開特許公報(A)
公開日
2025-05-29
出願番号
2024038514
出願日
2024-03-12
発明の名称
自動位置合わせ固定構造を備えるセンサ
出願人
厦門普為光電科技有限公司
代理人
個人
主分類
G01D
11/24 20060101AFI20250522BHJP(測定;試験)
要約
【課題】自動位置合わせ固定構造を備えるセンサを提供する。
【解決手段】
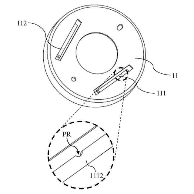
自動位置合わせ固定構造を備えるセンサは、取付カバー、センサハウジング及びセンサモジュールを含む。取付カバーは固定面を有する。固定面は、取付カバーの一側に位置し、第1固定アーム及び第2固定アームを有し、第1固定アームは第2固定アームと平行ではない。センサハウジングはセンサハウジングの両側にそれぞれ設置されるロック面及びセンサ取付領域を有する。ロック面は第1ロックアーム及び第2ロックアームを有する。第1ロックアームは第2ロックアームと平行ではなく、第1ロックアーム及び第2ロックアームはそれぞれ第1固定アーム及び第2固定アームに対応する。センサモジュールはセンサ取付領域に設置される。第1固定アーム及び第2固定アームは、それぞれ第1ロックアーム及び第2ロックアームと互いに嵌合し、取付カバー及びセンサハウジングを互いに固定させる。
【選択図】図1
特許請求の範囲
【請求項1】
一側に位置する固定面を有し、第1固定アーム及び第2固定アームを有し、前記第1固定アームは、前記第2固定アームと平行ではない取付カバーと、
両側に配置されるロック面及びセンサ取付領域を有し、前記ロック面は、第1ロックアーム及び第2ロックアームを有し、前記第1ロックアームは、前記第2ロックアームと平行ではなく、且つ前記第1ロックアーム及び前記第2ロックアームは、それぞれ前記第1固定アーム及び前記第2固定アームに対応するセンサハウジングと、
前記センサ取付領域に設置されるセンサモジュールと、
を含み、
前記第1固定アーム及び前記第2固定アームは、それぞれ前記第1ロックアーム及び前記第2ロックアームと相互に嵌合し、前記取付カバー及び前記センサハウジングを互いに固定させることを特徴とする自動位置合わせ固定構造を備えるセンサ。
続きを表示(約 1,200 文字)
【請求項2】
前記第1固定アームと前記固定面との接続面の中心軸を通る第1基準線と、前記第2固定アームと前記固定面との接続面の中心軸を通る第2基準線とが第1挟み角を有することを特徴とする請求項1に記載の自動位置合わせ固定構造を備えるセンサ。
【請求項3】
前記第1ロックアームと前記ロック面との接続面の中心軸を通る第3基準線と、前記第2ロックアームと前記ロック面との接続面の中心軸を通る第4基準線とが第2挟み角を有し、前記第1挟み角は、前記第2挟み角と等しいことを特徴とする請求項2に記載の自動位置合わせ固定構造を備えるセンサ。
【請求項4】
前記第1挟み角及び前記第2挟み角は、90°未満であることを特徴とする請求項3に記載の自動位置合わせ固定構造を備えるセンサ。
【請求項5】
前記第1挟み角及び前記第2挟み角は、90°よりも大きく且つ180°未満であることを特徴とする請求項3に記載の自動位置合わせ固定構造を備えるセンサ。
【請求項6】
前記第1固定アーム、前記第2固定アーム、前記第1ロックアーム及び前記第2ロックアームの断面形状がL字状であることを特徴とする請求項1に記載の自動位置合わせ固定構造を備えるセンサ。
【請求項7】
前記第1固定アームは、第1延伸部及び第1固定部を有し、前記第1延伸部は、前記固定面に接続され、前記第1固定部は、前記第1延伸部に接続され、前記第2固定アームは、第2延伸部及び第2固定部を有し、前記第2延伸部は、前記固定面に接続され、前記第2固定部は、前記第2延伸部に接続され、前記第1固定部及び前記第2固定部は、前記固定面の中心軸に近づく方向に延伸することを特徴とする請求項1に記載の自動位置合わせ固定構造を備えるセンサ。
【請求項8】
前記第1ロックアームは、第1支持部及び第1ロック部を有し、前記第1支持部は、前記ロック面に接続され、前記第1ロック部は、前記第1支持部に接続され、前記第2ロックアームは、第2支持部及び第2ロック部を有し、前記第2支持部は、前記ロック面に接続され、前記第2ロック部は、前記第2支持部に接続され、前記第1ロック部と前記第2ロック部の延伸方向は相反することを特徴とする請求項7に記載の自動位置合わせ固定構造を備えるセンサ。
【請求項9】
前記第1支持部は、位置決め穴及び位置決め柱を有し、前記位置決め柱は、前記位置決め穴内に設置され、位置決め凸部を有し、前記位置決め凸部の延伸方向は、前記第1ロック部の延伸方向と同じであり、前記第1固定部は、前記位置決め凸部に対応する位置決め溝を有することを特徴とする請求項8に記載の自動位置合わせ固定構造を備えるセンサ。
【請求項10】
カバープレートを更に含み、前記カバープレートは、前記センサ取付領域に設置され、前記センサ取付領域を覆うことを特徴とする請求項1に記載の自動位置合わせ固定構造を備えるセンサ。
発明の詳細な説明
【技術分野】
【0001】
本発明は、センサ、特に自動位置合わせ固定構造を備えるセンサに関する。
続きを表示(約 1,200 文字)
【背景技術】
【0002】
従来のセンサの取付構造は、設計が比較的複雑であるため、これらのセンサの全体コストが大幅に増加し、その応用が大幅に制限される。
【0003】
また、従来のセンサの取付構造設計は、比較的複雑であるため、ユーザはこれらのセンサを迅速かつ便利に取り付けることができない、又は技術者の支援が必要になる。従って、従来のセンサは、使用上極めて不便であり、ユーザの要求を満たすことができない。
【0004】
また、従来のセンサの構造上の制限により、これらのセンサは、通常1つのセンシング機能しか提供することができない。したがって、ユーザが別のセンシングの応用を必要とする場合、ユーザは、現在のセンサを取り外し、別のセンシング機能を有するセンサを取り付けることしかできない。
【発明の概要】
【発明が解決しようとする課題】
【0005】
本発明は、自動位置合わせ固定構造を備えるセンサを提供する。
【課題を解決するための手段】
【0006】
本発明の一実施形態に基づき、取付カバー、センサハウジング及びセンサモジュールを含む自動位置合わせ固定構造を備えるセンサを提供する。取付カバーは、固定面を有する。固定面は、取付カバーの一側に位置し、第1固定アーム及び第2固定アームを有し、第1固定アームは、第2固定アームと平行ではない。センサハウジングは、センサハウジングの両側にそれぞれ設置されるロック面及びセンサ取付領域を有する。ロック面は、第1ロックアーム及び第2ロックアームを有する。第1ロックアームは、第2ロックアームと平行ではなく、且つ第1ロックアーム及び第2ロックアームは、それぞれ第1固定アーム及び第2固定アームに対応する。センサモジュールは、センサ取付領域に設置される。第1固定アーム及び第2固定アームは、それぞれ第1ロックアーム及び第2ロックアームと互いに嵌合し、取付カバー及びセンサハウジングを互いに固定させる。
【0007】
一実施形態では、第1固定アームと固定面との接続面の中心軸を通る第1基準線と、第2固定アームと固定面との接続面の中心軸を通る第2基準線とが第1挟み角を有する。
【0008】
一実施形態では、第1ロックアームとロック面との接続面の中心軸を通る第3基準線と、第2ロックアームとロック面との接続面の中心軸を通る第4基準線とが第2挟み角を有し、第1挟み角は、第2挟み角と等しい。
【0009】
一実施形態では、第1挟み角及び第2挟み角は、90°未満である。
【0010】
一実施形態では、第1挟み角及び第2挟み角は、90°よりも大きく且つ180°未満である。
(【0011】以降は省略されています)
この特許をJ-PlatPat(特許庁公式サイト)で参照する
関連特許
厦門普為光電科技有限公司
多段昇圧機構を備えた照明装置
4か月前
厦門普為光電科技有限公司
定照度照明制御装置及びその方法
2か月前
厦門普為光電科技有限公司
高調波抑制機能を備える照明器具
5か月前
厦門普為光電科技有限公司
多機能保護回路を備えた照明装置
4日前
厦門普為光電科技有限公司
焦電型赤外線センサ感度調整装置
12日前
厦門普為光電科技有限公司
高信頼性光源モジュールの製造方法
6か月前
厦門普為光電科技有限公司
多層光学媒体構造を有するランプ管
1か月前
厦門普為光電科技有限公司
分岐レイアウト構造を有する光源基板
2か月前
厦門普為光電科技有限公司
適応型電力調整機能を備えた照明器具
9か月前
厦門普為光電科技有限公司
適応負荷電圧制御機能を備えた照明装置
5か月前
厦門普為光電科技有限公司
自動位置合わせ固定構造を備えるセンサ
5か月前
厦門普為光電科技有限公司
高い逆電圧耐性を有する発光ダイオード
1か月前
厦門普為光電科技有限公司
グループ制御スイッチを備える防水センサ
9か月前
厦門普為光電科技有限公司
逆電圧クランプ解除機構を備えた照明装置
12日前
厦門普為光電科技有限公司
二重閉ループを形成可能な照明装置駆動電源
2か月前
厦門普為光電科技有限公司
監視装置及びその監視装置を含む照明システム
1か月前
厦門普為光電科技有限公司
リアルタイム照度一定調整システム及びその方法
7か月前
厦門普為光電科技有限公司
電磁干渉抑制機能を備えたフライバックコンバータ
5か月前
厦門普為光電科技有限公司
故障検出及びセルフロック制御機能を備えた照明器具
4か月前
厦門普為光電科技有限公司
マルチチャンネル照明制御システム及びその制御方法
3か月前
厦門普為光電科技有限公司
駆動効率を向上させる多段チップ給電機構を有する照明装置
5か月前
厦門普為光電科技有限公司
負荷インピーダンス整合検出機能を備えた外付け電源供給器
4か月前
厦門普為光電科技有限公司
ブルートゥース及びユーザデータグラムプロトコルに基づくローカルエリアネットワーク制御システム及びその方法
5か月前
個人
メジャー文具
1か月前
日本精機株式会社
検出装置
19日前
個人
採尿及び採便具
25日前
個人
計量機能付き容器
14日前
個人
アクセサリー型テスター
1か月前
個人
高精度同時多点測定装置
1か月前
株式会社カクマル
境界杭
4日前
ユニパルス株式会社
ロードセル
1か月前
株式会社ミツトヨ
測定器
1か月前
甲神電機株式会社
電流検出装置
19日前
アズビル株式会社
電磁流量計
1か月前
ダイキン工業株式会社
監視装置
1か月前
大成建設株式会社
風洞実験装置
14日前
続きを見る
他の特許を見る