TOP
|
特許
|
意匠
|
商標
特許ウォッチ
Twitter
他の特許を見る
10個以上の画像は省略されています。
公開番号
2025022689
公報種別
公開特許公報(A)
公開日
2025-02-14
出願番号
2024008374
出願日
2024-01-23
発明の名称
グループ制御スイッチを備える防水センサ
出願人
厦門普為光電科技有限公司
代理人
個人
主分類
H01H
9/04 20060101AFI20250206BHJP(基本的電気素子)
要約
【課題】グループ制御スイッチを備える防水センサを提供する。
【解決手段】
グループ制御スイッチを備える防水センサは、ハウジング、上蓋、第1回路基板、ディップスイッチ、複数の金属ピンおよびスイッチ穴シールパッドを含む。ハウジングは、上開口、下開口およびスイッチ穴を有する。上蓋は、上開口に設置され、上開口を覆う。第1回路基板は、ハウジング内に設置される。ディップスイッチは、第1回路基板上に設置され、スイッチ穴に対応する。前記複数の金属ピンは、下開口に設置され、第1回路基板に電気的に接続される。スイッチ穴シールパッドは、スイッチ穴に設置され、スイッチ穴を覆う。
【選択図】図1
特許請求の範囲
【請求項1】
上開口、下開口およびスイッチ穴を有するハウジングと、
前記上開口に設置され、前記上開口を覆う上蓋と、
前記ハウジング内に設置される第1回路基板と、
前記第1回路基板に設置され、前記スイッチ穴に対応するディップスイッチと、
前記下開口に設置され、前記第1回路基板に電気的に接続される複数の金属ピンと、
前記スイッチ穴に設置され、前記スイッチ穴を覆うスイッチ穴シールパッドと、
を含むことを特徴とするグループ制御スイッチを備える防水センサ。
続きを表示(約 1,100 文字)
【請求項2】
前記スイッチ穴は、前記スイッチ穴の側壁に配置された防水リングを有し、前記防水リングは、第1凸リングおよび第2凸リングを有し、前記第1凸リングは、前記スイッチ穴から離れる方向に延伸し、前記第1凸リングと前記スイッチ穴の前記側壁との間に第1防水溝を形成し、前記第2凸リングは、前記スイッチ穴の中心軸に近づく方向に延伸し、前記第1凸リングおよび前記第2凸リングの間に第2防水溝を形成することを特徴とする請求項1に記載のグループ制御スイッチを備える防水センサ。
【請求項3】
前記スイッチ穴シールパッドは、第1シールリングおよび第2シールリングを有し、前記第1シールリングは、前記第1防水溝に嵌め込まれ、前記第2シールリングは、前記第2防水溝に嵌め込まれることを特徴とする請求項2に記載のグループ制御スイッチを備える防水センサ。
【請求項4】
前記スイッチ穴シールパッドは、防水固定リングを更に有し、前記防水固定リングは、前記スイッチ穴シールパッドの底部に設置され、前記第1シールリングおよび前記第2シールリングは、第1防水空間を形成し、前記第2シールリングおよび前記防水固定リングは、第2防水空間を形成し、前記第1凸リングは、前記第1防水空間に嵌め込まれ、前記第2凸リングは、前記第2防水空間に嵌め込まれることを特徴とする請求項3に記載のグループ制御スイッチを備える防水センサ。
【請求項5】
前記スイッチ穴の直径は、第1方向に沿って減少し、前記第1方向は、前記スイッチ穴の中心軸方向に平行であり且つ前記ハウジングの中心点に向いていることを特徴とする請求項2に記載のグループ制御スイッチを備える防水センサ。
【請求項6】
前記上蓋と前記ハウジングとの間に配置される上蓋シールパッドを更に含むことを特徴とする請求項1に記載のグループ制御スイッチを備える防水センサ。
【請求項7】
第2回路基板を更に備え、前記第2回路基板は、前記第1回路上に設置される請求項1に記載のグループ制御スイッチを備える防水センサ。
【請求項8】
前記第2回路基板は、ブルートゥースモジュール、Wifiモジュール又はZigbeeモジュールであることを特徴とする請求項7に記載のグループ制御スイッチを備える防水センサ。
【請求項9】
前記上蓋は、透明な材料で形成されることを特徴とする請求項1に記載のグループ制御スイッチを備える防水センサ。
【請求項10】
前記上蓋は、半透明な材料で形成されることを特徴とする請求項1に記載のグループ制御スイッチを備える防水センサ。
発明の詳細な説明
【技術分野】
【0001】
本発明は、センサ、特にグループ制御スイッチを備える防水センサに関する。
続きを表示(約 1,300 文字)
【背景技術】
【0002】
IoTシステムおよびその他のインテリジェントシステムの要求を満たすために、センサの機能も大幅に改良および最適化されている。しかし、従来のセンサは、効果的な防水構造に欠いている。したがって、センサを湿気の多い環境に設置すると、センサの回路基板が水との接触により損傷しやすく、センサが正常に動作できなくなる。
【0003】
また、従来のセンサは、ブルートゥースモジュール、WiFiモジュール、ZigBeeモジュールなどの通信モジュールを有し、通信機能を提供する。しかし、従来のセンサは、グループ制御機能を提供することができず、その応用において大きな制限を受ける。
【発明の概要】
【発明が解決しようとする課題】
【0004】
本発明は、グループ制御スイッチを備える防水センサを提供する。
【課題を解決するための手段】
【0005】
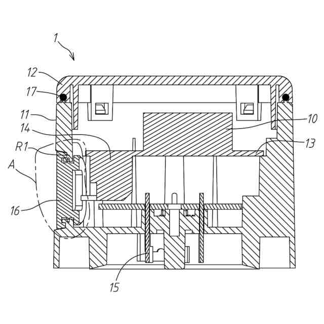
本発明の一実施形態に基づき、グループ制御スイッチを備える防水センサは、ハウジング、上蓋、第1回路基板、ディップスイッチ、複数の金属ピンおよびスイッチ穴シールパッドを含む。ハウジングは、上開口、下開口およびスイッチ穴を有する。上蓋は、上開口に設置され、上開口を覆う。第1回路基板は、ハウジング内に設置される。ディップスイッチは、第1回路基板上に設置され、スイッチ穴に対応する。前記複数の金属ピンは、下開口に設置され、第1回路基板に電気的に接続される。スイッチ穴シールパッドは、スイッチ穴に設置され、スイッチ穴を覆う。
【0006】
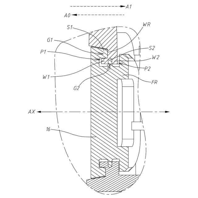
一実施例において、スイッチ穴は、スイッチ穴の側壁に配置された防水リングを有し、防水リングは、第1凸リングおよび第2凸リングを有し、第1凸リングは、スイッチ穴から離れる方向に延伸し、第1凸リングとスイッチ穴の前記側壁との間に第1防水溝を形成し、第2凸リングは、スイッチ穴の中心軸に近づく方向に延伸し、第1凸リングおよび第2凸リングの間に第2防水溝を形成する。
【0007】
一実施例において、スイッチ穴シールパッドは、第1シールリングおよび第2シールリングを有し、第1シールリングは、第1防水溝に嵌め込まれ、第2シールリングは、第2防水溝に嵌め込まれる。
【0008】
一実施例において、スイッチ穴シールパッドは、防水固定リングを更に有し、防水固定リングは、スイッチ穴シールパッドの底部に設置され、第1シールリングおよび第2シールリングは、第1防水空間を形成し、第2シールリングおよび防水固定リングは、第2防水空間を形成し、第1凸リングは、第1防水空間に嵌め込まれ、第2凸リングは、第2防水空間に嵌め込まれる。
【0009】
一実施例において、スイッチ穴の直径は、第1方向に沿って減少し、第1方向は、スイッチ穴の中心軸方向に平行であり且つハウジングの中心点に向いている。
【0010】
一実施例において、防水センサは、上蓋シールパッドを更に含む。上蓋シールパッドは、上蓋とハウジングとの間に設置される。
(【0011】以降は省略されています)
この特許をJ-PlatPat(特許庁公式サイト)で参照する
関連特許
厦門普為光電科技有限公司
直付けタイプのダウンライト
12か月前
厦門普為光電科技有限公司
高光効率発光ダイオード光源
10か月前
厦門普為光電科技有限公司
回転取付タイプのダウンライト
12か月前
厦門普為光電科技有限公司
多段昇圧機構を備えた照明装置
4か月前
厦門普為光電科技有限公司
定照度照明制御装置及びその方法
2か月前
厦門普為光電科技有限公司
高調波抑制機能を備える照明器具
5か月前
厦門普為光電科技有限公司
多機能保護回路を備えた照明装置
4日前
厦門普為光電科技有限公司
焦電型赤外線センサ感度調整装置
12日前
厦門普為光電科技有限公司
高信頼性光源モジュールの製造方法
6か月前
厦門普為光電科技有限公司
多層光学媒体構造を有するランプ管
1か月前
厦門普為光電科技有限公司
過渡電流抑制機能を備えた照明装置
10か月前
厦門普為光電科技有限公司
適応型電力調整機能を備えた照明器具
9か月前
厦門普為光電科技有限公司
分岐レイアウト構造を有する光源基板
2か月前
厦門普為光電科技有限公司
自動位置合わせ固定構造を備えるセンサ
5か月前
厦門普為光電科技有限公司
適応負荷電圧制御機能を備えた照明装置
5か月前
厦門普為光電科技有限公司
高い逆電圧耐性を有する発光ダイオード
1か月前
厦門普為光電科技有限公司
グループ制御スイッチを備える防水センサ
9か月前
厦門普為光電科技有限公司
ブルーライトカット機能を備える照明器具
11か月前
厦門普為光電科技有限公司
逆電圧クランプ解除機構を備えた照明装置
12日前
厦門普為光電科技有限公司
二重閉ループを形成可能な照明装置駆動電源
2か月前
厦門普為光電科技有限公司
ワイド電圧対応発光ダイオード定電流駆動回路
11か月前
厦門普為光電科技有限公司
監視装置及びその監視装置を含む照明システム
1か月前
厦門普為光電科技有限公司
残光防止機能を備えた発光ダイオード照明装置
11か月前
厦門普為光電科技有限公司
リアルタイム照度一定調整システム及びその方法
7か月前
厦門普為光電科技有限公司
光減衰補償機能を備えた照明装置およびその方法
11か月前
厦門普為光電科技有限公司
電磁干渉抑制機能を備えたフライバックコンバータ
5か月前
厦門普為光電科技有限公司
故障検出及びセルフロック制御機能を備えた照明器具
4か月前
厦門普為光電科技有限公司
マルチチャンネル照明制御システム及びその制御方法
3か月前
厦門普為光電科技有限公司
スイッチング機構を備えた照明装置用電源供給システム
10か月前
厦門普為光電科技有限公司
駆動効率を向上させる多段チップ給電機構を有する照明装置
5か月前
厦門普為光電科技有限公司
負荷インピーダンス整合検出機能を備えた外付け電源供給器
4か月前
厦門普為光電科技有限公司
ブルートゥース及びユーザデータグラムプロトコルに基づくローカルエリアネットワーク制御システム及びその方法
5か月前
APB株式会社
蓄電セル
1か月前
東ソー株式会社
絶縁電線
1か月前
個人
フレキシブル電気化学素子
1か月前
日新イオン機器株式会社
イオン源
1か月前
続きを見る
他の特許を見る