TOP
|
特許
|
意匠
|
商標
特許ウォッチ
Twitter
他の特許を見る
10個以上の画像は省略されています。
公開番号
2025158087
公報種別
公開特許公報(A)
公開日
2025-10-16
出願番号
2025051318
出願日
2025-03-26
発明の名称
多層光学媒体構造を有するランプ管
出願人
厦門普為光電科技有限公司
代理人
AIPPAY弁理士法人
主分類
F21K
9/66 20160101AFI20251008BHJP(照明)
要約
【課題】多層光学媒体構造を有するランプ管を提供する。
【解決手段】
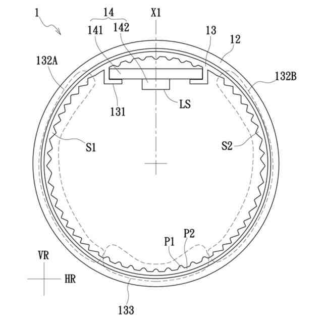
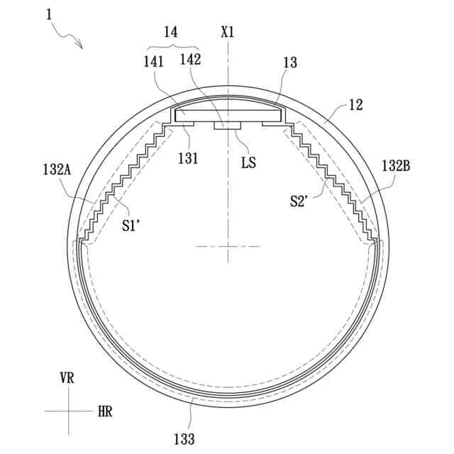
多層光学媒体構造を有するランプ管は、外管、内管及び光源基板を含む。内管は、外管内に設置され、取付座、第1光調整部、第2光調整部、及び波形部を含む。取付座、第1光調整部、及び第2光調整部は、内管の内壁に設置される。波形部及び取付座は、第1光調整部と第2光調整部との間に設置される。光源基板は、取付座上に設置され、波形部は、光源基板の一側に対応する。第1光調整部は、順に配置された複数の第1プリズム段差を有し、第2光調整部は、順に配置された複数の第2プリズム段差を有し、波形部は、波形構造を有する。
【選択図】図1
特許請求の範囲
【請求項1】
外管と、内管と、光源基板と、を含み、
前記内管は、前記外管内に設置され、取付座、第1光調整部、第2光調整部、及び波形部を含み、前記取付座、前記第1光調整部、及び前記第2光調整部は、前記内管の内壁に設置され、前記波形部及び前記取付座は、前記第1光調整部と前記第2光調整部との間に設置され、
前記光源基板は、前記取付座上に設置され、前記波形部は、前記光源基板の一側に対応し、
前記第1光調整部は、順に配置された複数の第1プリズム段差を有し、前記第2光調整部は、順に配置された複数の第2プリズム段差を有し、前記波形部は、波形構造を有することを特徴とする多層光学媒体構造を有するランプ管。
続きを表示(約 950 文字)
【請求項2】
前記外管が円筒状であることを特徴とする請求項1に記載の多層光学媒体構造を有するランプ管。
【請求項3】
前記波形部は、前記内管の内壁又は外壁に設置されることを特徴とする請求項1に記載の多層光学媒体構造を有するランプ管。
【請求項4】
前記波形部は、前記内管の内壁及び外壁に設置されることを特徴とする請求項1に記載の多層光学媒体構造を有するランプ管。
【請求項5】
前記波形構造は、複数の突起部を含み、各前記突起部の上端は円弧形状であることを特徴とする請求項1に記載の多層光学媒体構造を有するランプ管。
【請求項6】
前記波形構造は、複数の平面部を含み、前記複数の突起部と前記複数の平面部とが交互に配置されることを特徴とする請求項5に記載の多層光学媒体構造を有するランプ管。
【請求項7】
各前記第1プリズム段差は、互いに接続された第1上面及び第1下面を有し、前記第1上面と前記光源基板との間の距離が前記第1下面と前記光源基板との間の距離よりも小さく、各前記第2プリズム段差は、互いに接続された第2上面及び第2下面を有し、前記第2上面と前記光源基板との間の距離が前記第2下面と前記光源基板との間の距離よりも小さいことを特徴とする請求項1に記載の多層光学媒体構造を有するランプ管。
【請求項8】
前記第1上面は、垂直基準面と平行であり、前記第1下面は、水平基準面と平行であり、前記第2上面は、前記垂直基準面と平行であり、前記第2下面が前記水平基準面と平行であることを特徴とする請求項7に記載の多層光学媒体構造を有するランプ管。
【請求項9】
前記第1上面は、垂直基準面と平行ではなく、前記第1下面は、水平基準面と平行ではなく、前記第2上面は、前記垂直基準面と平行ではなく、前記第2下面が前記水平基準面と平行ではないことを特徴とする請求項7に記載の多層光学媒体構造を有するランプ管。
【請求項10】
前記第1光調整部及び前記第2光調整部は、傾斜面であり、前記波形部は、円弧形状であることを特徴とする請求項1に記載の多層光学媒体構造を有するランプ管。
発明の詳細な説明
【技術分野】
【0001】
本発明は、ランプ管に関し、特に多層光学媒体構造を有するランプ管に関する。
続きを表示(約 1,000 文字)
【背景技術】
【0002】
ランプ管は、一般的な照明装置であり、明るく快適な環境を提供するために、オフィス、工業施設、商業施設、学校などで広く使用されているため、応用は、極めて広範囲である。技術の進歩により、ランプ管の効率も大幅に改善されている。しかし、従来のランプ管は、他の光学調整機構のない単層光学媒体構造(単層グローブ)を採用しているため、改善すべき欠点がまだ多く残っている。例えば、従来のランプ管は、深刻な光スポットを発生し易く、照明効果が低下する。また、従来のランプ管は、構造設計などの要因により、散乱によって光効率が低下し易い。
【発明の概要】
【発明が解決しようとする課題】
【0003】
本発明の目的は、多層光学媒体構造を有するランプ管を提供することである。
【課題を解決するための手段】
【0004】
本発明の一実施形態に基づき、外管、内管及び光源基板を含む多層光学媒体構造を有するランプ管を提供する。内管は、外管内に設置され、取付座、第1光調整部、第2光調整部、及び波形部を含む。取付座、第1光調整部、及び第2光調整部は、内管の内壁に設置される。波形部及び取付座は、第1光調整部と第2光調整部との間に設置される。光源基板は、取付座上に設置され、波形部は、光源基板の一側に対応する。第1光調整部は、順に配置された複数の第1プリズム段差を有し、第2光調整部は、順に配置された複数の第2プリズム段差を有し、波形部は、波形構造を有する。
【0005】
一実施形態では、外管が円筒状である。
【0006】
一実施形態では、波形部は、内管の内壁又は外壁に設置される。
【0007】
一実施形態では、波形部は、内管の内壁及び外壁に設置される。
【0008】
一実施形態では、波形構造は、複数の突起部を含み、各突起部の上端は円弧形状である。
【0009】
一実施形態では、波形構造は、複数の平面部を含む。複数の突起部と複数の平面部とが交互に配置される。
【0010】
一実施形態では、各第1プリズム段差は、互いに接続された第1上面及び第1下面を有し、第1上面と光源基板との間の距離が第1下面と光源基板との間の距離よりも小さい。各第2プリズム段差は、互いに接続された第2上面及び第2下面を有し、第2上面と光源基板との間の距離が第2下面と光源基板との間の距離よりも小さい。
(【0011】以降は省略されています)
この特許をJ-PlatPat(特許庁公式サイト)で参照する
関連特許
厦門普為光電科技有限公司
直付けタイプのダウンライト
12か月前
厦門普為光電科技有限公司
高光効率発光ダイオード光源
10か月前
厦門普為光電科技有限公司
回転取付タイプのダウンライト
12か月前
厦門普為光電科技有限公司
多段昇圧機構を備えた照明装置
4か月前
厦門普為光電科技有限公司
定照度照明制御装置及びその方法
2か月前
厦門普為光電科技有限公司
高調波抑制機能を備える照明器具
5か月前
厦門普為光電科技有限公司
多機能保護回路を備えた照明装置
4日前
厦門普為光電科技有限公司
焦電型赤外線センサ感度調整装置
12日前
厦門普為光電科技有限公司
高信頼性光源モジュールの製造方法
6か月前
厦門普為光電科技有限公司
多層光学媒体構造を有するランプ管
1か月前
厦門普為光電科技有限公司
過渡電流抑制機能を備えた照明装置
10か月前
厦門普為光電科技有限公司
適応型電力調整機能を備えた照明器具
9か月前
厦門普為光電科技有限公司
分岐レイアウト構造を有する光源基板
2か月前
厦門普為光電科技有限公司
自動位置合わせ固定構造を備えるセンサ
5か月前
厦門普為光電科技有限公司
適応負荷電圧制御機能を備えた照明装置
5か月前
厦門普為光電科技有限公司
高い逆電圧耐性を有する発光ダイオード
1か月前
厦門普為光電科技有限公司
グループ制御スイッチを備える防水センサ
9か月前
厦門普為光電科技有限公司
ブルーライトカット機能を備える照明器具
11か月前
厦門普為光電科技有限公司
逆電圧クランプ解除機構を備えた照明装置
12日前
厦門普為光電科技有限公司
二重閉ループを形成可能な照明装置駆動電源
2か月前
厦門普為光電科技有限公司
ワイド電圧対応発光ダイオード定電流駆動回路
11か月前
厦門普為光電科技有限公司
監視装置及びその監視装置を含む照明システム
1か月前
厦門普為光電科技有限公司
残光防止機能を備えた発光ダイオード照明装置
11か月前
厦門普為光電科技有限公司
リアルタイム照度一定調整システム及びその方法
7か月前
厦門普為光電科技有限公司
光減衰補償機能を備えた照明装置およびその方法
11か月前
厦門普為光電科技有限公司
電磁干渉抑制機能を備えたフライバックコンバータ
5か月前
厦門普為光電科技有限公司
故障検出及びセルフロック制御機能を備えた照明器具
4か月前
厦門普為光電科技有限公司
マルチチャンネル照明制御システム及びその制御方法
3か月前
厦門普為光電科技有限公司
スイッチング機構を備えた照明装置用電源供給システム
10か月前
厦門普為光電科技有限公司
駆動効率を向上させる多段チップ給電機構を有する照明装置
5か月前
厦門普為光電科技有限公司
負荷インピーダンス整合検出機能を備えた外付け電源供給器
4か月前
厦門普為光電科技有限公司
ブルートゥース及びユーザデータグラムプロトコルに基づくローカルエリアネットワーク制御システム及びその方法
5か月前
個人
室外機器
5か月前
個人
照明装置
17日前
個人
照明システム
4か月前
個人
車載機器の通気構造
2か月前
続きを見る
他の特許を見る