TOP
|
特許
|
意匠
|
商標
特許ウォッチ
Twitter
他の特許を見る
10個以上の画像は省略されています。
公開番号
2025049879
公報種別
公開特許公報(A)
公開日
2025-04-04
出願番号
2023158360
出願日
2023-09-22
発明の名称
発光装置の製造方法及び発光装置
出願人
日亜化学工業株式会社
代理人
個人
,
個人
主分類
H10H
20/857 20250101AFI20250327BHJP()
要約
【課題】発光素子の移載の信頼性が高い発光装置の製造方法及び発光装置を提供する。
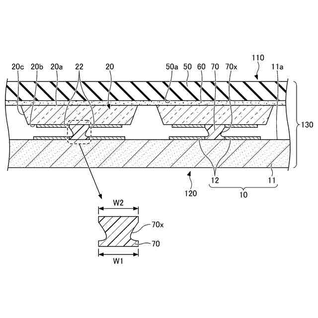
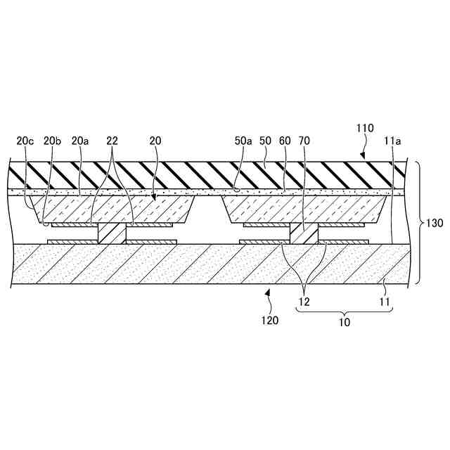
【解決手段】支持基板50と、支持基板の第1主面50aに配置される接着層60と、一対の素子電極22が配置された第2面20bの反対側にある第1面20aと接着層とが接して配置される複数の発光素子20と、を備える第1構造体110を準備する工程と、基材11と、基材の上面に配置される複数の一対の配線12と、を有する基板10と、基材の上面において、一対の配線間に配置されるとともに、配線の厚みよりも厚い接合部材70と、を備える第2構造体120を準備する工程と、第1構造体の一対の素子電極と、第2構造体の一対の配線と、を対向させて、第1温度で加熱した状態で、発光素子と基板とを接合部材を介して接合させることにより、第3構造体130を得る工程と、第1温度以上の第2温度で加熱する工程と、第3構造体から支持基板を剥離する工程と、を備える。
【選択図】図2E
特許請求の範囲
【請求項1】
支持基板と、
前記支持基板の第1主面に配置される接着層と、
第1面と、前記第1面の反対側であって一対の素子電極が配置される第2面と、を有し、前記第1面と前記接着層とが接して配置される複数の発光素子と、を備える第1構造体を準備する工程と、
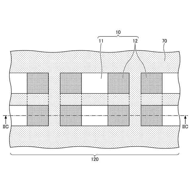
基材と、前記基材の上面に配置される複数の一対の配線と、を有する基板と、
前記基材の上面において、前記一対の配線間に配置されるとともに、前記配線の厚みよりも厚い接合部材と、を備える第2構造体を準備する工程と、
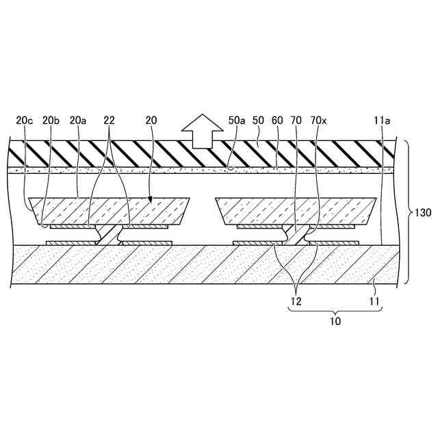
前記第1構造体の前記一対の素子電極と、前記第2構造体の前記一対の配線と、を対向させて、第1温度で加熱した状態で、前記発光素子と前記基板とを前記接合部材を介して接合させることにより、第3構造体を得る工程と、
前記第3構造体に対して、前記第1温度以上の第2温度で加熱する工程と、
前記第3構造体から前記支持基板を剥離する工程と、
を備える、発光装置の製造方法。
続きを表示(約 1,200 文字)
【請求項2】
前記第1構造体は複数あり、
前記第3構造体を得る工程は、前記第2構造体上に複数の前記第1構造体を配置する工程を有し、
複数の前記第1構造体を配置することにかかる時間は、0.5時間以上10時間以下である、
請求項1に記載の発光装置の製造方法。
【請求項3】
前記第3構造体を得る工程において、N個(Nは自然数)の前記第1構造体を順番に配置し、
前記第2温度で加熱する工程において、前記第2温度として、M-1番目(Mは2以上N以下の自然数)に配置した前記第1構造体よりもM番目に配置した前記第1構造体に対してより高い温度で加熱する、
請求項1に記載の発光装置の製造方法。
【請求項4】
前記第3構造体を得る工程において、
前記発光素子の前記一対の素子電極と、前記基板の前記一対の配線とは離隔して配置されており、
前記支持基板を剥離する工程の後に、前記発光素子の前記一対の素子電極と前記基板の前記一対の配線とを電気的に接続する金属めっきを形成する工程をさらに備える、
請求項1から3のいずれか1項に記載の発光装置の製造方法。
【請求項5】
前記金属めっきは、銅めっき又は金めっきである、
請求項4に記載の発光装置の製造方法。
【請求項6】
前記第2温度は、140℃以下である、
請求項5に記載の発光装置の製造方法。
【請求項7】
前記金属めっきを形成する工程の後に、前記接合部材を除去する工程をさらに備える、
請求項4に記載の発光装置の製造方法。
【請求項8】
前記発光素子の第1面および前記一対の素子電極を通るように切断した一断面視において、前記第2温度で加熱する工程後の前記接合部材の下面の幅に対する前記接合部材の上面の幅の比率は0.910以上である、
請求項1から3のいずれか1項に記載の発光装置の製造方法。
【請求項9】
基材と、前記基材上に配置される複数の一対の配線と、を有する基板と、
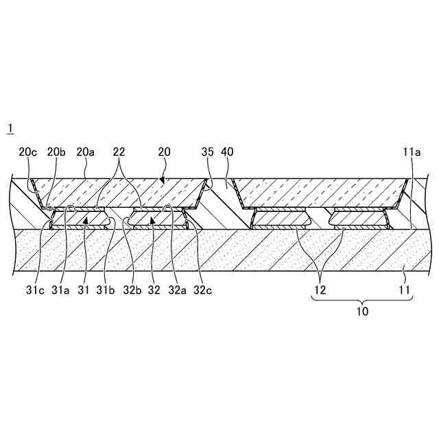
第1面と、前記第1面の反対側に一対の素子電極が配置される第2面と、を有し、且つ前記一対の素子電極と前記一対の配線とが対向して配置される複数の発光素子と、
前記発光素子の一対の素子電極と前記一対の配線とを電気的に接続する第1金属めっき部及び第2金属めっき部と、
を有し、
前記発光素子の第1面および前記一対の素子電極を通るように切断した一断面視で、
前記第1金属めっき部は、前記素子電極と接する上面と、前記上面の一端と繋がると共に前記第2金属めっき部側に位置する第1側面と、前記上面の他端と繋がると共に前記第1側面の反対側に位置する第2側面と、を有し、
前記第1側面の形状は、前記第2側面の形状と異なり、
前記第1側面は凸部を有する、発光装置。
発明の詳細な説明
【技術分野】
【0001】
本開示は、発光装置の製造方法及び発光装置に関する。
続きを表示(約 2,500 文字)
【背景技術】
【0002】
基材上に発光素子が載置された発光装置が知られている。このような発光装置の製造工程において、基材上に発光素子を移載する際には、例えば、基材上に接合部材を形成する工程と、発光素子をキャリア基材上に設けて発光素子搭載キャリア基材を準備する工程と、発光素子と接合部材とが対向するように接合部材上に発光素子搭載キャリア基材を設け、発光素子搭載キャリア基材からキャリア基材を剥離する工程とを実施する。
【先行技術文献】
【特許文献】
【0003】
特開2021-103774号公報
【発明の概要】
【発明が解決しようとする課題】
【0004】
本開示は、発光素子の移載の信頼性が高い発光装置の製造方法及び発光装置を提供することを目的とする。
【課題を解決するための手段】
【0005】
本開示の一実施形態に係る発光装置の製造方法は、支持基板と、前記支持基板の第1主面に配置される接着層と、第1面と、前記第1面の反対側であって一対の素子電極が配置される第2面と、を有し、前記第1面と前記接着層とが接して配置される複数の発光素子と、を備える第1構造体を準備する工程と、基材と、前記基材の上面に配置される複数の一対の配線と、を有する基板と、前記基材の上面において、前記一対の配線間に配置されるとともに、前記配線の厚みよりも厚い接合部材と、を備える第2構造体を準備する工程と、前記第1構造体の前記一対の素子電極と、前記第2構造体の前記一対の配線と、を対向させて、第1温度で加熱した状態で、前記発光素子と前記基板とを前記接合部材を介して接合させることにより、第3構造体を得る工程と、前記第3構造体に対して、前記第1温度以上の第2温度で加熱する工程と、前記第3構造体から前記支持基板を剥離する工程と、を備える。
【0006】
また、本開示の一実施形態に係る発光装置は、基材と、前記基材上に配置される複数の一対の配線と、を有する基板と、第1面と、前記第1面の反対側に一対の素子電極が配置される第2面と、を有し、且つ前記一対の素子電極と前記一対の配線とが対向して配置される複数の発光素子と、前記発光素子の一対の素子電極と前記一対の配線とを電気的に接続する第1金属めっき部及び第2金属めっき部と、を有し、前記発光素子の第1面および前記一対の素子電極を通るように切断した一断面視で、前記第1金属めっき部は、前記素子電極と接する上面と、前記上面の一端と繋がると共に前記第2金属めっき部側に位置する第1側面と、前記上面の他端と繋がると共に前記第1側面の反対側に位置する第2側面と、を有し、前記第1側面の形状は、前記第2側面の形状と異なり、前記第1側面は凸部を有する。
【発明の効果】
【0007】
本開示の一実施形態によれば、発光素子の移載の信頼性が高い発光装置の製造方法及び発光装置を提供することができる。
【図面の簡単な説明】
【0008】
本実施形態に係る発光装置を模式的に示す断面図である。
本実施形態に係る発光装置の製造方法の製造工程の一例を模式的に示す図(1)である。
本実施形態に係る発光装置の製造方法の製造工程の一例を模式的に示す図(2)である。
本実施形態に係る発光装置の製造方法の製造工程の一例を模式的に示す図(3)である。
本実施形態に係る発光装置の製造方法の製造工程の一例を模式的に示す図(4)である。
本実施形態に係る発光装置の製造方法の製造工程の一例を模式的に示す図(5)である。
本実施形態に係る発光装置の製造方法の製造工程の一例を模式的に示す図(6)である。
本実施形態に係る発光装置の製造方法の製造工程の一例を模式的に示す図(7)である。
本実施形態に係る発光装置の製造方法の製造工程の一例を模式的に示す図(8)である。
本実施形態に係る発光装置の製造方法の製造工程の一例を模式的に示す図(9)である。
本実施形態の変形例に係る発光装置の製造方法の製造工程の一例を模式的に示す平面図(1)である。
本実施形態の変形例に係る発光装置の製造方法の製造工程の一例を模式的に示す平面図(2)である。
本実施形態の変形例に係る発光装置の製造方法の製造工程の一例を模式的に示す平面図(3)である。
【発明を実施するための形態】
【0009】
以下、図面を参照して本開示に係る実施形態の製造方法、及び該製造方法により得られる発光装置(以下、「実施形態に係る発光装置」と呼ぶことがある)について説明する。なお、以下の説明では、必要に応じて特定の方向や位置を示す用語(例えば、「上」、「下」、及びそれらの用語を含む別の用語)を用いる。しかし、それらの用語の使用は図面を参照した発明の理解を容易にするためであって、それらの用語の意味によって本開示の技術的範囲が制限されるものではない。また、複数の図面に表れる同一符号の部分は同一もしくは同等の部分または部材を示す。
【0010】
また、以下に示す実施形態は、本開示の技術思想を具体化するための発光装置等を例示するものであって、本開示を以下に限定するものではない。また、以下に記載されている構成部品の寸法、材料、形状、その相対的配置等は、特定的な記載がない限り、本開示の範囲をそれのみに限定する趣旨ではなく、例示することを意図したものである。また、一の実施形態において説明する内容は、他の実施形態や変形例にも適用可能である。また、図面が示す部材の大きさや位置関係等は、説明を明確にするため、誇張している場合がある。さらに、図面が過度に複雑になることを避けるために、一部の要素の図示を省略した模式図を用いたり、断面図として切断面のみを示す端面図を用いたりすることがある。
(【0011】以降は省略されています)
特許ウォッチbot のツイートを見る
この特許をJ-PlatPat(特許庁公式サイト)で参照する
関連特許
日亜化学工業株式会社
発光装置
20日前
日亜化学工業株式会社
発光装置
27日前
日亜化学工業株式会社
発光素子
18日前
日亜化学工業株式会社
発光装置
28日前
日亜化学工業株式会社
発光素子
18日前
日亜化学工業株式会社
発光装置
21日前
日亜化学工業株式会社
半導体レーザ素子
29日前
日亜化学工業株式会社
垂直共振器面発光レーザ素子
18日前
日亜化学工業株式会社
軟磁性材料およびその製造方法
21日前
日亜化学工業株式会社
発光装置の製造方法及び発光装置
27日前
日亜化学工業株式会社
発光モジュール及びモバイルデバイス
18日前
日亜化学工業株式会社
照射装置、発光装置、及び紫外光の照射方法
18日前
日亜化学工業株式会社
透光性部材の製造方法、透光性部材、及び発光装置
5日前
日亜化学工業株式会社
発光装置
28日前
日亜化学工業株式会社
面状光源
1か月前
日亜化学工業株式会社
セラミックス基板及び発光装置、並びに、それらの製造方法
18日前
日亜化学工業株式会社
発光モジュール
11日前
日亜化学工業株式会社
発光装置および発光装置の製造方法
28日前
日亜化学工業株式会社
正極活物質及び非水電解質二次電池用正極
20日前
日亜化学工業株式会社
面発光装置、レンズ積層体及びその製造方法、面発光装置の製造方法、レンズ集合体の製造方法
20日前
日亜化学工業株式会社
波長ビーム結合装置、ダイレクトダイオードレーザ装置、およびレーザ加工機
5日前
個人
半導体装置
1か月前
個人
積和演算用集積回路
19日前
サンケン電気株式会社
半導体装置
18日前
東レ株式会社
太陽電池モジュール
1か月前
旭化成株式会社
発光素子
28日前
日機装株式会社
半導体発光装置
13日前
エイブリック株式会社
縦型ホール素子
1か月前
エイブリック株式会社
縦型ホール素子
1か月前
ローム株式会社
抵抗チップ
1か月前
富士通株式会社
半導体装置
1か月前
株式会社半導体エネルギー研究所
表示装置
1か月前
株式会社東芝
半導体装置
5日前
三菱電機株式会社
半導体装置
1か月前
富士電機株式会社
半導体装置
1か月前
三菱電機株式会社
半導体装置
27日前
続きを見る
他の特許を見る