TOP
|
特許
|
意匠
|
商標
特許ウォッチ
Twitter
他の特許を見る
10個以上の画像は省略されています。
公開番号
2025163229
公報種別
公開特許公報(A)
公開日
2025-10-28
出願番号
2025132175,2021143032
出願日
2025-08-07,2021-09-02
発明の名称
発光装置
出願人
日亜化学工業株式会社
代理人
弁理士法人ITOH
主分類
H01S
5/02257 20210101AFI20251021BHJP(基本的電気素子)
要約
【課題】小型化を可能とする発光装置を提供する。また、安全性の確保された小型の発光装置を実現する。
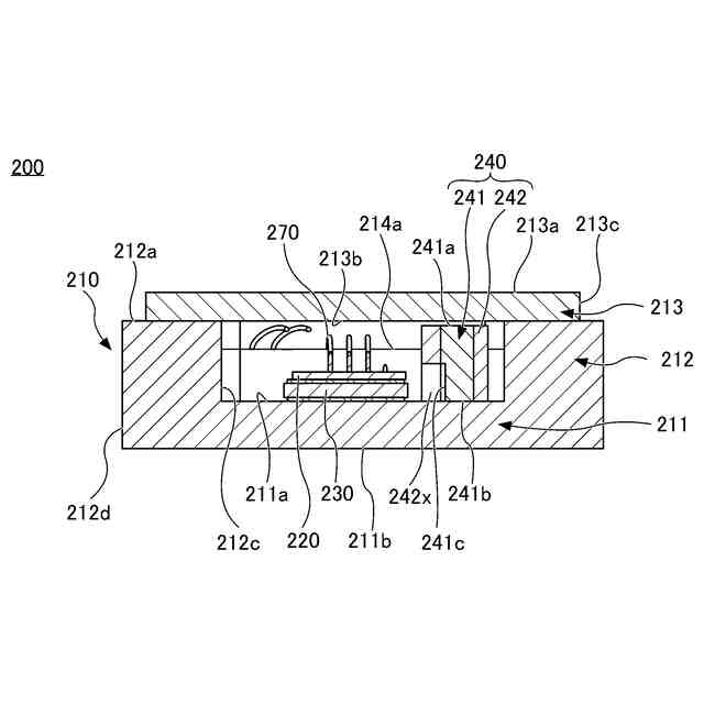
【解決手段】本発光装置は、基部と、枠部と、蓋部と、を有するパッケージと、基部の上面に配置され、枠部に囲まれ、側方に進む光を出射する発光素子と、基部に配置され、発光素子から出射される光が入射する第1側面と、光を出射する上面と、を有する波長変換部材と、を備え、枠部は、発光素子から出射される光を遮光する遮光部を有し、蓋部は、波長変換部材の上面から出射された光を透過させて外部に出射させる透光部を有し、遮光部は、光出射面から最も上方に向かって出射され波長変換部材に入射するまでの光路の延長線上に配置されており、透光部は、主要部分の光に関し、光出射面から最も上方に向かって出射され波長変換部材に入射するまでの光路の延長線上であって、延長線が遮光部と交わるよりも手前の線分上には配置されていない。
【選択図】図4
特許請求の範囲
【請求項1】
基部と、枠部と、蓋部と、を有するパッケージと、
前記基部の上面に配置され、前記枠部に囲まれ、側方に進む光を出射する発光素子と、
前記基部に配置され、前記発光素子の光出射面から出射される光が入射する第1側面と、光を出射する上面と、を有する波長変換部材と、
を備え、
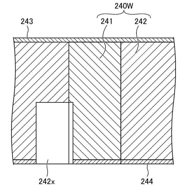
前記枠部は、前記発光素子から出射される光と同じ波長範囲の光を遮光する遮光部を有し、
前記蓋部は、前記波長変換部材の上面から出射された光を透過させて外部に出射させる透光部を有し、
前記遮光部は、前記枠部のうち、前記光出射面から出射された主要部分の光と重なる部分であって、前記光出射面から最も上方に向かって出射され前記波長変換部材に入射するまでの光路の延長線上よりも下部に配置されている、発光装置。
続きを表示(約 950 文字)
【請求項2】
前記パッケージはさらに、前記基部の上面よりも上方、かつ、前記枠部の上面よりも下方に位置する上面を有した段差部を有し、
前記段差部の上面には金属膜が設けられ、
前記発光素子は、配線を介して、前記金属膜と電気的に接続される、請求項1に記載の発光装置。
【請求項3】
前記段差部は、前記光出射面と交わる前記発光素子の2つの側面のうちの一方の側面と対向する位置に設けられ、かつ、他方の側面と対向する位置には設けられない、請求項2に記載の発光装置。
【請求項4】
前記発光素子が載置されるサブマウントをさらに有し、
前記発光素子は、上面視で、前記光出射面に平行な方向に関し、サブマウントの中央よりも前記段差部に近い領域に配置される、請求項2または3に記載の発光装置。
【請求項5】
前記発光素子は、上面視で、前記光出射面を含む平面と前記枠部の上面によって画定される枠とが交わる2点の中心を通り、前記光出射面に垂直な仮想線が通過する位置に配置される、請求項4に記載の発光装置。
【請求項6】
前記波長変換部材は、
前記第1側面と前記光が出射される上面とを有する波長変換部と、少なくとも前記波長変換部の前記第1側面以外の全ての側面を覆う光反射部と、を有する、請求項1から5のいずれか1項に記載の発光装置。
【請求項7】
前記光反射部はさらに、前記第1側面の一部を覆い、
前記光出射面から出射された光を前記第1側面に入射させる開口を画定する開口部を有する、請求項6に記載の発光装置。
【請求項8】
前記光反射部は、前記第1側面のうち、前記発光素子からの光が入射する領域の上方及び両側方を覆う、請求項7に記載の発光装置。
【請求項9】
前記波長変換部は、蛍光体を有する、請求項6から8のいずれか1項に記載の発光装置。
【請求項10】
前記波長変換部と前記光反射部はいずれも焼結体であり、セラミックスを主材料とし、一体的に形成されている、請求項6から9のいずれか1項に記載の発光装置。
(【請求項11】以降は省略されています)
発明の詳細な説明
【技術分野】
【0001】
本開示は、発光装置に関する。
続きを表示(約 1,900 文字)
【背景技術】
【0002】
特許文献1には、複数の半導体レーザ素子から出射された光を光反射部材で反射して光透過部に入射し、光透過部に入射した光を光透過部により異なる波長の光に変換して外部に出射する発光装置が開示されている。
【0003】
また、この発光装置では、安全性への配慮から、光透過部に割れなどの異常が発生したときの安全対策がなされている。具体的には、光透過部の周りを導電膜で囲い、導電膜に生じる電気的な接続状態の変化を検知することで光透過部の異常を検知するセンサが搭載されている。
【先行技術文献】
【特許文献】
【0004】
特開2020-144363号公報
【発明の概要】
【発明が解決しようとする課題】
【0005】
発光装置を構成する構成要素(部品)が多いほど発光装置は大型になりやすい。また、高出力化や安全対策など、高機能化や多機能化を追求すると、必要な構成要素も増えやすい。このような事情がありつつも、機能性とのバランスを取りながら、装置を小型化したいというニーズがある。
【課題を解決するための手段】
【0006】
本開示の一実施形態に係る発光装置は、基部と、枠部と、蓋部と、を有するパッケージと、前記基部の上面に配置され、前記枠部に囲まれ、側方に進む光を出射する発光素子と、前記基部に配置され、前記発光素子の光出射面から出射される光が入射する第1側面と、光を出射する上面と、を有する波長変換部材と、を備え、前記枠部は、前記発光素子から出射される光と同じ波長範囲の光を遮光する遮光部を有し、前記蓋部は、前記波長変換部材の上面から出射された光を透過させて外部に出射させる透光部を有し、前記遮光部は、前記光出射面から出射された主要部分の光に関し、前記光出射面から最も上方に向かって出射され前記波長変換部材に入射するまでの光路の延長線上に配置されており、前記透光部は、前記主要部分の光に関し、前記光出射面から最も上方に向かって出射され前記波長変換部材に入射するまでの光路の延長線上であって、前記延長線が前記遮光部と交わるよりも手前の線分上には配置されていない。
【発明の効果】
【0007】
本開示の一実施形態によれば、小型化を可能とする発光装置を提供できる。また、本開示の一実施形態によれば、安全性の確保された発光装置において、小型化を実現できる。
【図面の簡単な説明】
【0008】
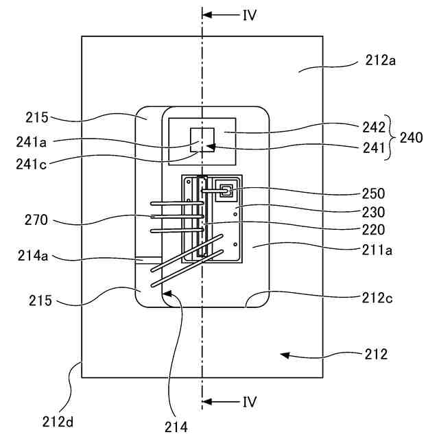
本実施形態に係る発光装置を例示する斜視図である。
本実施形態に係る発光装置の内部構造を説明するための斜視図である。
本実施形態に係る発光装置の内部構造を説明するための上面図である。
本実施形態に係る発光装置を例示する、図3のIV-IV線における断面図である。
本実施形態に係る光学部材の製造方法を例示する図(その1)である。
本実施形態に係る光学部材の製造方法を例示する図(その2)である。
本実施形態に係る光学部材の製造方法を例示する図(その3)である。
本実施形態に係る光学部材の製造方法を例示する図(その4)である。
本実施形態に係る光学部材の製造方法を例示する図(その5)である。
本実施形態に係る光学部材の製造方法を例示する図(その6)である。
図3の部分拡大図である。
遮光部について説明する図である。
【発明を実施するための形態】
【0009】
以下、図面を参照して発明を実施するための形態について説明する。なお、以下の説明では、必要に応じて特定の方向や位置を示す用語(例えば、「上」、「下」、及びそれらの用語を含む別の用語)を用いる。しかし、それらの用語の使用は図面を参照した発明の理解を容易にするためであって、それらの用語の意味によって本発明の技術的範囲が制限されるものではない。また、複数の図面に表れる同一符号の部分は同一もしくは同等の部分又は部材を示す。
【0010】
また、本開示において、三角形や四角形等の多角形に関しては、多角形の隅に角丸め、面取り、角取り、丸取り等の加工が施された形状も含めて、多角形と呼ぶものとする。また、隅(辺の端)に限らず、辺の中間部分に加工が施された形状も同様に、多角形と呼ぶものとする。つまり、多角形をベースに残しつつ、部分的な加工が施された形状は、本開示で記載される"多角形"の解釈に含まれるものとする。
(【0011】以降は省略されています)
この特許をJ-PlatPat(特許庁公式サイト)で参照する
関連特許
日亜化学工業株式会社
発光素子
26日前
日亜化学工業株式会社
発光装置
1か月前
日亜化学工業株式会社
発光装置
29日前
日亜化学工業株式会社
発光素子
26日前
日亜化学工業株式会社
発光装置
28日前
日亜化学工業株式会社
面状光源
6日前
日亜化学工業株式会社
光学薄膜の製造方法
5日前
日亜化学工業株式会社
垂直共振器面発光レーザ素子
26日前
日亜化学工業株式会社
軟磁性材料およびその製造方法
29日前
日亜化学工業株式会社
発光装置の製造方法及び発光装置
1か月前
日亜化学工業株式会社
発光モジュール及びモバイルデバイス
26日前
日亜化学工業株式会社
照射装置、発光装置、及び紫外光の照射方法
26日前
日亜化学工業株式会社
透光性部材の製造方法、透光性部材、及び発光装置
13日前
日亜化学工業株式会社
発光装置
1か月前
日亜化学工業株式会社
セラミックス基板及び発光装置、並びに、それらの製造方法
26日前
日亜化学工業株式会社
発光モジュール
19日前
日亜化学工業株式会社
正極活物質及び非水電解質二次電池用正極
28日前
日亜化学工業株式会社
面発光装置、レンズ積層体及びその製造方法、面発光装置の製造方法、レンズ集合体の製造方法
28日前
日亜化学工業株式会社
波長ビーム結合装置、ダイレクトダイオードレーザ装置、およびレーザ加工機
13日前
APB株式会社
蓄電セル
1か月前
東ソー株式会社
絶縁電線
1か月前
株式会社東芝
端子台
1か月前
ローム株式会社
半導体装置
1か月前
日新イオン機器株式会社
イオン源
1か月前
マクセル株式会社
電源装置
1か月前
株式会社GSユアサ
蓄電装置
1か月前
株式会社GSユアサ
蓄電設備
1か月前
株式会社GSユアサ
蓄電装置
1か月前
富士電機株式会社
電磁接触器
13日前
株式会社GSユアサ
蓄電設備
1か月前
太陽誘電株式会社
コイル部品
1か月前
三菱電機株式会社
回路遮断器
21日前
株式会社GSユアサ
蓄電装置
13日前
株式会社GSユアサ
蓄電装置
27日前
株式会社ホロン
冷陰極電子源
1か月前
トヨタ自動車株式会社
バッテリ
1か月前
続きを見る
他の特許を見る