TOP
|
特許
|
意匠
|
商標
特許ウォッチ
Twitter
他の特許を見る
10個以上の画像は省略されています。
公開番号
2025159147
公報種別
公開特許公報(A)
公開日
2025-10-17
出願番号
2025135924,2024158491
出願日
2025-08-18,2020-12-15
発明の名称
面状光源
出願人
日亜化学工業株式会社
代理人
弁理士法人ITOH
主分類
F21S
2/00 20160101AFI20251009BHJP(照明)
要約
【課題】平面形状が異形形状である面状光源において、周縁に発生する輝度ムラを抑制する。
【解決手段】本面状光源は、実装基板と、平面視で、前記実装基板上に2次元に配列された複数の光源と、前記実装基板を囲む第1底部及び側壁を有する枠体と、前記側壁に配置された波長変換部材と、前記複数の光源と前記波長変換部材の上方に配置された光拡散板と、を有し、前記波長変換部材と前記複数の光源のうちの最外側に配置される前記光源との間の距離が、前記複数の光源のうちの隣接する2つの前記光源間の距離よりも大きい。
【選択図】図18B
特許請求の範囲
【請求項1】
実装基板と、
平面視で、前記実装基板上に2次元に配列された複数の光源と、
前記実装基板を囲む第1底部及び側壁を有する枠体と、
前記側壁に配置された波長変換部材と、
前記複数の光源と前記波長変換部材の上方に配置された光拡散板と、を有し、
前記波長変換部材と前記複数の光源のうちの最外側に配置される前記光源との間の距離が、前記複数の光源のうちの隣接する2つの前記光源間の距離よりも大きい面状光源。
続きを表示(約 130 文字)
【請求項2】
前記側壁は、前記実装基板の上面に対して垂直である請求項1に記載の面状光源。
【請求項3】
前記光拡散板は、最外側に配置される前記光源と前記側壁との間の領域において、他の領域よりも板厚が薄い部分を含む請求項1又は2に記載の面状光源。
発明の詳細な説明
【技術分野】
【0001】
本開示は、面状光源に関する。
続きを表示(約 2,000 文字)
【背景技術】
【0002】
発光ダイオード等の発光素子を用いた面状光源は、液晶表示装置のバックライトやディスプレイ等の各種の光源として広く利用されている。
【0003】
このような面状光源の一例として、2次元に配列された発光素子と、各々の発光素子の上方に配置された光拡散板とを備える構成が挙げられる。この面状光源において、光拡散板は、発光素子の発光部からの光を拡散するための拡散粒子を含み、発光素子側の表面のうち、少なくとも発光素子の発光部に対応する領域において発光素子側になだらかな曲面状に突出する凸部が一体的に形成されている。
【先行技術文献】
【特許文献】
【0004】
特開2012-221779号公報
【発明の概要】
【発明が解決しようとする課題】
【0005】
本開示は、平面形状が異形形状である面状光源において、周縁に発生する輝度ムラの抑制を目的とする。
【課題を解決するための手段】
【0006】
本開示の一実施形態に係る面状光源は、実装基板と、平面視で、前記実装基板上に2次元に配列された複数の光源と、前記実装基板を囲む第1底部及び側壁を有する枠体と、前記側壁に配置された波長変換部材と、前記複数の光源と前記波長変換部材の上方に配置された光拡散板と、を有し、前記波長変換部材と前記複数の光源のうちの最外側に配置される前記光源との間の距離が、前記複数の光源のうちの隣接する2つの前記光源間の距離よりも大きい。
【発明の効果】
【0007】
本開示の一実施形態によれば、平面形状が異形形状である面状光源において、周縁に発生する輝度ムラを抑制できる。
【図面の簡単な説明】
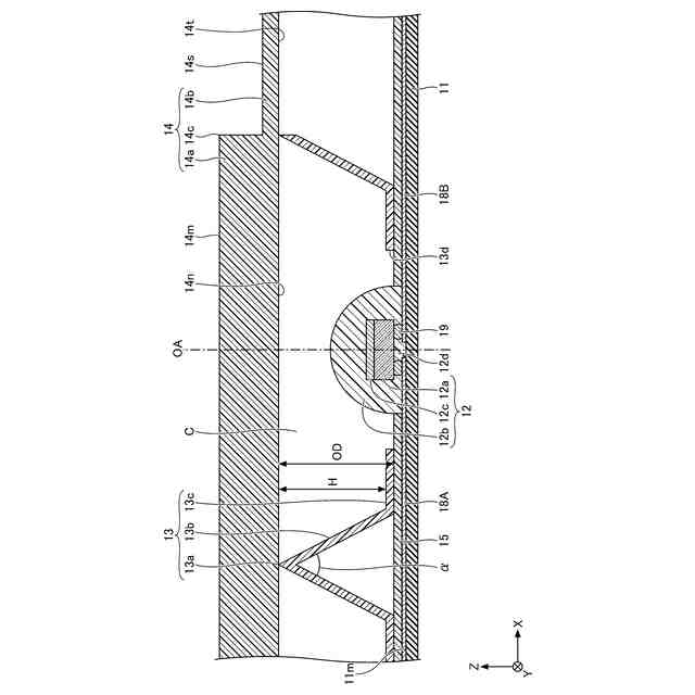
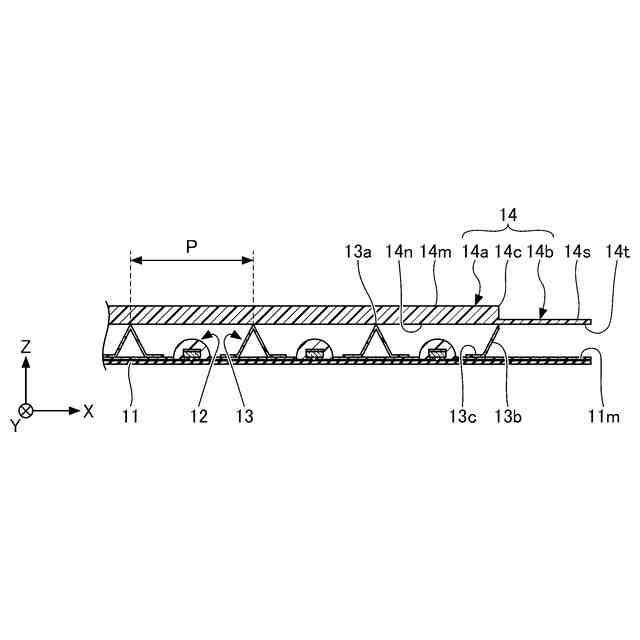
【0008】
第1実施形態に係る面状光源を例示する模式平面図である。
図1のE部の模式部分拡大平面図である。
図2のA-A線に沿う断面図である。
第1実施形態に係る面状光源における各光源の配置を例示する平面模式図である。
第1実施形態に係る面状光源における光拡散板を例示する平面模式図である。
図3の光源近傍の部分拡大断面図である。
薄板部の幅について説明する模式平面図(その1)である。
薄板部の幅について説明する模式平面図(その2)である。
光拡散板に関するシミュレーションの結果を示す図(その1)である。
光拡散板に関するシミュレーションの結果を示す図(その2)である。
光学部材の配置について説明する模式断面図である。
第1実施形態の変形例1に係る面状光源における光拡散板を例示する模式部分拡大断面図(その1)である。
第1実施形態の変形例1に係る面状光源における光拡散板を例示する模式部分拡大断面図(その2)である。
第1実施形態の変形例1に係る面状光源における光拡散板を例示する模式部分拡大断面図(その3)である。
図14の光拡散板を例示する平面模式図である。
第1実施形態の変形例2に係る区画部材の模式部分拡大平面図である。
図16のB-B線に沿う断面図である。
面状光源の外縁近傍の模式部分拡大断面図(その1)である。
面状光源の外縁近傍の模式部分拡大断面図(その2)である。
第1実施形態の変形例3に係る面状光源における基板の外形について説明する平面模式図である。
第2実施形態に係る液晶表示装置を例示する構成図である。
【発明を実施するための形態】
【0009】
以下、図面を参照して発明を実施するための形態について説明する。なお、以下の説明では、必要に応じて特定の方向や位置を示す用語(例えば、「上」、「下」、及びそれらの用語を含む別の用語)を用いる。しかし、それらの用語の使用は図面を参照した発明の理解を容易にするためであって、それらの用語の意味によって本発明の技術的範囲が制限されるものではない。又、複数の図面に表れる同一符号の部分は同一もしくは同等の部分又は部材を示す。
【0010】
更に、以下に示す実施形態は、本発明の技術思想を具体化するための面状光源を例示するものであって、本発明を以下に限定するものではない。又、以下に記載されている構成部品の寸法、材質、形状、その相対的配置等は、特定的な記載がない限り、本発明の範囲をそれのみに限定する趣旨ではなく、例示することを意図したものである。又、一の実施形態において説明する内容は、他の実施形態や変形例にも適用可能である。又、図面が示す部材の大きさや位置関係等は、説明を明確にするため、誇張している場合がある。
(【0011】以降は省略されています)
この特許をJ-PlatPat(特許庁公式サイト)で参照する
関連特許
日亜化学工業株式会社
発光装置
21日前
日亜化学工業株式会社
発光素子
18日前
日亜化学工業株式会社
発光装置
28日前
日亜化学工業株式会社
発光素子
18日前
日亜化学工業株式会社
発光装置
27日前
日亜化学工業株式会社
発光装置
20日前
日亜化学工業株式会社
半導体レーザ素子
29日前
日亜化学工業株式会社
配置部材、及び、発光装置
1か月前
日亜化学工業株式会社
垂直共振器面発光レーザ素子
18日前
日亜化学工業株式会社
軟磁性材料およびその製造方法
21日前
日亜化学工業株式会社
発光装置の製造方法及び発光装置
27日前
日亜化学工業株式会社
発光モジュール及びモバイルデバイス
18日前
日亜化学工業株式会社
光源、発光モジュール、及び携帯端末
1か月前
日亜化学工業株式会社
照射装置、発光装置、及び紫外光の照射方法
18日前
日亜化学工業株式会社
透光性部材の製造方法及び発光装置の製造方法
1か月前
日亜化学工業株式会社
透光性部材の製造方法、透光性部材、及び発光装置
5日前
日亜化学工業株式会社
セラミックス基板の製造方法及び発光装置の製造方法
1か月前
日亜化学工業株式会社
発光装置
28日前
日亜化学工業株式会社
面状光源
1か月前
日亜化学工業株式会社
発光装置
1か月前
日亜化学工業株式会社
セラミックス基板及び発光装置、並びに、それらの製造方法
18日前
日亜化学工業株式会社
発光モジュール
11日前
日亜化学工業株式会社
発光装置および発光装置の製造方法
28日前
日亜化学工業株式会社
正極活物質及び非水電解質二次電池用正極
20日前
日亜化学工業株式会社
面発光装置、レンズ積層体及びその製造方法、面発光装置の製造方法、レンズ集合体の製造方法
20日前
日亜化学工業株式会社
波長ビーム結合装置、ダイレクトダイオードレーザ装置、およびレーザ加工機
5日前
個人
室外機器
5か月前
個人
照明装置
18日前
個人
照明システム
4か月前
個人
車載機器の通気構造
2か月前
個人
消火器設置表示装置
29日前
個人
気泡を用いた遊具。
7か月前
株式会社遠藤照明
照明器具
6か月前
株式会社遠藤照明
照明装置
2か月前
個人
LEDライト
4か月前
デンカ株式会社
照明装置
5か月前
続きを見る
他の特許を見る