TOP
|
特許
|
意匠
|
商標
特許ウォッチ
Twitter
他の特許を見る
10個以上の画像は省略されています。
公開番号
2025170122
公報種別
公開特許公報(A)
公開日
2025-11-14
出願番号
2025152319,2021206658
出願日
2025-09-12,2021-12-21
発明の名称
発光モジュール
出願人
日亜化学工業株式会社
代理人
主分類
H01S
5/40 20060101AFI20251107BHJP(基本的電気素子)
要約
【課題】 複数の発光装置が実装された発光モジュールを実現する。
【解決手段】 配線基板と、第1実装面を有し、配線基板と電気的に接続する第1基体と、第2実装面を有し、配線基板と電気的に接続する第2基体と、第1実装面において並べて配置される3以上の第1サブマウントと、第2実装面において並べて配置される4以上の第2サブマウントと、第1サブマウントに配置される3以上の第1発光素子と、第2サブマウントに配置される4以上の第2発光素子と、を備え、第1実装面において第1サブマウントが並ぶ方向である第1方向における第1サブマウントの長さは、第2実装面において前記第2サブマウントが並ぶ方向である第2方向における第2サブマウントの長さよりも大きい、発光モジュール。
【選択図】 図1
特許請求の範囲
【請求項1】
上面に第1接続パターン及び第2接続パターンが設けられた配線基板と、
赤色の光を出射する複数の第1半導体レーザ素子と、前記複数の第1半導体レーザ素子が配置される第1実装面を有し、前記配線基板の前記第1接続パターンに接合され、前記複数の第1半導体レーザ素子及び前記配線基板と電気的に接続する第1基体と、を有する第1発光装置と、
緑色の光を出射する複数の第2半導体レーザ素子と、青色の光を出射する1以上の第3半導体レーザ素子と、前記複数の第2半導体レーザ素子及び1以上の第3半導体レーザ素子が配置される第2実装面を有し、前記配線基板に前記第2接続パターンに接合され、前記複数の第2半導体レーザ素子、前記1以上の半導体レーザ素子、及び前記配線基板と電気的に接続する第2基体と、を有する第2発光装置と、
を備え、
前記複数の第1半導体レーザ素子の数は前記複数の第2半導体レーザ素子の数よりも多く、前記複数の第2半導体レーザ素子の数は前記1以上の半導体レーザ素子の数よりも多い、発光モジュール。
続きを表示(約 1,800 文字)
【請求項2】
前記複数の第1半導体レーザ素子は、第1方向に並んで配置され、
前記複数の第2半導体レーザ素子及び1以上の第3半導体レーザ素子は、第2方向に並んで配置され、
前記第1基体の前記第1方向の長さは、前記第2基体の前記第2方向の長さの90%以上105%以下である、請求項1に記載の発光モジュール。
【請求項3】
前記第1基体と前記第2基体は、同じ大きさ及び形状である、請求項1または2に記載の発光モジュール。
【請求項4】
前記第1基体は、互いに対向する第1内側面及び第2内側面と、前記第1内側面に沿って形成され上面に配線パターンが設けられる第1段差部と、前記第2内側面に沿って形成され上面に配線パターンが設けられる第2段差部と、を有し、
前記第2基体は、互いに対向する第1内側面及び第2内側面と、前記第2基体の前記第1内側面に沿って形成され上面に複数の配線パターンが設けられる第1段差部と、前記第2基体の前記第2内側面に沿って形成され上面に複数の配線パターンが設けられる第2段差部と、を有し、
前記複数の第1半導体レーザ素子は、前記第1基体の前記第1段差部の前記上面に設けられた前記配線パターンと、前記第1基体の前記第2段差部の前記上面に設けられた前記配線パターンと、に電気的に接続し、
前記複数の第2半導体レーザ素子は、前記第2基体の前記第1段差部の前記上面に設けられた前記複数の配線パターンと電気的に接続し、
前記1以上の第3半導体レーザ素子は、前記第2基体の前記第2段差部の前記上面に設けられた前記複数の配線パターンと電気的に接続する、請求項1乃至3のいずれか一項に記載の発光モジュール。
【請求項5】
前記複数の第1半導体レーザ素子の数は、前記複数の第2第2半導体レーザ素子及び1以上の第3半導体レーザ素子の数よりも少ない、請求項1乃至4のいずれか一項に記載の発光モジュール。
【請求項6】
前記第1発光装置は、それぞれに、前記第1半導体レーザ素子が配置される複数の第1サブマウントをさらに有し、
前記第2発光装置は、それぞれに、前記第2半導体レーザ素子または前記第3半導体レーザ素子が配置される複数の第2サブマウントをさらに有し、
前記複数の第1サブマウントは、それぞれ同じ大きさ及び形状のサブマウントであり、
前記複数の第2サブマウントは、それぞれ同じ大きさ及び形状のサブマウントである、請求項1乃至5のいずれか一項に記載の発光モジュール。
【請求項7】
前記第1サブマウントと前記第2サブマウントは、互いに大きさ及び形状が異なる、請求項6に記載の発光モジュール。
【請求項8】
前記第1発光装置は、それぞれが、前記第1半導体レーザ素子から出射された光を反射する複数の第1反射部材をさらに有し、
前記第2発光装置は、それぞれが、前記第2半導体レーザ素子または前記第3半導体レーザ素子から出射された光を反射する複数の第2反射部材をさらに有し、
前記複数の第1反射部材は、それぞれ同じ大きさ及び形状の反射部材であり、
前記複数の第2反射部材は、それぞれ同じ大きさ及び形状の反射部材であり、
前記第1反射部材と前記第2反射部材は、互いに同じ大きさ及び形状である、請求項6または7に記載の発光モジュール。
【請求項9】
前記第1発光装置は、前記第1基体に接合される第1蓋部材をさらに有し、
前記第2発光装置は、前記第2基体に接合される第2蓋部材をさらに有し、
を備え、
前記複数の第1半導体レーザ素子は、前記第1基体と前記第1蓋部材とにより画定される封止空間に配置され、
前記複数の第2半導体レーザ素子及び1以上の第3半導体レーザ素子は、前記第2基体と前記第2蓋部材とにより画定される封止空間に配置され、
前記第1蓋部材と前記第2蓋部材は、同じ大きさ及び形状である、請求項1乃至8のいずれか一項に記載の発光モジュール。
【請求項10】
前記第1発光装置からは、青色及び緑色の光は出社されず、
前記第2発光装置からは、赤色の光は出社されない、請求項1乃至9のいずれか一項に記載の発光モジュール。
発明の詳細な説明
【技術分野】
【0001】
本発明は、発光モジュールに関する。
続きを表示(約 2,600 文字)
【背景技術】
【0002】
特許文献1には、形状の同じパッケージに異なる数のレーザ素子が実装された第1発光装置と第2発光装置を1つの配線基板に実装した発光モジュールが開示されている。
【先行技術文献】
【特許文献】
【0003】
特開2020-95939
【発明の概要】
【発明が解決しようとする課題】
【0004】
発光モジュールから出射させる光の態様に応じて、第1発光装置に実装される複数の発光素子の実装態様と、第2発光装置に実装される複数の発光素子の実装態様とを、工夫する余地がある。
【課題を解決するための手段】
【0005】
実施形態に開示される発光モジュールは、上面に第1接続パターン及び第2接続パターンが設けられた配線基板と、第1実装面を有し、前記配線基板の前記第1配線パターンに接合され、前記配線基板と電気的に接続する第1基体と、第2実装面を有し、前記第2接続パターンに接合され、前記配線基板と電気的に接続する第2基体と、前記第1実装面において並べて配置される複数の第1サブマウントと、前記第2実装面において並べて配置される複数の第2サブマウントと、それぞれが前記第1サブマウントに配置される複数の第1発光素子と、それぞれが前記第2サブマウントに配置される複数の第2発光素子と、を備え、前記複数の第1サブマウントは、3以上の前記第1サブマウントを含み、前記複数の第2サブマウントは、前記第1実装面に配置される前記第1サブマウントの数よりも1以上多い数の前記第2サブマウントを含み、前記複数の第1発光素子は、3以上の前記第1発光素子を含み、前記複数の第2発光素子は、前記第1実装面に配置される前記第1発光素子の数よりも1以上多い数の前記第2発光素子を含み、前記第1実装面において前記第1サブマウントが並ぶ方向である第1方向における前記第1サブマウントの長さは、前記第2実装面において前記第2サブマウントが並ぶ方向である第2方向における前記第2サブマウントの長さよりも大きい。
【0006】
実施形態によって開示される1または複数の発明の少なくとも一つにおいて、効率的に光を出射する発光モジュールを実現できるという効果が期待される。
【図面の簡単な説明】
【0007】
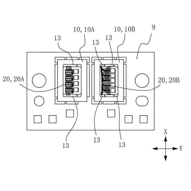
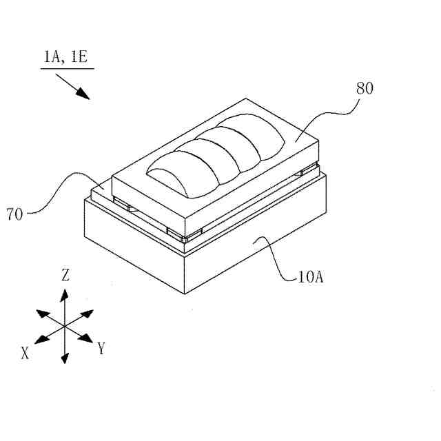
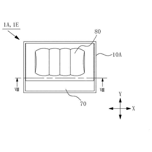
図1は、第1実施形態乃至第4実施形態に係る発光モジュールの斜視図である。
図2は、第1実施形態乃至第4実施形態に係る発光モジュールの上面図である。
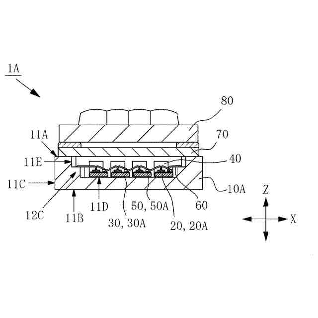
図3は、図2のIII-III断面線における断面図である。
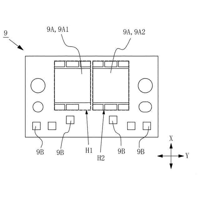
図4は、第1実施形態乃至第4実施形態に係る配線基板の上面図である。
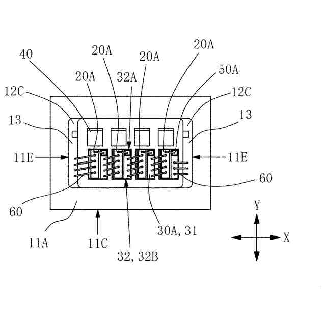
図5は、第1実施形態に係る発光モジュールにおいて、第1発光装置及び第2発光装置の内部に配置される各構成要素を説明するための上面図である。
図6は、各実施形態に係る第1発光装置の斜視図である。
図7は、各実施形態に係る第1発光装置の上面図である。
図8は、図7のVIII-VIII断面線における、第1実施形態乃至第3実施形態、及び、第5実施形態に係る第1発光装置の断面図である。
図9は、第1実施形態乃至第3実施形態、及び、第5実施形態に係る第1発光装置の内部に配置される各構成要素を説明するための上面図である。
図10は、各実施形態に係る第2発光装置の斜視図である。
図11は、各実施形態に係る第2発光装置の上面図である。
図12は、図11のXII-XII断面線における、第1実施形態に係る第2発光装置の断面図である。
図13は、第1実施形態に係る第1発光装置の内部に配置される各構成要素を説明するための上面図である。
図14は、第2実施形態に係る発光モジュールにおいて、第1発光装置及び第2発光装置の内部に配置される各構成要素を説明するための上面図である。
図15は、図11のXV-XV断面線における第2実施形態に係る第2発光装置の断面図である。
図16は、第2実施形態に係る第2発光装置の内部に配置される各構成要素を説明するための上面図である。
図17は、第3実施形態に係る発光モジュールにおいて、第1発光装置及び第2発光装置の内部に配置される各構成要素を説明するための上面図である。
図18は、図11のXVIII-XVIII断面線における第3実施形態に係る第2発光装置の断面図である。
図19は、第3実施形態に係る第2発光装置の内部に配置される各構成要素を説明するための上面図である。
図20は、第4実施形態に係る第1発光装置の内部に配置される各構成要素を説明するための上面図である。
図21は、第5実施形態に係る発光モジュールの上面図である。
図22は、第5実施形態に係る配線基板の上面図である。
【発明を実施するための形態】
【0008】
本明細書または特許請求の範囲において、三角形や四角形などの多角形に関しては、多角形の隅に角丸め、面取り、角取り、丸取り等の加工が施された形状も含めて、多角形と呼ぶものとする。また、隅(辺の端)に限らず、辺の中間部分に加工が施された形状も同様に、多角形と呼ぶものとする。つまり、多角形をベースに残しつつ、部分的な加工が施された形状は、本明細書及び特許請求の範囲で記載される“多角形”の解釈に含まれるものとする。
【0009】
また、多角形に限らず、台形や円形や凹凸など、特定の形状を表す言葉についても同様である。また、その形状を形成する各辺を扱う場合も同様である。つまり、ある辺において、隅や中間部分に加工が施されていたとしても、“辺”の解釈には加工された部分も含まれる。なお、部分的な加工のない“多角形”や“辺”を、加工された形状と区別する場合は“厳密な”を付して、例えば、“厳密な四角形”などと記載するものとする。
【0010】
また、本明細書または特許請求の範囲において、上下、左右、表裏、前後、手前と奥などの記載は、相対的な位置、向き、方向などの関係を述べるに過ぎず、使用時における関係と一致していなくてもよい。
(【0011】以降は省略されています)
この特許をJ-PlatPat(特許庁公式サイト)で参照する
関連特許
日亜化学工業株式会社
発光装置
3日前
日亜化学工業株式会社
発光素子
1か月前
日亜化学工業株式会社
発光装置
1か月前
日亜化学工業株式会社
面状光源
11日前
日亜化学工業株式会社
発光装置
1か月前
日亜化学工業株式会社
発光装置
1か月前
日亜化学工業株式会社
発光素子
1か月前
日亜化学工業株式会社
発光装置
1か月前
日亜化学工業株式会社
半導体レーザ素子
1か月前
日亜化学工業株式会社
光学薄膜の製造方法
10日前
日亜化学工業株式会社
垂直共振器面発光レーザ素子
1か月前
日亜化学工業株式会社
軟磁性材料およびその製造方法
1か月前
日亜化学工業株式会社
発光装置の製造方法及び発光装置
1か月前
日亜化学工業株式会社
蓋部材及びその製造方法、発光装置
3日前
日亜化学工業株式会社
発光モジュール及びモバイルデバイス
1か月前
日亜化学工業株式会社
照射装置、発光装置、及び紫外光の照射方法
1か月前
日亜化学工業株式会社
透光性部材の製造方法、透光性部材、及び発光装置
18日前
日亜化学工業株式会社
発光装置
1か月前
日亜化学工業株式会社
発光装置
5日前
日亜化学工業株式会社
面状光源
1か月前
日亜化学工業株式会社
セラミックス基板及び発光装置、並びに、それらの製造方法
1か月前
日亜化学工業株式会社
発光モジュール
24日前
日亜化学工業株式会社
波長変換部材、光源モジュール、及び、波長変換部材の製造方法
5日前
日亜化学工業株式会社
発光装置および発光装置の製造方法
1か月前
日亜化学工業株式会社
正極活物質及び非水電解質二次電池用正極
1か月前
日亜化学工業株式会社
面発光装置、レンズ積層体及びその製造方法、面発光装置の製造方法、レンズ集合体の製造方法
1か月前
日亜化学工業株式会社
波長ビーム結合装置、ダイレクトダイオードレーザ装置、およびレーザ加工機
18日前
東ソー株式会社
絶縁電線
1か月前
APB株式会社
蓄電セル
1か月前
日機装株式会社
加圧装置
3日前
ローム株式会社
半導体装置
1か月前
日新イオン機器株式会社
イオン源
3日前
株式会社東芝
端子台
1か月前
マクセル株式会社
電源装置
1か月前
株式会社GSユアサ
蓄電装置
1か月前
株式会社GSユアサ
蓄電装置
1か月前
続きを見る
他の特許を見る