TOP
|
特許
|
意匠
|
商標
特許ウォッチ
Twitter
他の特許を見る
10個以上の画像は省略されています。
公開番号
2025175795
公報種別
公開特許公報(A)
公開日
2025-12-03
出願番号
2024082060
出願日
2024-05-20
発明の名称
波長変換部材、光源モジュール、及び、波長変換部材の製造方法
出願人
日亜化学工業株式会社
代理人
弁理士法人iX
主分類
G02B
5/20 20060101AFI20251126BHJP(光学)
要約
【課題】照射の解像度が高い波長変換部材、光源モジュール、及び、波長変換部材の製造方法を提供する。
【解決手段】波長変換部材は、第1面と、前記第1面とは異なる第2面と、を有する透光性部材と、前記第1面上に配置され、第1光の少なくとも一部を透過させ、波長が前記第1光の波長よりも長い第2光の少なくとも一部を反射する光学部材と、前記光学部材上に配置された波長変換部と、を備える。前記波長変換部は、前記第1光を吸収して前記第2光を放射する複数の蛍光体粒子と、前記複数の蛍光体粒子の表面の少なくとも一部を被覆するガラス部と、を有する。前記蛍光体粒子同士は前記ガラス部を介して結合している。前記蛍光体粒子間には空気部が形成されている。
【選択図】図3
特許請求の範囲
【請求項1】
第1面と、前記第1面とは異なる第2面と、を有する透光性部材と、
前記第1面上に配置され、第1光の少なくとも一部を透過させ、波長が前記第1光の波長よりも長い第2光の少なくとも一部を反射する光学部材と、
前記光学部材上に配置された波長変換部と、
を備え、
前記波長変換部は、
前記第1光を吸収して前記第2光を放射する複数の蛍光体粒子と、
前記複数の蛍光体粒子の表面の少なくとも一部を被覆するガラス部と、
を有し、
前記蛍光体粒子同士は前記ガラス部を介して結合しており、
前記蛍光体粒子間には空気部が形成されている波長変換部材。
続きを表示(約 830 文字)
【請求項2】
前記波長変換部の表面粗さは10μm以下である請求項1に記載の波長変換部材。
【請求項3】
前記透光性部材の厚さは100μm以上300μm以下であり、
前記波長変換部の厚さは10μm以上30μm以下である請求項1に記載の波長変換部材。
【請求項4】
前記波長変換部の一断面における前記蛍光体粒子の占有率は30%以上60%以下である請求項1に記載の波長変換部材。
【請求項5】
前記第1光のピーク波長は440nm以上545nm以下の範囲内にあり、
前記第2光のピーク波長は575nm以上650nm以下の範囲内にあり、
前記光学部材における前記第1光の透過率は90%以上であり、
前記光学部材における前記第2光の反射率は90%以上である請求項1に記載の波長変換部材。
【請求項6】
前記第1光のピーク波長は440nm以上465nm以下の範囲内にあり、
前記光学部材における前記第1光の透過率は95%以上である請求項5に記載の波長変換部材。
【請求項7】
前記光学部材は、DBR膜である請求項1に記載の波長変換部材。
【請求項8】
前記透光性部材の前記第2面に接した反射防止膜をさらに備えた請求項1に記載の波長変換部材。
【請求項9】
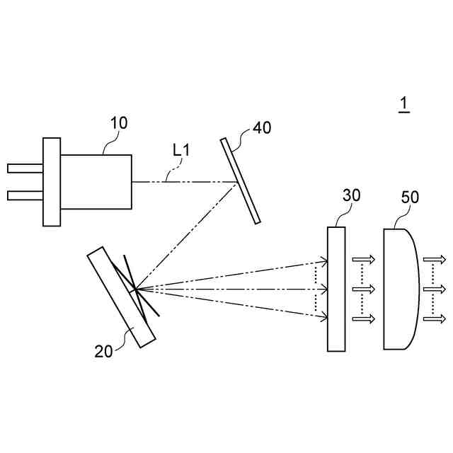
前記第1光を出射する発光素子と、
前記発光素子から出射した前記第1光の反射方向を制御する反射素子と、
前記反射素子によって反射された前記第1光が前記第2面に入射する請求項1~8のいずれか1つに記載の波長変換部材と、
を備えた光源モジュール。
【請求項10】
前記発光素子はレーザーダイオードであり、
前記反射素子はMEMSミラーである請求項9に記載の光源モジュール。
(【請求項11】以降は省略されています)
発明の詳細な説明
【技術分野】
【0001】
実施形態は、波長変換部材、光源モジュール、及び、波長変換部材の製造方法に関する。
続きを表示(約 2,300 文字)
【背景技術】
【0002】
近年、自動車のヘッドランプにおいて、選択した領域のみに光を照射する配光可変型ヘッドランプ(ADB:Adaptive Driving Beam)が開発されている。ADBをハイビームに適用することにより、例えば、対向車及び先行車等が存在する領域には投光せずに、それ以外の領域のみに投光することができる。これにより、他車の運転を妨害せずに、自車の運転者の視界を確保することができる。
【0003】
ADBを実現する方法として、レーザーダイオード(LD:Laser Diode)から出射した光をMEMS(Micro Electro Mechanical Systems)ミラーによって特定の方向に反射させる方法が考案されている。この方法では、光源の発光領域を狭小化できるため、光学系を小型化できる。しかしながら、MEMSミラーによって振り分けられた光が1枚の波長変換部材に入射するため、波長変換部材内において光が拡散し、照射の解像度が低下するという問題がある。
【先行技術文献】
【特許文献】
【0004】
特開2020-015355号公報
【発明の概要】
【発明が解決しようとする課題】
【0005】
実施形態は、上述の問題点に鑑みてなされたものであって、照射の解像度が高い波長変換部材、光源モジュール、及び、波長変換部材の製造方法を提供することを目的とする。
【課題を解決するための手段】
【0006】
実施形態に係る波長変換部材は、第1面と、前記第1面とは異なる第2面と、を有する透光性部材と、前記第1面上に配置され、第1光の少なくとも一部を透過させ、波長が前記第1光の波長よりも長い第2光の少なくとも一部を反射する光学部材と、前記光学部材上に配置された波長変換部と、を備える。前記波長変換部は、前記第1光を吸収して前記第2光を放射する複数の蛍光体粒子と、前記複数の蛍光体粒子の表面の少なくとも一部を被覆するガラス部と、を有する。前記蛍光体粒子同士は前記ガラス部を介して結合している。前記蛍光体粒子間には空気部が形成されている。
【0007】
実施形態に係る光源モジュールは、前記第1光を出射する発光素子と、前記発光素子から出射した前記第1光の反射方向を制御する反射素子と、前記反射素子によって反射された前記第1光が前記第2面に入射する前記波長変換部材と、を備える。
【0008】
実施形態に係る波長変換部材の製造方法は、第1面と、前記第1面とは異なる第2面と、を有する透光性部材と、前記第1面上に配置され、第1光の少なくとも一部を透過させ、波長が前記第1光の波長よりも長い第2光の少なくとも一部を反射する光学部材と、を準備する工程と、前記光学部材上に、ポリシラザン及び複数の蛍光体粒子を含むスラリー材をスプレーする工程と、前記スラリー材を加熱することにより、前記ポリシラザンをシリカに転化させて、前記複数の蛍光体粒子を前記シリカを含むガラス部で被覆すると共に、前記蛍光体粒子間に空気部を形成する工程と、前記複数の蛍光体粒子及び前記ガラス部を含む構造体の表面を平坦化する工程と、を備える。
【発明の効果】
【0009】
実施形態によれば、照射の解像度が高い波長変換部材、光源モジュール、及び、波長変換部材の製造方法を実現できる。
【図面の簡単な説明】
【0010】
図1は、第1の実施形態に係る光源モジュールを示す図である。
図2は、第1の実施形態に係る波長変換部材を示す断面図である。
図3は、図2の領域IIIを示す一部拡大断面図である。
図4は、第1の実施形態における光学部材を示す断面図である。
図5は、第1の実施形態に係る波長変換部材の製造方法を示す工程断面図である。
図6は、第1の実施形態に係る波長変換部材の製造方法を示す工程断面図である。
図7は、第1の実施形態に係る波長変換部材の製造方法を示す工程断面図である。
図8は、第1の実施形態に係る波長変換部材の製造方法を示す工程断面図である。
図9は、第1の実施形態に係る波長変換部材の製造方法を示す工程断面図である。
図10は、第1の実施形態に係る波長変換部材の製造方法を示す工程断面図である。
図11は、第1の実施形態に係る波長変換部材の動作を示す図である。
図12は、比較例に係る波長変換部材の動作を示す図である。
図13Aは実施例1に係る波長変換部材を示す断面図である。
図13Bは実施例2に係る波長変換部材を示す断面図である。
図14Aは実施例1に係る波長変換部の表面形状を示すSEM写真である。
図14Bは実施例2に係る波長変換部の表面形状を示すSEM写真である。
図15Aは実施例1に係る波長変換部の断面形状を示す光学顕微鏡写真である。
図15Bは実施例2に係る波長変換部の断面形状を示す光学顕微鏡写真である。
図16Aは実施例1に係る波長変換部材の発光状態を示す光学顕微鏡写真である。
図16Bは実施例2に係る波長変換部材の発光状態を示す光学顕微鏡写真である。
図17は、第2の実施形態に係る波長変換部材を示す一部拡大断面図である。
【発明を実施するための形態】
(【0011】以降は省略されています)
この特許をJ-PlatPat(特許庁公式サイト)で参照する
関連特許
日亜化学工業株式会社
面状光源
7日前
日亜化学工業株式会社
光学薄膜の製造方法
6日前
日亜化学工業株式会社
照射装置、発光装置、及び紫外光の照射方法
27日前
日亜化学工業株式会社
透光性部材の製造方法、透光性部材、及び発光装置
14日前
日亜化学工業株式会社
発光装置
1日前
日亜化学工業株式会社
波長変換部材、光源モジュール、及び、波長変換部材の製造方法
1日前
日亜化学工業株式会社
発光モジュール
20日前
日亜化学工業株式会社
波長ビーム結合装置、ダイレクトダイオードレーザ装置、およびレーザ加工機
14日前
個人
立体像表示装置
1か月前
カンタツ株式会社
光学系
1か月前
住友化学株式会社
偏光板
1か月前
株式会社シグマ
結像光学系
27日前
株式会社シグマ
結像光学系
1か月前
住友化学株式会社
垂直偏光板
1か月前
東レ株式会社
貼合体の製造方法
1か月前
東レ株式会社
赤外線遮蔽構成体
1か月前
日本精機株式会社
ミラーユニット
1か月前
古河電気工業株式会社
融着機
1か月前
アイカ工業株式会社
反射防止フィルム
1日前
日本電気株式会社
光モジュール
1か月前
日東電工株式会社
導光部材
27日前
豊田合成株式会社
調光装置
14日前
株式会社コシナ
投射ズームレンズ
20日前
個人
多方向視差効果のための微細穴加工
1か月前
個人
眼鏡装着位置変更具および眼鏡
1か月前
三菱電機株式会社
レンズモジュール
1か月前
京セラ株式会社
光学系
1か月前
日東電工株式会社
光学積層体
29日前
日本精機株式会社
ヘッドアップディスプレイ
27日前
住友化学株式会社
偏光板
1か月前
日本精機株式会社
ヘッドアップディスプレイ
1か月前
住友化学株式会社
偏光板
1か月前
AGC株式会社
インフィニティミラー
1か月前
キヤノン株式会社
表示装置
6日前
日本精機株式会社
ヘッドアップディスプレイ装置
27日前
新光電気工業株式会社
光導波路部品
1か月前
続きを見る
他の特許を見る