TOP
|
特許
|
意匠
|
商標
特許ウォッチ
Twitter
他の特許を見る
10個以上の画像は省略されています。
公開番号
2025168241
公報種別
公開特許公報(A)
公開日
2025-11-07
出願番号
2025041026
出願日
2025-03-14
発明の名称
照射装置、発光装置、及び紫外光の照射方法
出願人
日亜化学工業株式会社
代理人
弁理士法人ITOH
主分類
H10H
20/00 20250101AFI20251030BHJP()
要約
【課題】対象物の硬化ばらつきを低減する。
【解決手段】照射装置は、対象物に光を照射する照射装置であって、互いに配光が異なる紫外光を照射する第1光源及び第2光源を備える発光装置と、前記対象物に前記紫外光を照射するために前記対象物が配置される領域である配置領域を有する載置台と、前記第1光源による紫外光を前記第2光源による紫外光よりも先に前記対象物に照射させる照射手段と、を有する。
【選択図】図1
特許請求の範囲
【請求項1】
対象物に光を照射する照射装置であって、
互いに配光が異なる紫外光を照射する第1光源及び第2光源を備える発光装置と、
前記対象物に前記紫外光を照射するために前記対象物が配置される領域である配置領域を有する載置台と、
前記第1光源による紫外光を前記第2光源による紫外光よりも先に前記対象物に照射させる照射手段と、を有する、照射装置。
続きを表示(約 1,500 文字)
【請求項2】
前記第1光源は、紫外光を第1配光角で出射し、
前記第2光源は、紫外光を前記第1配光角よりも広い第2配光角で出射し、
前記対象物は、前記第1光源による光及び前記第2光源による光のうち、いずれの光も照射される領域と、前記第2光源による光のみが照射される領域と、を含む、請求項1に記載の照射装置。
【請求項3】
前記第1光源は、第1発光素子と、前記第1発光素子と前記対象物との間に配置される第1レンズと、を含み、
前記第1レンズは、前記第1発光素子から出射された紫外光の配光角を変化させる、請求項2に記載の照射装置。
【請求項4】
前記第1光源は、第1方向を光軸とする紫外光を出射し、
前記第2光源は、前記第1方向とは異なる第2方向を光軸とする紫外光を出射し、
前記対象物は、第1面と、前記第1面から連続し前記第1面と平行ではない第2面とを有し、
前記第1光源による光のうちピーク光強度の光は、前記第1面に照射され、
前記第2光源による光のうちピーク光強度の光は、前記第2面に照射される、請求項1に記載の照射装置。
【請求項5】
前記第2光源は、第2発光素子と、前記第2発光素子と前記対象物との間に配置される第2レンズと、を含み、
前記第2レンズは、前記第2発光素子から出射された紫外光の光軸の方向を変化させる、請求項4に記載の照射装置。
【請求項6】
前記第1光源及び前記第2光源は、第1発光ピーク波長の紫外光を出射し、
前記第1発光ピーク波長とは異なる第2発光ピーク波長の紫外光を出射する第3光源及び第4光源をさらに有し、
前記第3光源は、紫外光を第3配光角で出射し、
前記第4光源は、紫外光を前記第3配光角よりも広い第4配光角で出射し、
前記対象物は、前記第3光源による光及び前記第4光源のうち、いずれの光も照射される領域と、前記第4光源による光のみが照射される領域と、を含み、
前記照射手段は、前記第1発光ピーク波長の紫外光を前記第2発光ピーク波長の紫外光よりも先に前記対象物に照射させる、請求項2に記載の照射装置。
【請求項7】
前記第1配光角及び前記第3配光角は、それぞれ30度以上70度以下であり、
前記第2配光角及び前記第4配光角は、それぞれ110度以上130度以下である、請求項6に記載の照射装置。
【請求項8】
前記第1光源及び前記第2光源は、第1発光ピーク波長の紫外光を出射し、
前記第1発光ピーク波長とは異なる第2発光ピーク波長の紫外光を出射する第3光源及び第4光源をさらに有し、
前記第3光源は、第3方向を光軸とする紫外光を出射し、
前記第4光源は、前記第3方向とは異なる第4方向を光軸とする紫外光を出射し、
前記対象物は、前記第3光源による光及び前記第4光源による光のうち、いずれの光も照射される領域と、前記第4光源による光のみが照射される領域と、を含む、請求項2に記載の照射装置。
【請求項9】
前記第1光源及び前記第2光源は、それぞれ発光ダイオードを含む、請求項1に記載の照射装置。
【請求項10】
前記第1発光ピーク波長は、360nm以上410nm以下であり、
前記第2発光ピーク波長は、260nm以上290nm以下である、請求項6に記載の照射装置。
(【請求項11】以降は省略されています)
発明の詳細な説明
【技術分野】
【0001】
本開示は、照射装置、発光装置、及び紫外光の照射方法に関する。
続きを表示(約 2,000 文字)
【背景技術】
【0002】
従来、対象物の硬化ばらつきを低減するために、それぞれが第1発光素子と第2発光素子とを含む複数の光照射デバイスを備え、第2発光素子の光の波長が、第1発光素子の光の波長よりも短い光照射モジュールが開示されている(例えば、特許文献1参照)。
【先行技術文献】
【特許文献】
【0003】
特開2014-090055号公報
【発明の概要】
【発明が解決しようとする課題】
【0004】
本開示の実施形態は、対象物の硬化ばらつきを低減することを目的とする。
【課題を解決するための手段】
【0005】
本開示の実施形態に係る照射装置は、対象物に光を照射する照射装置であって、互いに配光が異なる紫外光を照射する第1光源及び第2光源を備える発光装置と、前記対象物に前記紫外光を照射するために前記対象物が配置される領域である配置領域を有する載置台と、前記第1光源による紫外光を前記第2光源による紫外光よりも先に前記対象物に照射させる照射手段と、を有する。
【0006】
本開示の実施形態に係る発光装置は、対象物に光を照射する照射装置に実装される発光装置であって、互いに配光が異なる紫外光を照射する第1光源及び第2光源を備え、前記第1光源による光が照射される領域と、前記第2光源による光が照射される領域には、少なくとも重ならない領域がある。
【0007】
本開示の実施形態に係る紫外光の照射方法は、照射装置による紫外光の照射方法であって、照射装置が、第1発光ピーク波長の紫外光を発する少なくとも1つの第1発光素子をそれぞれが含む第1光源及び第2光源により、互いに配光が異なる前記第1発光ピーク波長の紫外光を照射し、前記第1発光ピーク波長よりも短い第2発光ピーク波長の紫外光を発する少なくとも1つの第2発光素子をそれぞれが含む第3光源及び第4光源により、互いに配光が異なる前記第2発光ピーク波長の紫外光を照射し、前記第1発光ピーク波長の紫外光を前記第2発光ピーク波長の紫外光よりも先に対象物に照射する。
【発明の効果】
【0008】
本開示の実施形態によれば、対象物の硬化ばらつきを低減することができる。
【図面の簡単な説明】
【0009】
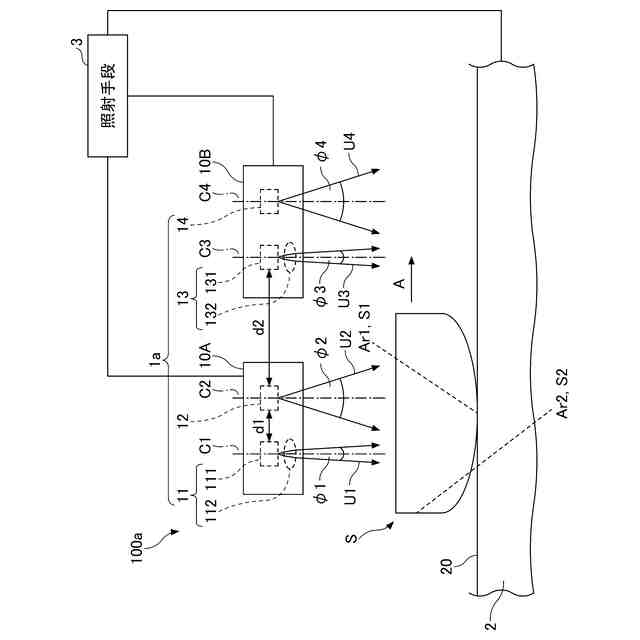
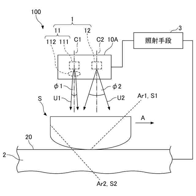
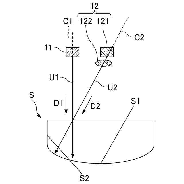
第1実施形態に係る照射装置の構成を示す模式的側面図である。
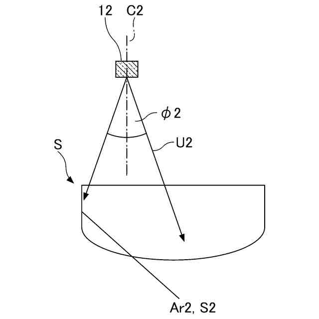
対象物の第1領域に、第1光源による第1配光角の第1紫外光及び第2光源による第2配光角の第2紫外光の双方が照射される様子を示す模式的断面図である。
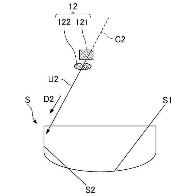
対象物の第2領域に、第2光源による第2配光角の第2紫外光のみが照射される様子を示す模式的断面図である。
対象物の第1面に、第1光源による第1紫外光のうちピーク光強度の光が照射される様子を示す模式的断面図である。
対象物の第2面に、第2光源による第2紫外光のうちピーク光強度の光が照射される様子を示す模式的断面図である。
対象物の一例を示す模式的断面図である。
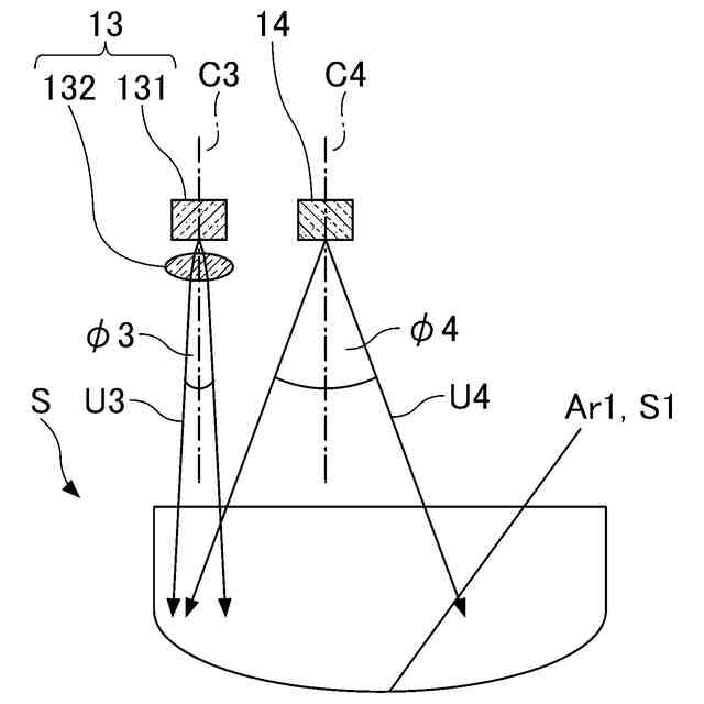
第2実施形態に係る照射装置の構成を示す模式的側面図である。
対象物の第1領域に、第3光源による第3配光角の第3紫外光及び第4光源による第4配光角の第4紫外光の双方が照射される様子を示す模式的断面図である。
対象物の第2領域に、第4光源による第4配光角の第4紫外光のみが照射される様子を示す模式的断面図である。
対象物の第1面に、第3光源による第3紫外光のうちピーク光強度の光が照射される様子を示す模式的断面図である。
対象物の第2面に、第4光源による第4紫外光のうちピーク光強度の光が照射される様子を示す模式的断面図である。
第3実施形態に係る照射装置の構成を示す模式的側面図である。
【発明を実施するための形態】
【0010】
本開示の実施形態に係る照射装置、及び紫外光の照射方法について図面を参照しながら詳細に説明する。但し、以下に示す形態は、本実施形態の技術思想を具現化するための照射装置、及び紫外光の照射方法を例示するものであって、以下に限定するものではない。また、実施形態に記載されている構成部の寸法、材質、形状、その相対的配置等は、特定の形態のみに限定する旨の記載がない限り、本開示の範囲をそれのみに限定する趣旨ではなく、単なる説明例にすぎない。なお、各図面が示す部材の大きさ、位置関係等は、説明を明確にするため誇張していることがある。また、以下の説明において、同一の名称、符号については同一もしくは同質の部材を示しており詳細説明を適宜省略する。
(【0011】以降は省略されています)
この特許をJ-PlatPat(特許庁公式サイト)で参照する
関連特許
日亜化学工業株式会社
発光装置
1か月前
日亜化学工業株式会社
発光装置
1か月前
日亜化学工業株式会社
発光素子
25日前
日亜化学工業株式会社
発光素子
25日前
日亜化学工業株式会社
面状光源
5日前
日亜化学工業株式会社
発光装置
27日前
日亜化学工業株式会社
発光装置
28日前
日亜化学工業株式会社
半導体レーザ素子
1か月前
日亜化学工業株式会社
光学薄膜の製造方法
4日前
日亜化学工業株式会社
垂直共振器面発光レーザ素子
25日前
日亜化学工業株式会社
軟磁性材料およびその製造方法
28日前
日亜化学工業株式会社
発光装置の製造方法及び発光装置
1か月前
日亜化学工業株式会社
発光モジュール及びモバイルデバイス
25日前
日亜化学工業株式会社
照射装置、発光装置、及び紫外光の照射方法
25日前
日亜化学工業株式会社
透光性部材の製造方法、透光性部材、及び発光装置
12日前
日亜化学工業株式会社
発光装置
1か月前
日亜化学工業株式会社
面状光源
1か月前
日亜化学工業株式会社
セラミックス基板及び発光装置、並びに、それらの製造方法
25日前
日亜化学工業株式会社
発光モジュール
18日前
日亜化学工業株式会社
発光装置および発光装置の製造方法
1か月前
日亜化学工業株式会社
正極活物質及び非水電解質二次電池用正極
27日前
日亜化学工業株式会社
面発光装置、レンズ積層体及びその製造方法、面発光装置の製造方法、レンズ集合体の製造方法
27日前
日亜化学工業株式会社
波長ビーム結合装置、ダイレクトダイオードレーザ装置、およびレーザ加工機
12日前
個人
積和演算用集積回路
26日前
サンケン電気株式会社
半導体装置
25日前
旭化成株式会社
発光素子
1か月前
日機装株式会社
半導体発光装置
20日前
ローム株式会社
半導体装置
4日前
三菱電機株式会社
半導体装置
1か月前
株式会社半導体エネルギー研究所
表示装置
4日前
三菱電機株式会社
半導体装置
12日前
株式会社東芝
半導体装置
12日前
日亜化学工業株式会社
発光装置
1か月前
ローム株式会社
半導体集積回路
1か月前
サンケン電気株式会社
半導体装置
12日前
ローム株式会社
半導体装置
1か月前
続きを見る
他の特許を見る