TOP
|
特許
|
意匠
|
商標
特許ウォッチ
Twitter
他の特許を見る
10個以上の画像は省略されています。
公開番号
2025172183
公報種別
公開特許公報(A)
公開日
2025-11-20
出願番号
2025154481,2021203147
出願日
2025-09-17,2021-12-15
発明の名称
波長ビーム結合装置、ダイレクトダイオードレーザ装置、およびレーザ加工機
出願人
日亜化学工業株式会社
代理人
主分類
H01S
5/02255 20210101AFI20251113BHJP(基本的電気素子)
要約
【課題】波長ビーム結合によって結合されたレーザビームの出力およびパワー密度を更に高める。
【解決手段】波長ビーム結合装置は、複数のレーザビームを第1偏光方向に直線偏光した複数の第1偏光ビームと第2偏光方向に直線偏光した複数の第2偏光ビームとに分離する偏光ビームスプリッタと、第2偏光ビームを第1偏光方向に直線偏光した複数の第3偏光ビームに変換する第1偏光変換素子と、複数の第1偏光ビームを回折して同軸に重畳した第1波長結合ビームを形成し、複数の第3偏光ビームを回折して同軸に重畳した第2波長結合ビームを形成する回折格子と、第1波長結合ビームおよび第2波長結合ビームを同軸に重畳した第3波長結合ビームを形成して出射する偏光ビーム結合器と、を備える。
【選択図】図1
特許請求の範囲
【請求項1】
ピーク波長が互いに異なる複数のレーザビーム1を結合する波長ビーム結合装置であって、
前記複数のレーザビームを、それぞれ、第1偏光方向に直線偏光した複数の第1偏光ビームと、前記第1偏光方向に直交する第2偏光方向に直線偏光した複数の第2偏光ビームとに分離する偏光ビームスプリッタと、
前記複数の第2偏光ビームを、前記第1偏光方向に直線偏光した複数の第3偏光ビームに変換する第1偏光変換素子と、
前記複数の第1偏光ビームを回折して前記複数の第1偏光ビームを同軸に重畳した第1波長結合ビームを形成し、前記複数の第3偏光ビームを回折して前記複数の第3偏光ビームを同軸に重畳した第2波長結合ビームを形成する、1または複数の回折格子と、
前記第1波長結合ビームおよび前記第2波長結合ビームの少なくとも一方の偏光状態を変化させて、前記第1波長結合ビームおよび前記第2波長結合ビームの偏光方向を直交させる第2偏光変換素子と、
前記第1波長結合ビームおよび前記第2波長結合ビームを同軸に重畳した第3波長結合ビームを形成して出射する偏光ビーム結合器と、
を備える、波長ビーム結合装置。
続きを表示(約 1,300 文字)
【請求項2】
前記1または複数の回折格子は、前記第1偏光方向に平行な回折溝を有する、請求項1に記載の波長ビーム結合装置。
【請求項3】
前記ピーク波長は、430nmから480nmの範囲に含まれる、請求項1または2に記載の波長ビーム結合装置。
【請求項4】
前記複数のレーザビームの本数は、10以上である、請求項1から3のいずれか1項に記載の波長ビーム結合装置。
【請求項5】
前記偏光ビームスプリッタは、前記複数のレーザビームが互いに平行に入射したとき、
前記複数の第1偏光ビームを第1進行方向に反射し、かつ、前記複数の第2偏光ビームを透過するように構成されており、
前記偏光ビームスプリッタを透過した前記複数の第2偏光ビームを前記第1進行方向に反射するミラーを更に備え、
前記第1偏光変換素子は、前記ミラーによって反射された前記複数の第2偏光ビームを前記複数の第3偏光ビームに変換して前記第1進行方向に出射する、請求項1から4のいずれか1項に記載の波長ビーム結合装置。
【請求項6】
前記複数の回折格子は、
前記偏光ビームスプリッタによって前記第1進行方向に反射された前記複数の第1偏光ビーム、および、前記第1偏光変換素子から前記第1進行方向に出射される前記複数の第3偏光ビームを受ける位置に配置された第1回折格子と、
前記第1回折格子に対して平行に配置された第2回折格子と、
を含み、
前記第2回折格子は、前記複数の第1偏光ビームの前記第1回折格子による反射回折光を受けて前記第1進行方向に前記第1波長結合ビームを出射する第1領域と、前記複数の第3偏光ビームの前記第1回折格子による反射回折光を受けて前記第1進行方向に前記第2波長結合ビームを出射する第2領域と、を含む、請求項5に記載の波長ビーム結合装置。
【請求項7】
前記第1回折格子および前記第2回折格子のそれぞれは、透過型回折格子である、請求項6に記載の波長ビーム結合装置。
【請求項8】
前記第2回折格子において、前記第1領域および前記第2領域は、隙間を置いて分離された2個の素子である、請求項6または7に記載の波長ビーム結合装置。
【請求項9】
前記第1領域および前記第2領域のそれぞれにおける回折溝は、前記第1偏光方向に平行であり、
前記第1領域および前記第2領域のそれぞれにおける前記回折溝の格子ピッチは200nm以上500nm以下であり、前記第1領域および前記第2領域のそれぞれにおける前記回折溝の本数は、2000本以上5000本以下である、請求項6から8のいずれか1項に記載の波長ビーム結合装置。
【請求項10】
前記第1波長結合ビーム、前記第2波長結合ビーム、および前記第3波長結合ビームの少なくとも1つに対する絞りを更に備える、請求項1から9のいずれか1項に記載の波長ビーム結合装置。
(【請求項11】以降は省略されています)
発明の詳細な説明
【技術分野】
【0001】
本願は、波長ビーム結合装置、ダイレクトダイオードレーザ装置、およびレーザ加工機に関する。
続きを表示(約 2,300 文字)
【背景技術】
【0002】
高出力高輝度のレーザビームを用いて多様な種類の材料に切断、穴あけ、マーキングなどの加工を行ったり、金属材料を溶接したりすることが行われている。従来、このようなレーザ加工に使用されてきた炭酸ガスレーザ装置およびYAG固体レーザ装置の一部は、エネルギー変換効率の高いファイバレーザ装置に置き換わりつつある。ファイバレーザ装置のポンプ光源には、レーザダイオード(以下、単にLDと記載する。)が使用されている。近年、LDの高出力化に伴い、LDをポンプ光源としてではなく、材料を直接に照射して加工するレーザビームの光源として用いる技術が開発されつつある。このような技術は、ダイレクトダイオードレーザ(DDL)技術と称されている。
【0003】
特許文献1は、複数のLDからそれぞれ出射された互いに波長が異なる複数のレーザビームを結合(combine)して光出力を増大させる光源装置の一例を開示している。
互いに波長が異なる複数のレーザビームを同軸に結合することは、「波長ビーム結合(WBC)」または「スペクトルビーム結合(SBC)」と称され、例えばDDL装置などの光出力および輝度を高めるために用いられ得る。
【先行技術文献】
【特許文献】
【0004】
米国特許6192062号明細書
【発明の概要】
【発明が解決しようとする課題】
【0005】
波長ビーム結合によって結合されたレーザビームの出力およびパワー密度を更に高めることが求められている。
【課題を解決するための手段】
【0006】
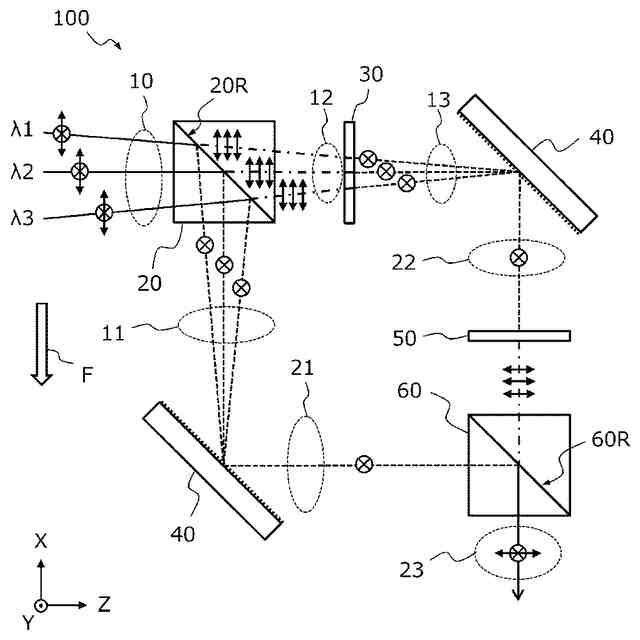
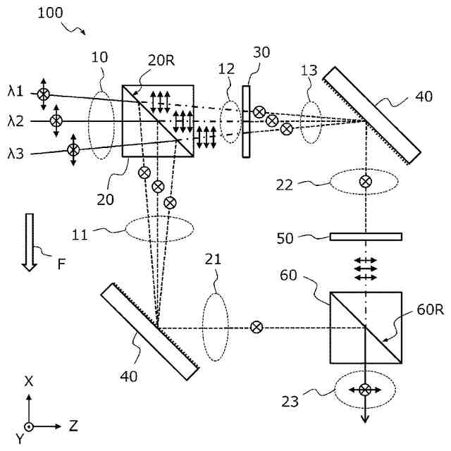
本開示の波長ビーム結合装置は、ある実施形態において、ピーク波長が互いに異なる複数のレーザビームを結合する波長ビーム結合装置であって、前記複数のレーザビームを、それぞれ、第1偏光方向に直線偏光した複数の第1偏光ビームと、前記第1偏光方向に直交する第2偏光方向に直線偏光した複数の第2偏光ビームとに分離する偏光ビームスプリッタと、前記複数の第2偏光ビームを、前記第1偏光方向に直線偏光した複数の第3偏光ビームに変換する第1偏光変換素子と、前記複数の第1偏光ビームを回折して前記複数の第1偏光ビームを同軸に重畳した第1波長結合ビームを形成し、前記複数の第3偏光ビームを回折して前記複数の第3偏光ビームを同軸に重畳した第2波長結合ビームを形成する、1または複数の回折格子と、前記第1波長結合ビームおよび前記第2波長結合ビームの少なくとも一方の偏光状態を変化させて、前記第1波長結合ビームおよび前記第2波長結合ビームの偏光方向を直交させる第2偏光変換素子と、前記第1波長結合ビームおよび前記第2波長結合ビームを同軸に重畳した第3波長結合ビームを形成して出射する偏光ビーム結合器と、を備える。
【0007】
本開示のダイレクトダイオードレーザ装置は、ある実施形態において、上記の波長ビーム結合装置と、それぞれが互いに異なるピーク波長のレーザ光を出射する複数の半導体レーザ装置と、前記複数の半導体レーザ装置から出射された前記レーザ光から、前記波長ビーム結合装置の前記偏光ビームスプリッタに入射する前記複数のレーザビームを形成する光ファイバアレイ装置と、を備える。
【0008】
本開示のレーザ加工機は、ある実施形態において、上記の少なくとも1つのダイレクトダイオードレーザ装置と、前記少なくとも1つのダイレクトダイオードレーザ装置から出射される前記第3波長結合ビームに結合される光伝送ファイバと、前記光伝送ファイバに接続される加工ヘッドと、を備える。
【発明の効果】
【0009】
本開示の実施形態によれば、波長ビーム結合によって結合されたレーザビームの出力およびパワー密度を更に高めることが可能な波長ビーム結合装置、ダイレクトダイオードレーザ装置、およびレーザ加工機が提供される。
【図面の簡単な説明】
【0010】
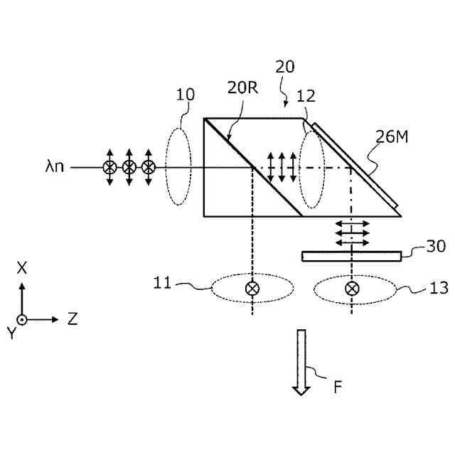
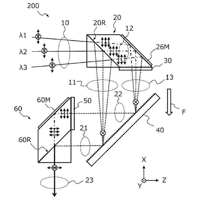
図1は、本開示による波長ビーム結合装置の第1実施形態の構成例を示す図である。
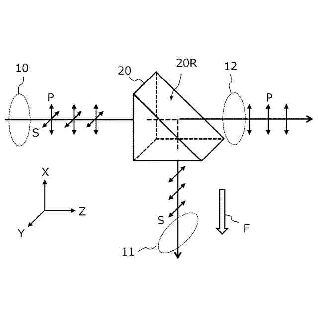
図2は、偏光ビームスプリッタの構成例と機能を模式的に示す斜視図である。
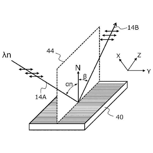
図3Aは、ピーク波長λnの光線が回折格子に入射して回折され、回折光線を形成する様子を模式的に示す斜視図である。
図3Bは、透過型の回折格子に光線が入射したときに形成される主要な回折光線を模式的に示す断面図である。
図4Aは、ピーク波長がλ1、λ2、およびλ3である3本のレーザビームが波長結合された第1波長結合ビームのスペクトルを模式的に示すグラフである。
図4Bは、ピーク波長がλ1、λ2、およびλ3である3本のレーザビームが波長結合された第2波長結合ビームのスペクトルを模式的に示すグラフである。
図5は、結合するレーザビームの本数がK本の場合(Kは4以上の整数)における第3波長結合ビームのスペクトルを模式的に示すグラフである。
図6は、本開示による波長ビーム結合装置の第2実施形態の構成例を示す図である。
図7は、偏光ビームスプリッタの構成例を示す側面図である。
図8は、本開示による波長ビーム結合装置の第3実施形態の構成例を示す図である。
図9は、本開示によるダイレクトダイオードレーザ装置の実施形態の構成例を示す図である。
図10は、本開示によるレーザ加工機の実施形態の構成例を示す図である。
【発明を実施するための形態】
(【0011】以降は省略されています)
この特許をJ-PlatPat(特許庁公式サイト)で参照する
関連特許
日亜化学工業株式会社
発光素子
15日前
日亜化学工業株式会社
発光素子
15日前
日亜化学工業株式会社
発光装置
17日前
日亜化学工業株式会社
発光装置
18日前
日亜化学工業株式会社
発光装置
24日前
日亜化学工業株式会社
垂直共振器面発光レーザ素子
15日前
日亜化学工業株式会社
軟磁性材料およびその製造方法
18日前
日亜化学工業株式会社
発光モジュール及びモバイルデバイス
15日前
日亜化学工業株式会社
照射装置、発光装置、及び紫外光の照射方法
15日前
日亜化学工業株式会社
透光性部材の製造方法、透光性部材、及び発光装置
2日前
日亜化学工業株式会社
セラミックス基板及び発光装置、並びに、それらの製造方法
15日前
日亜化学工業株式会社
発光モジュール
8日前
日亜化学工業株式会社
正極活物質及び非水電解質二次電池用正極
17日前
日亜化学工業株式会社
面発光装置、レンズ積層体及びその製造方法、面発光装置の製造方法、レンズ集合体の製造方法
17日前
日亜化学工業株式会社
波長ビーム結合装置、ダイレクトダイオードレーザ装置、およびレーザ加工機
2日前
東ソー株式会社
絶縁電線
1か月前
APB株式会社
蓄電セル
29日前
マクセル株式会社
電源装置
23日前
株式会社東芝
端子台
23日前
ローム株式会社
半導体装置
1か月前
日新イオン機器株式会社
イオン源
1か月前
株式会社GSユアサ
蓄電装置
24日前
三菱電機株式会社
回路遮断器
10日前
株式会社GSユアサ
蓄電装置
2日前
富士電機株式会社
電磁接触器
2日前
株式会社GSユアサ
蓄電装置
24日前
株式会社GSユアサ
蓄電装置
16日前
株式会社ホロン
冷陰極電子源
1か月前
トヨタ自動車株式会社
蓄電装置
24日前
トヨタ自動車株式会社
冷却構造
1か月前
日本特殊陶業株式会社
保持装置
1か月前
北道電設株式会社
配電具カバー
29日前
日本特殊陶業株式会社
保持装置
15日前
日新イオン機器株式会社
基板処理装置
26日前
トヨタ自動車株式会社
バッテリ
29日前
ローム株式会社
半導体装置
1か月前
続きを見る
他の特許を見る