TOP
|
特許
|
意匠
|
商標
特許ウォッチ
Twitter
他の特許を見る
10個以上の画像は省略されています。
公開番号
2025167319
公報種別
公開特許公報(A)
公開日
2025-11-07
出願番号
2024071814
出願日
2024-04-25
発明の名称
発光モジュール及びモバイルデバイス
出願人
日亜化学工業株式会社
代理人
個人
,
個人
主分類
F21V
5/04 20060101AFI20251030BHJP(照明)
要約
【課題】外部から光源が視認されることを低減できる。
【解決手段】本開示の一実施形態に係る発光モジュールは、光源と、前記光源上に配置される第1レンズと、前記第1レンズ上に配置される第2レンズと、を備え、前記第1レンズは、前記光源側に凸の第1凸面を含む下面と、前記第2レンズ側に凸の第2凸面を含む上面と、を有し、上面視において、前記第2凸面の面積は、前記第1凸面の面積より小さく、前記第2レンズの上面及び下面の少なくとも一方は、凹面を含む。
【選択図】図2
特許請求の範囲
【請求項1】
光源と、
前記光源上に配置される第1レンズと、
前記第1レンズ上に配置される第2レンズと、
を備え、
前記第1レンズは、
前記光源側に凸の第1凸面を含む下面と、
前記第2レンズ側に凸の第2凸面を含む上面と、
を有し、
上面視において、前記第2凸面の面積は、前記第1凸面の面積より小さく、
前記第2レンズの上面及び下面の少なくとも一方は、凹面を含む、
発光モジュール。
続きを表示(約 1,000 文字)
【請求項2】
前記第2レンズの前記上面及び前記下面のそれぞれが、凹面を含む、
請求項1に記載の発光モジュール。
【請求項3】
前記第2レンズの、前記下面に含まれる前記凹面の曲率半径は、前記上面に含まれる前記凹面の曲率半径より小さい、
請求項2に記載の発光モジュール。
【請求項4】
上面視において、前記第2レンズの、前記上面に含まれる前記凹面の面積は、前記下面に含まれる前記凹面の面積より大きい、
請求項2に記載の発光モジュール。
【請求項5】
上面視において前記光源より外側に配置されるとともに、少なくとも前記第1レンズを支持するレンズ支持部をさらに備える、
請求項1又は請求項2に記載の発光モジュール。
【請求項6】
前記レンズ支持部は、内側面に凸部を有し、
前記第1レンズの前記上面は、上面視において前記第2凸面を囲む第1外端部をさらに含み、
前記第1レンズは、前記第1外端部が前記凸部の下面に接合されることで、前記レンズ支持部に支持される、
請求項5に記載の発光モジュール。
【請求項7】
前記第1レンズの前記下面は、前記レンズ支持部から露出する、
請求項6に記載の発光モジュール。
【請求項8】
前記第2レンズの前記下面は、前記凹面と、上面視において前記凹面より外側に位置する第2外端部と、を含み、
前記第2外端部は、前記レンズ支持部の上面に接合される、
請求項5に記載の発光モジュール。
【請求項9】
前記光源が載置される上面を有する基板をさらに備える、
請求項1又は請求項2に記載の発光モジュール。
【請求項10】
表示部と、
上面視において、前記表示部側に配置される発光モジュールと、
を備え、
前記発光モジュールは、
光源と、
前記光源上に配置される第1レンズと、
前記第1レンズ上に配置される第2レンズと、
を備え、
前記第1レンズは、
前記光源側に凸の第1凸面を含む下面と、
前記第2レンズ側に凸の第2凸面を含む上面と、
を有し、
上面視において、前記第2凸面の面積は、前記第1凸面の面積より小さく、
前記第2レンズの上面及び下面の少なくとも一方は、凹面を含む、
モバイルデバイス。
発明の詳細な説明
【技術分野】
【0001】
本開示は、発光モジュール及びモバイルデバイスに関する。
続きを表示(約 2,000 文字)
【背景技術】
【0002】
特許文献1には、複数のLED素子を基板上に配備した発光モジュールと、発光モジュールを内部に配設した装置枠体と、凸レンズと凹レンズとからなる配光制御用レンズと、色相調整用の光学フィルタと、を含むLED照明装置が開示されている。
【先行技術文献】
【特許文献】
【0003】
特開2004-022257号公報
【発明の概要】
【発明が解決しようとする課題】
【0004】
本開示は、外部から光源が視認されることを低減する発光モジュール及びモバイルデバイスの提供を目的とする。
【課題を解決するための手段】
【0005】
本開示の一実施形態に係る発光モジュールは、光源と、前記光源上に配置される第1レンズと、前記第1レンズ上に配置される第2レンズと、を備え、前記第1レンズは、前記光源側に凸の第1凸面を含む下面と、前記第2レンズ側に凸の第2凸面を含む上面と、を有し、上面視において、前記第2凸面の面積は、前記第1凸面の面積より小さく、前記第2レンズの上面及び下面の少なくとも一方は、凹面を含む。
【0006】
本開示の一実施形態に係るモバイルデバイスは、表示部と、上面視において、前記表示部側に配置される発光モジュールと、を備え、前記発光モジュールは、光源と、前記光源上に配置される第1レンズと、前記第1レンズ上に配置される第2レンズと、を備え、前記第1レンズは、前記光源側に凸の第1凸面を含む下面と、前記第2レンズ側に凸の第2凸面を含む上面と、を有し、上面視において、前記第2凸面の面積は、前記第1凸面の面積より小さく、前記第2レンズの上面及び下面の少なくとも一方は、凹面を含む。
【発明の効果】
【0007】
本開示の一実施形態によれば、外部から光源が視認されることを低減できる。
【図面の簡単な説明】
【0008】
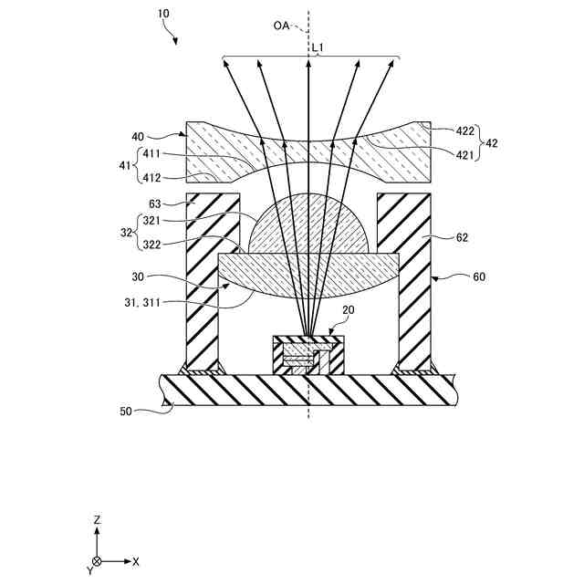
実施形態に係るモバイルデバイスを模式的に示す上面図である。
図1のII-II線における、実施形態に係る発光モジュールを模式的に示す断面図である。
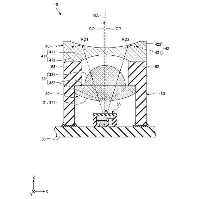
実施形態に係る発光モジュールが奏する効果の一例を説明するための模式的な断面図である。
実施形態に係る発光モジュールが奏する効果の他の例を説明するための模式的な断面図である。
実施形態に係る発光モジュールが奏する効果のさらに他の例を説明するための模式的な断面図である。
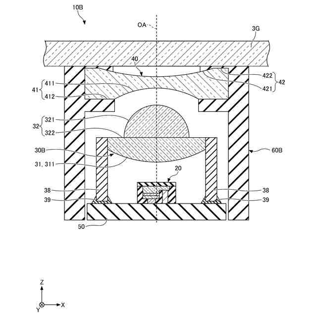
実施形態の変形例1に係る発光モジュールを模式的に示す断面図である。
実施形態の変形例2に係る発光モジュールを模式的に示す断面図である。
【発明を実施するための形態】
【0009】
以下、図面を参照して、本開示の実施形態に係る発光モジュール及びモバイルデバイスを詳細に説明する。ただし、以下に示す形態は、実施形態の技術思想を具体化するための発光モジュール及びモバイルデバイスを例示するものであって、以下に限定するものではない。また、実施形態に記載されている構成部の寸法、材質、形状、その相対的配置等は、特定的な記載がない限り、本開示の範囲をそれのみに限定する趣旨ではなく、単なる説明例にすぎない。なお、各図面が示す部材の大きさ、位置関係等は、説明を明確にするため誇張していることがある。また、以下の説明において、同一の名称、符号については、同一若しくは同質の部材を示しており、詳細な説明を適宜省略する。断面図として切断面のみを示す端面図を用いる場合がある。
【0010】
以下に示す図においてX軸、Y軸、及びZ軸により方向を示す場合がある。X軸、Y軸、及びZ軸は相互に直交する方向である。X軸方向で矢印が向いている方向を+X方向又は+X側、+X方向の反対方向を-X方向又は-X側と表記する。Y軸方向で矢印が向いている方向を+Y方向又は+Y側、+Y方向の反対方向を-Y方向又は-Y側と表記する。Z軸方向で矢印が向いている方向を+Z方向又は+Z側、+Z方向の反対方向を-Z方向又は-Z側と表記する。また、実施形態の用語における上面視とは、対象を+Z方向又は+Z側から見ることをいう。ただし、これらのことは、発光モジュール及びモバイルデバイスの使用時における向きを制限するものではなく、発光モジュール及びモバイルデバイスの向きは任意である。また、実施形態では、+Z方向又は+Z側から見たときの対象物の面を「上面」とし、-Z方向又は-Z側から見たときの対象物の面を「下面」とする。以下に示す実施形態においてX軸、Y軸、及びZ軸に沿うとは、対象がこれら軸に対して±10°の範囲内の傾きを有することを含む。また、実施形態において直交は、90°に対して±10°以内の誤差を含んでもよい。
(【0011】以降は省略されています)
特許ウォッチbot のツイートを見る
この特許をJ-PlatPat(特許庁公式サイト)で参照する
関連特許
日亜化学工業株式会社
発光装置
1か月前
日亜化学工業株式会社
面状光源
5日前
日亜化学工業株式会社
発光装置
28日前
日亜化学工業株式会社
発光装置
1か月前
日亜化学工業株式会社
発光装置
27日前
日亜化学工業株式会社
発光素子
25日前
日亜化学工業株式会社
発光装置
1か月前
日亜化学工業株式会社
発光素子
1か月前
日亜化学工業株式会社
発光素子
25日前
日亜化学工業株式会社
半導体レーザ素子
1か月前
日亜化学工業株式会社
光学薄膜の製造方法
4日前
日亜化学工業株式会社
配置部材、及び、発光装置
1か月前
日亜化学工業株式会社
発光装置、および面状光源
1か月前
日亜化学工業株式会社
垂直共振器面発光レーザ素子
25日前
日亜化学工業株式会社
軟磁性材料およびその製造方法
28日前
日亜化学工業株式会社
半導体素子およびその製造方法
1か月前
日亜化学工業株式会社
発光装置の製造方法及び発光装置
1か月前
日亜化学工業株式会社
発光装置の製造方法及び発光装置
1か月前
日亜化学工業株式会社
発光装置、および発光装置の製造方法
1か月前
日亜化学工業株式会社
光源、発光モジュール、及び携帯端末
1か月前
日亜化学工業株式会社
発光モジュール及びモバイルデバイス
25日前
日亜化学工業株式会社
光源装置およびそれらを有する加熱システム
1か月前
日亜化学工業株式会社
照射装置、発光装置、及び紫外光の照射方法
25日前
日亜化学工業株式会社
透光性部材の製造方法及び発光装置の製造方法
1か月前
日亜化学工業株式会社
透光性部材の製造方法、透光性部材、及び発光装置
12日前
日亜化学工業株式会社
セラミックス基板の製造方法及び発光装置の製造方法
1か月前
日亜化学工業株式会社
発光装置
1か月前
日亜化学工業株式会社
面状光源
1か月前
日亜化学工業株式会社
発光装置
1か月前
日亜化学工業株式会社
セラミックス基板及び発光装置、並びに、それらの製造方法
25日前
日亜化学工業株式会社
発光モジュール
18日前
日亜化学工業株式会社
発光装置および発光装置の製造方法
1か月前
日亜化学工業株式会社
正極活物質及び非水電解質二次電池用正極
27日前
日亜化学工業株式会社
面発光装置、レンズ積層体及びその製造方法、面発光装置の製造方法、レンズ集合体の製造方法
27日前
日亜化学工業株式会社
波長ビーム結合装置、ダイレクトダイオードレーザ装置、およびレーザ加工機
12日前
個人
照明装置
25日前
続きを見る
他の特許を見る