TOP
|
特許
|
意匠
|
商標
特許ウォッチ
Twitter
他の特許を見る
10個以上の画像は省略されています。
公開番号
2025165719
公報種別
公開特許公報(A)
公開日
2025-11-05
出願番号
2024069978
出願日
2024-04-23
発明の名称
面発光装置、レンズ積層体及びその製造方法、面発光装置の製造方法、レンズ集合体の製造方法
出願人
日亜化学工業株式会社
代理人
弁理士法人豊栖特許事務所
主分類
H10H
20/855 20250101AFI20251028BHJP()
要約
【課題】輝度むらを低減した面発光装置等を提供する。
【解決手段】レンズ積層体1は、複数の光源32と下面で対向する第一基部11と、第一基部11上に位置し、複数の光源32の各光軸33と一致する第一中心軸13を備える複数の第一レンズ部12と、を有する第一レンズ集合体10と、第一レンズ集合体10と下面で対向する第二基部21と、第二基部21上に位置し、複数の第一レンズ部12の第一中心軸13と一致する第二中心軸23を備える複数の第二レンズ部22と、を有する第二レンズ集合体20とを備える。複数の第一レンズ部12は、上面視において外周が円形であり、かつ、頂面が第一平坦面14であり、隣接する第一レンズ部12の外周同士が接するように配置される。第二レンズ部22は、上面視において外周が円形であり、隣接する第二レンズ部22は、第二平坦面24である接続面を介して離隔するように配置される。
【選択図】図5
特許請求の範囲
【請求項1】
複数の光源と、
前記複数の光源の上方に配置されるレンズ積層体と、
を備える面発光装置であって、
前記レンズ積層体は、
前記複数の光源と下面で対向する第一基部と、
前記第一基部上に位置し、前記複数の光源の各光軸と一致する第一中心軸を備える複数の第一レンズ部と、
を有する第一レンズ集合体と、
前記第一レンズ集合体と下面で対向する第二基部と、
前記第二基部上に位置し、前記複数の第一レンズ部の第一中心軸と一致する第二中心軸を備える複数の第二レンズ部と、
を有する第二レンズ集合体と、
を備え、
前記複数の第一レンズ部は、上面視において外周が円形であり、かつ、頂面が第一平坦面であり、隣接する前記第一レンズ部の外周同士が接するように配置され、
前記第二レンズ部は、上面視において外周が円形であり、隣接する前記第二レンズ部は、第二平坦面である接続面を介して離隔するように配置されている、面発光装置。
続きを表示(約 1,000 文字)
【請求項2】
前記第一レンズ部の前記頂面の第一径は、前記第二レンズ部の第二径と同じか、これよりも小さい、請求項1に記載の面発光装置。
【請求項3】
前記第一レンズ部の第一曲率半径と前記第二レンズ部の第二曲率半径とは同じである、請求項1に記載の面発光装置。
【請求項4】
前記第一レンズ部の厚さを、前記第二レンズ部の厚さよりも厚くしてなる、請求項1に記載の面発光装置。
【請求項5】
前記光源は、発光素子と、前記発光素子上に配置される波長変換部材と、を備える、請求項1に記載の面発光装置。
【請求項6】
前記光源の光軸を含む断面において、前記光源の幅は、前記第一レンズ部の最大幅の15%以上50%以下である、請求項1に記載の面発光装置。
【請求項7】
前記第一基部の厚さは、前記第一レンズ部の厚さよりも薄い、請求項1に記載の面発光装置。
【請求項8】
前記第二レンズ集合体は、それぞれ、一以上の前記第二レンズ部を備える複数の第二サブレンズ集合体で構成される、請求項1に記載の面発光装置。
【請求項9】
前記複数の光源同士の間に配置されたリフレクタをさらに備える、請求項1~8のいずれか1項に記載の面発光装置。
【請求項10】
複数の光源の上方に配置するためのレンズ積層体であって、
前記複数の光源と下面で対向させるための第一基部と、
前記第一基部上に位置し、前記複数の光源の各光軸と一致させるための第一中心軸を備える複数の第一レンズ部と、
を有する第一レンズ集合体と、
前記第一レンズ集合体と下面で対向させるための第二基部と、
前記第二基部上に位置し、前記複数の第一レンズ部の第一中心軸と一致させるための第二中心軸を備える複数の第二レンズ部と、
を有する第二レンズ集合体と、
を備え、
前記複数の第一レンズ部は、上面視において外周が円形であり、かつ、頂面が第一平坦面であり、隣接する前記第一レンズ部の外周同士が接するように配置され、
前記第二レンズ部は、上面視において外周が円形であり、隣接する前記第二レンズ部は、第二平坦面である接続面を介して離隔するように配置されている、レンズ積層体。
(【請求項11】以降は省略されています)
発明の詳細な説明
【技術分野】
【0001】
本開示は、面発光装置、レンズ積層体及びその製造方法、面発光装置の製造方法、レンズ集合体の製造方法に関する。
続きを表示(約 3,200 文字)
【背景技術】
【0002】
複数のLEDと複数のレンズとを備える面発光装置が知られている。
【先行技術文献】
【特許文献】
【0003】
特表平9-505412号公報
特開2008-003604号公報
【発明の概要】
【発明が解決しようとする課題】
【0004】
本開示の一態様の課題の一は、輝度むらを低減した面発光装置、レンズ積層体及びその製造方法、面発光装置の製造方法、レンズ集合体の製造方法を提供することにある。また他の態様の課題の一は、生産性を改善した面発光装置、レンズ積層体及びその製造方法、面発光装置の製造方法、レンズ集合体の製造方法を提供することにある。なお、これらの課題の記載は、他の課題の存在を妨げるものではない。また本開示の一態様は、これらの課題の全てを解決する必要はないものとする。さらに本開示の明細書、図面、請求項の記載から、これら以外の課題を抽出することが可能である。
【課題を解決するための手段】
【0005】
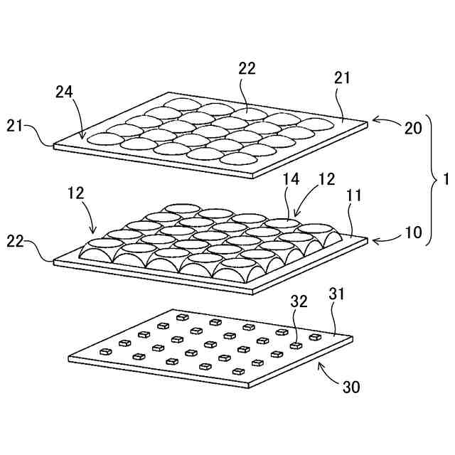
本開示の一形態に係る面発光装置は、複数の光源と、前記複数の光源の上方に配置されるレンズ積層体と、を備える面発光装置であって、前記レンズ積層体は、前記複数の光源と下面で対向する第一基部と、前記第一基部上に位置し、前記複数の光源の各光軸と一致する第一中心軸を備える複数の第一レンズ部と、を有する第一レンズ集合体と、前記第一レンズ集合体と下面で対向する第二基部と、前記第二基部上に位置し、前記複数の第一レンズ部の第一中心軸と一致する第二中心軸を備える複数の第二レンズ部と、を有する第二レンズ集合体と、を備え、前記複数の第一レンズ部は、上面視において外周が円形であり、かつ、頂面が第一平坦面であり、隣接する前記第一レンズ部の外周同士が接するように配置され、前記第二レンズ部は、上面視において外周が円形であり、隣接する前記第二レンズ部は、第二平坦面である接続面を介して離隔するように配置されている。
【0006】
また本開示の他の形態に係るレンズ積層体は、複数の光源の上方に配置するためのレンズ積層体であって、前記複数の光源と下面で対向させるための第一基部と、前記第一基部上に位置し、前記複数の光源の各光軸と一致させるための第一中心軸を備える複数の第一レンズ部と、を有する第一レンズ集合体と、前記第一レンズ集合体と下面で対向させるための第二基部と、前記第二基部上に位置し、前記複数の第一レンズ部の第一中心軸と一致させるための第二中心軸を備える複数の第二レンズ部と、を有する第二レンズ集合体と、を備え、前記複数の第一レンズ部は、上面視において外周が円形であり、かつ、頂面が第一平坦面であり、隣接する前記第一レンズ部の外周同士が接するように配置され、前記第二レンズ部は、上面視において外周が円形であり、隣接する前記第二レンズ部は、第二平坦面である接続面を介して離隔するように配置されている。
【0007】
さらに本開示の他の形態に係るレンズ積層体の製造方法は、上面視において外周が円形であり、かつ、底面が第一平面部である複数の第一凹部であって、隣接する前記第一凹部の外周同士が接して配置される第一凹部を有する第一金型と、上面視において外周が円形の第二凹部であって、隣り合う前記第二凹部の外周同士は離隔して配置される第二凹部と、前記第二凹部の外周を囲む第二平面部と、を有する第二金型を、それぞれ準備する金型準備工程と、前記第一金型を用いて、第一基部と、前記第一基部上に位置する複数の第一レンズ部と、を備える第一レンズ集合体を成型する工程と、前記第一凹部で成型された前記第一レンズ部の、前記第一凹部の前記第一平面部で成型された頂面に、第一ピンを当接して、前記第一金型から前記第一レンズ集合体を離型する工程と、前記第二金型を用いて、第二基部と、前記第二基部上に配置される複数の第二レンズ部と、を備える第二レンズ集合体を成型する工程と、前記第二凹部の前記第二平面部で成型された接続面に、第二ピンを当接して、前記第二金型から前記第二レンズ集合体を離型する工程と、前記第一金型から離型された前記第一レンズ集合体上に、前記第二金型から離型された前記第二レンズ集合体を配置する工程と、を含む。
【0008】
さらにまた本開示の他の形態に係るレンズ集合体の製造方法は、上面視において外周が円形であり、かつ、底面が第一平面部である複数の第一凹部であって、隣接する前記第一凹部の外周同士が接して配置される第一凹部を有する第一金型を準備する第一金型準備工程と、前記第一金型を用いて、第一基部と、前記第一基部上に位置する複数の第一レンズ部と、を備える第一レンズ集合体を成型する工程と、前記第一凹部で成型された前記第一レンズ部の、前記第一凹部の前記第一平面部で成型された頂面に、第一ピンを当接して、前記第一レンズ集合体を前記第一金型から離型する工程と、を含む。
【発明の効果】
【0009】
本開示の実施形態に係る面発光装置によれば、輝度むらを低減することができる。
【図面の簡単な説明】
【0010】
実施形態1に係る面発光装置を示す上面図である。
図1の面発光装置の要部拡大図付き透視図である。
図1のIII-III線における断面図である。
図3を分解した要部拡大断面図である。
図1の面発光装置の分解斜視図である。
図1の面発光装置を点灯させた際の出射光を示す拡大断面図である。
面発光装置を示す模式断面図である。
従来技術に係る面状光源装置を示す模式断面図である。
第一金型を準備する工程を示す断面図である。
第一金型に樹脂を配置する工程を示す断面図である。
第一金型を型開する工程を示す断面図である。
第一金型から離型する工程を示す断面図である。
第二金型を準備する工程を示す断面図である。
第二金型に樹脂を配置する工程を示す断面図である。
第二金型を型開する工程を示す断面図である。
第二金型から離型する工程を示す断面図である。
実施形態2に係る面発光装置を示す模式断面図である。
実施形態3に係る面発光装置を示す模式断面図である。
実施形態4に係る面発光装置を示す模式断面図である。
実施形態5に係る面発光装置を示す模式断面図である。
発光モジュールの模式上面図である。
図21の発光モジュールに第一レンズ集合体を配置した状態の模式上面図である。
図22のXXIII-XXIII線における模式断面図である。
光源の一例を示す模式断面図である。
実施形態6に係る面発光装置を示す模式断面図である。
比較例1に係る面発光装置を示す模式断面図である。
比較例2に係る面発光装置を示す模式断面図である。
比較例3に係る面発光装置を示す模式断面図である。
比較例4に係る面発光装置を示す模式断面図である。
実施例1に係る面発光装置の輝度分布のシミュレーション結果を示すイメージ図である。
比較例1に係る面発光装置の輝度分布のシミュレーション結果を示すイメージ図である。
比較例2に係る面発光装置の輝度分布のシミュレーション結果を示すイメージ図である。
比較例3に係る面発光装置の輝度分布のシミュレーション結果を示すイメージ図である。
比較例4に係る面発光装置の輝度分布のシミュレーション結果を示すイメージ図である。
【発明を実施するための形態】
(【0011】以降は省略されています)
特許ウォッチbot のツイートを見る
この特許をJ-PlatPat(特許庁公式サイト)で参照する
関連特許
日亜化学工業株式会社
発光装置
1か月前
日亜化学工業株式会社
面状光源
5日前
日亜化学工業株式会社
発光装置
1か月前
日亜化学工業株式会社
発光装置
28日前
日亜化学工業株式会社
発光装置
27日前
日亜化学工業株式会社
発光素子
25日前
日亜化学工業株式会社
発光素子
25日前
日亜化学工業株式会社
光学薄膜の製造方法
4日前
日亜化学工業株式会社
垂直共振器面発光レーザ素子
25日前
日亜化学工業株式会社
軟磁性材料およびその製造方法
28日前
日亜化学工業株式会社
発光装置の製造方法及び発光装置
1か月前
日亜化学工業株式会社
発光モジュール及びモバイルデバイス
25日前
日亜化学工業株式会社
照射装置、発光装置、及び紫外光の照射方法
25日前
日亜化学工業株式会社
透光性部材の製造方法、透光性部材、及び発光装置
12日前
日亜化学工業株式会社
発光装置
1か月前
日亜化学工業株式会社
セラミックス基板及び発光装置、並びに、それらの製造方法
25日前
日亜化学工業株式会社
発光モジュール
18日前
日亜化学工業株式会社
発光装置および発光装置の製造方法
1か月前
日亜化学工業株式会社
正極活物質及び非水電解質二次電池用正極
27日前
日亜化学工業株式会社
面発光装置、レンズ積層体及びその製造方法、面発光装置の製造方法、レンズ集合体の製造方法
27日前
日亜化学工業株式会社
波長ビーム結合装置、ダイレクトダイオードレーザ装置、およびレーザ加工機
12日前
個人
積和演算用集積回路
26日前
サンケン電気株式会社
半導体装置
25日前
日機装株式会社
半導体発光装置
20日前
旭化成株式会社
発光素子
1か月前
エイブリック株式会社
縦型ホール素子
1か月前
エイブリック株式会社
縦型ホール素子
1か月前
ローム株式会社
半導体装置
4日前
ローム株式会社
抵抗チップ
1か月前
株式会社東芝
半導体装置
12日前
三菱電機株式会社
半導体装置
12日前
株式会社半導体エネルギー研究所
表示装置
1か月前
富士電機株式会社
半導体装置
1か月前
三菱電機株式会社
半導体装置
1か月前
株式会社半導体エネルギー研究所
表示装置
4日前
日亜化学工業株式会社
発光素子
1か月前
続きを見る
他の特許を見る