TOP
|
特許
|
意匠
|
商標
特許ウォッチ
Twitter
他の特許を見る
10個以上の画像は省略されています。
公開番号
2025163168
公報種別
公開特許公報(A)
公開日
2025-10-28
出願番号
2025129879,2024008521
出願日
2025-08-04,2021-09-22
発明の名称
発光装置および発光装置の製造方法
出願人
日亜化学工業株式会社
代理人
主分類
H01S
5/02208 20210101AFI20251021BHJP(基本的電気素子)
要約
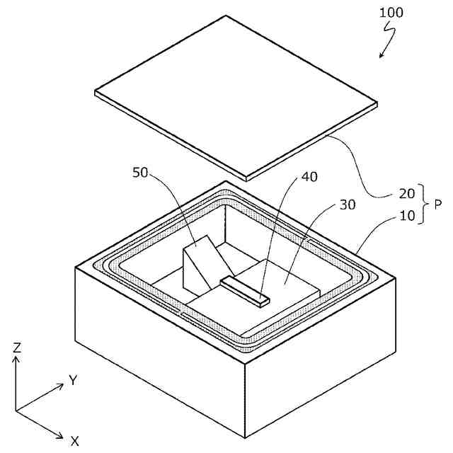
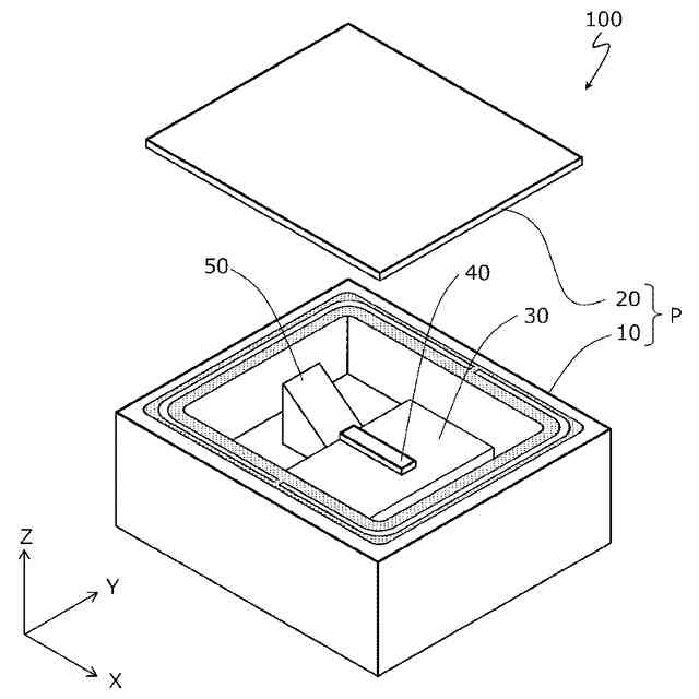
【課題】はんだボール発生などの製造不良を抑制する。
【解決手段】本開示の発光装置は、半導体発光素子およびパッケージを備える。パッケージは、基材と、基材に接合される蓋とを有する。基材は、半導体発光素子を直接または間接的に支持する第1上面領域と、第1上面領域の法線方向から見た平面視において、第1上面領域を囲む第2上面領域と、を有する。パッケージは、基材の第2上面領域上に位置する内側金属層、内側金属層の外縁に沿って並行する外側金属層、および、第2上面領域上における内側金属層と外側金属層との間に位置するスリット部を有する。平面視において、内側金属層の内縁は、蓋の外縁よりも内側に位置し、平面視において、外側金属層の外縁の少なくとも一部は、蓋の外縁よりも外側に位置する。蓋は、内側金属層上に設けられた接合部材によって基材に接合されている。
【選択図】図1
特許請求の範囲
【請求項1】
半導体発光素子と、
前記半導体発光素子を封止するパッケージと、
を備え、
前記パッケージは、基材と、前記基材に接合される蓋とを有しており、
前記基材は、
前記半導体発光素子を直接または間接的に支持する第1上面領域と、
前記第1上面領域の法線方向から見た平面視において、前記第1上面領域を囲む第2上面領域と、
を有し、
前記第2上面領域は、前記第1上面領域よりも上方に位置し、
前記パッケージの前記基材は、前記基材の前記第2上面領域上に位置する1または複数の基材側金属層を有し、
前記パッケージの前記蓋は、前記第1上面領域および前記第2上面領域に対向する下面領域のうち、前記1または複数の基体側金属層に対向する部分に位置する1または複数の蓋側金属層を有し、
前記平面視において、前記1または複数の基材側金属層の最外縁は、前記1または複数の蓋側金属層の最外縁よりも外側に位置し、
前記平面視において、前記1または複数の蓋側金属層の最内縁は、前記1または複数の基材側金属層の最内縁よりも内側に位置し、
前記蓋は、前記平面視において、前記1または複数の基材側金属層と前記1または複数の蓋側金属層が重なる領域上に設けられた接合部材によって前記基材に接合されており、
前記1または複数の基材側金属層のうち前記1または複数の蓋側金属層の最外縁よりも外側に位置する領域、及び、前記1または複数の蓋側金属層のうち前記1または複数の基材側金属層の最内縁よりも内側に位置する領域がそれぞれ、前記平面視において、前記1または複数の基材側金属層と前記1または複数の蓋側金属層が重なる領域からはみ出た前記接合部材を吸収する、発光装置。
続きを表示(約 710 文字)
【請求項2】
前記1または複数の基材側金属層は、互いに離隔した内側金属層および外側金属層を含む、請求項1に記載の発光装置。
【請求項3】
前記1または複数の基材側金属層は、互いに離隔せず、枝部を介して連結する内側金属層および外側金属層を含む、請求項1に記載の発光装置。
【請求項4】
前記平面視で、前記内側金属層と前記外側金属層の間に設けられるスリット部を有し、
前記接合部材は、前記内側金属層に設けられ、
前記平面視において、前記1または複数の基材側金属層と前記1または複数の蓋側金属層が重なる領域からはみ出た前記接合部材は、前記スリット部の外側にある前記外側金属層に吸収される、請求項2または3に記載の発光装置。
【請求項5】
前記1または複数の蓋側金属層は、互いに離隔した第1蓋側金属層および第2蓋側金属層を含む、請求項1乃至4のいずれか一項に記載の発光装置。
【請求項6】
前記1または複数の蓋側金属層は、前記平面視において、前記1または複数の基材側金属層と重なる位置から、前記1または複数の基材側金属層よりも内側にまで至る第1蓋側金属層を含む、請求項1に記載の発光装置。
【請求項7】
前記1または複数の蓋側金属層に設けられるリッジ部をさらに有し、
前記第1蓋側金属層は、前記平面視において、前記リッジ部を介して内側と外側に分かれる内側部分及び外側部分を有する、請求項1に記載の発光装置。
【請求項8】
前記接合部材ははんだである、請求項1乃至4のいずれか1項に記載の発光装置。
発明の詳細な説明
【技術分野】
【0001】
本開示は、発光装置および発光装置の製造方法に関する。
続きを表示(約 2,700 文字)
【背景技術】
【0002】
特許文献1は、電子部品および配線回路などを封止するパッケージを開示している。特許文献2は、赤外線検知素子を気密封止するパッケージを開示している。特許文献1および2のそれぞれに開示されているパッケージは、電子部品を支持する基材、および蓋を備える。基材に設けられた金属層と、蓋に設けられた金属層とがはんだによって接合されることで、電子部品はパッケージに封止される。
【先行技術文献】
【特許文献】
【0003】
特開2017-54856号公報
特開2014-67895号公報
【発明の概要】
【発明が解決しようとする課題】
【0004】
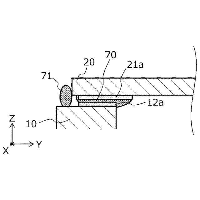
特許文献1または特許文献2に開示されるパッケージを採用した場合、基材と蓋とを接合する接合部材の一部がパッケージの外部に流れ出すことにより、はんだボール発生などの製造不良が生じる可能性がある。
【0005】
本開示は、このような課題を解決することが可能なパッケージを備える発光装置、および当該発光装置の製造方法を提供する。
【課題を解決するための手段】
【0006】
本開示の発光装置は、例示的な実施形態において、半導体発光素子と、前記半導体発光素子を封止するパッケージと、を備え、前記パッケージは、基材と、前記基材に接合される蓋とを有しており、前記基材は、前記半導体発光素子を直接または間接的に支持する第1上面領域と、前記第1上面領域の法線方向から見た平面視において、前記第1上面領域を囲む第2上面領域と、を有し、前記パッケージは、前記基材の前記第2上面領域上に位置する内側金属層、前記内側金属層の外縁に沿って並行する外側金属層、および、前記第2上面領域上における前記内側金属層と前記外側金属層との間に位置するスリット部を有しており、前記平面視において、前記内側金属層の内縁は、前記蓋の外縁よりも内側に位置し、前記平面視において、前記外側金属層の外縁の少なくとも一部は、前記蓋の前記外縁よりも外側に位置し、前記蓋は、前記内側金属層上に設けられた接合部材によって前記基材に接合されている。
【0007】
本開示の発光装置の製造方法は、例示的な実施形態において、平面視において、第1上面領域と前記第1上面領域を囲む第2上面領域とを有し、前記第2上面領域上に位置する内側金属層、前記内側金属層の外縁に沿って並行する外側金属層、および、前記第2上面領域上における前記内側金属層と前記外側金属層との間に位置するスリット部を備える基材と、蓋と、を準備する工程と、前記基材の前記第1上面領域上に半導体発光素子を配置する工程と、前記内側金属層に接合部材を付する工程と、前記接合部材を介して前記蓋と前記基材とを接合する工程と、を含む。
【発明の効果】
【0008】
本開示の実施形態によれば、接合部材が流れ出すことを抑制し、はんだボール発生などの製造不良を抑制することが可能なパッケージを備える発光装置、および当該発光装置の製造方法が提供される。
【図面の簡単な説明】
【0009】
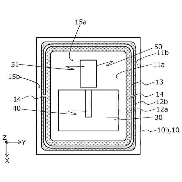
図1は、本開示の第1実施形態に係る発光装置の分解斜視図である。
図2は、本開示の第1実施形態に係る発光装置の平面図である。
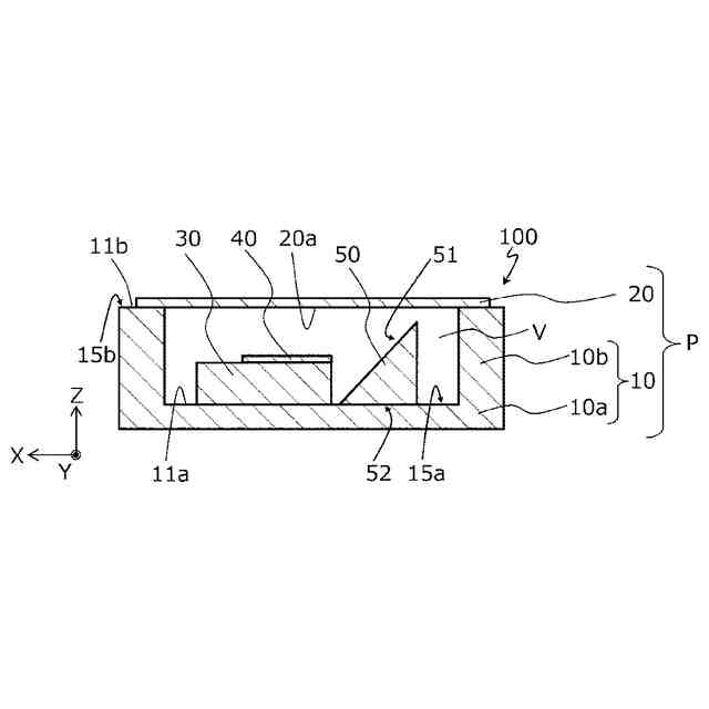
図3は、図2に示されるIII-III線に沿った発光装置の断面図である。
図4は、蓋を除いた状態の、本開示の第1実施形態に係る発光装置の平面図である。
図5は、蓋の底面図である。
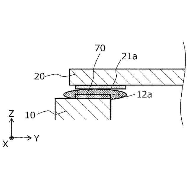
図6は、基材と蓋との接合部分の拡大図である。
図7Aは、流れ抑制構造がない場合にはんだボールが発生し得ることを説明するための模式図である。
図7Bは、流れ抑制構造がない場合にはんだボールが発生し得ることを説明するための模式図である。
図7Cは、流れ抑制構造がない場合にはんだボールが発生し得ることを説明するための模式図である。
図7Dは、流れ抑制構造がない場合にはんだボールが発生し得ることを説明するための模式図である。
図8Aは、流れ抑制構造がある場合にはんだボールの発生が抑制されることを説明するための模式図である。
図8Bは、流れ抑制構造がある場合にはんだボールの発生が抑制されることを説明するための模式図である。
図8Cは、流れ抑制構造がある場合にはんだボールの発生が抑制されることを説明するための模式図である。
図8Dは、流れ抑制構造がある場合にはんだボールの発生が抑制されることを説明するための模式図である。
図9は、第2蓋側金属層をさらに有する蓋の底面図である。
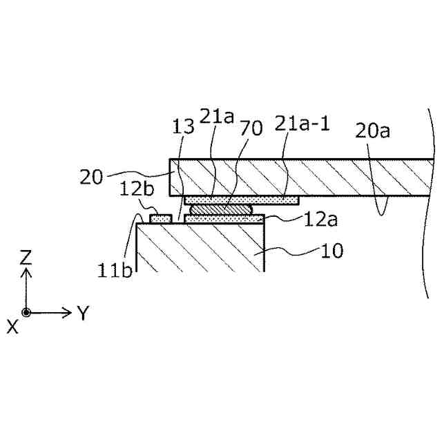
図10は、流れ抑制構造の変形例による基材と蓋との接合部分の拡大図である。
図11は、リッジ部をさらに有する蓋の底面図である。
図12は、流れ抑制構造の他の変形例による基材と蓋との接合部分の拡大図である。
図13は、蓋を除いた状態の、複数の半導体発光素子が配置された本開示の第1実施形態に係る発光装置の平面図である。
図14は、本開示の第2実施形態に係る発光装置の分解斜視図である。
図15は、蓋を除いた状態の、本開示の第2実施形態に係る発光装置の平面図である。
図16は、XZ平面に平行な本開示の第2実施形態に係る発光装置の断面図である。
図17は、基材と蓋との接合部分の拡大図である。
図18は、内側金属層の内縁の内側に位置する他の内側金属層をさらに有する基材の平面図である。
図19は、蓋を除いた状態の、複数の半導体発光素子が配置された本開示の第2実施形態に係る発光装置の平面図である。
【発明を実施するための形態】
【0010】
以下、図面を参照しながら、本開示の実施形態を詳細に説明する。以下の実施形態は、例示であり、本開示による発光装置は、以下の実施形態に限られない。例えば、以下の実施形態で示される数値、形状、材料、ステップ、そのステップの順序等は、あくまでも一例であり、技術的に矛盾が生じない限りにおいて種々の改変が可能である。また、以下に説明する様々な態様は、あくまでも例示であり、技術的に矛盾が生じない限りにおいて種々の組み合わせが可能である。
(【0011】以降は省略されています)
この特許をJ-PlatPat(特許庁公式サイト)で参照する
関連特許
日亜化学工業株式会社
発光装置
27日前
日亜化学工業株式会社
発光素子
25日前
日亜化学工業株式会社
発光装置
1か月前
日亜化学工業株式会社
発光装置
1か月前
日亜化学工業株式会社
発光装置
28日前
日亜化学工業株式会社
発光素子
25日前
日亜化学工業株式会社
面状光源
5日前
日亜化学工業株式会社
半導体レーザ素子
1か月前
日亜化学工業株式会社
光学薄膜の製造方法
4日前
日亜化学工業株式会社
垂直共振器面発光レーザ素子
25日前
日亜化学工業株式会社
軟磁性材料およびその製造方法
28日前
日亜化学工業株式会社
発光装置の製造方法及び発光装置
1か月前
日亜化学工業株式会社
発光モジュール及びモバイルデバイス
25日前
日亜化学工業株式会社
照射装置、発光装置、及び紫外光の照射方法
25日前
日亜化学工業株式会社
透光性部材の製造方法及び発光装置の製造方法
1か月前
日亜化学工業株式会社
透光性部材の製造方法、透光性部材、及び発光装置
12日前
日亜化学工業株式会社
発光装置
1か月前
日亜化学工業株式会社
面状光源
1か月前
日亜化学工業株式会社
発光装置
1か月前
日亜化学工業株式会社
セラミックス基板及び発光装置、並びに、それらの製造方法
25日前
日亜化学工業株式会社
発光モジュール
18日前
日亜化学工業株式会社
発光装置および発光装置の製造方法
1か月前
日亜化学工業株式会社
正極活物質及び非水電解質二次電池用正極
27日前
日亜化学工業株式会社
面発光装置、レンズ積層体及びその製造方法、面発光装置の製造方法、レンズ集合体の製造方法
27日前
日亜化学工業株式会社
波長ビーム結合装置、ダイレクトダイオードレーザ装置、およびレーザ加工機
12日前
東ソー株式会社
絶縁電線
1か月前
APB株式会社
蓄電セル
1か月前
マクセル株式会社
電源装置
1か月前
ローム株式会社
半導体装置
1か月前
日新イオン機器株式会社
イオン源
1か月前
株式会社東芝
端子台
1か月前
三菱電機株式会社
回路遮断器
20日前
株式会社ホロン
冷陰極電子源
1か月前
株式会社GSユアサ
蓄電装置
26日前
株式会社GSユアサ
蓄電装置
12日前
富士電機株式会社
電磁接触器
12日前
続きを見る
他の特許を見る