TOP
|
特許
|
意匠
|
商標
特許ウォッチ
Twitter
他の特許を見る
10個以上の画像は省略されています。
公開番号
2025165179
公報種別
公開特許公報(A)
公開日
2025-11-04
出願番号
2024069131
出願日
2024-04-22
発明の名称
発光装置
出願人
日亜化学工業株式会社
代理人
個人
,
個人
,
個人
,
個人
主分類
F21S
2/00 20160101AFI20251027BHJP(照明)
要約
【課題】装置の小型化及び低コスト化を可能とする発光装置を提供する。
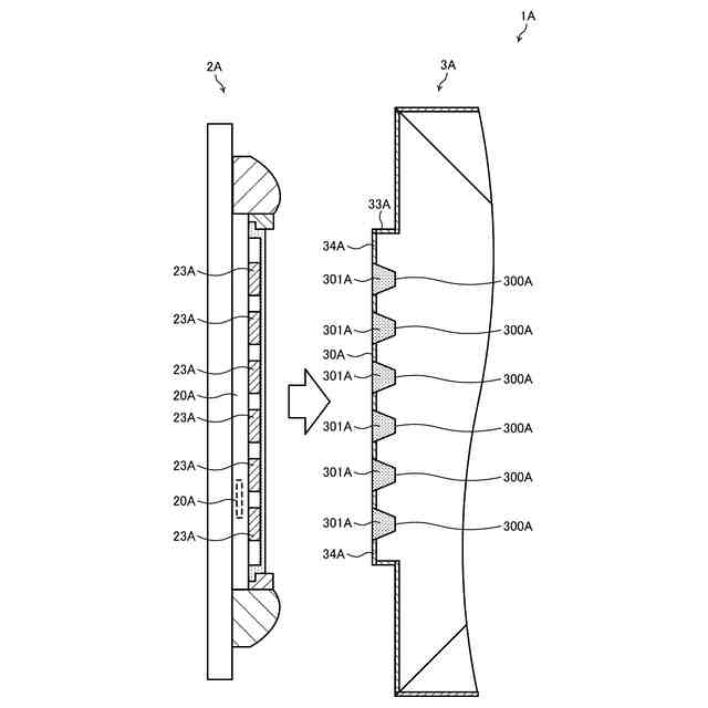
【解決手段】発光装置1Dは、個別に又はグループごとに駆動可能な複数の第1発光素子23Aを有する第1光源2Aと、個別に又はグループごとに駆動可能な複数の第2発光素子23Bを有する第2光源2Bと、光学部材3Dとを備える。光学部材3Dは、反射透過膜31を内部に有するとともに、第1光源2Aに対向して配置される第1入射面30Aと、第2光源2Bに対向して配置される第2入射面30Bと、第1光源2A及び第2光源2Bから第1入射面30A及び第2入射面30Bに入射されて反射透過膜31を反射又は透過した光が出射光LOとして出射される出射面32とを有する。第1入射面30Aは、複数の第1発光素子23Aそれぞれに対応する位置に複数の第1凹部300Aを有する。第2入射面30Bは、複数の第2発光素子23Bそれぞれに対応する位置に複数の第2凹部300Bを有する。
【選択図】 図13
特許請求の範囲
【請求項1】
個別に又はグループごとに駆動可能な複数の第1発光素子を有する第1光源と、
個別に又はグループごとに駆動可能な複数の第2発光素子を有する第2光源と、
反射透過膜を内部に有するとともに、前記第1光源に対向して配置される第1入射面と、前記第2光源に対向して配置される第2入射面と、前記第1光源及び前記第2光源から前記第1入射面及び前記第2入射面に入射されて前記反射透過膜を反射又は透過した光が出射光として出射される出射面と、を有する光学部材と、を備え、
前記第1入射面は、前記複数の第1発光素子それぞれに対応する位置に複数の第1凹部を有し、前記第1入射面に入射されて前記第1凹部を通過した後の光は第1の色であり、
前記第2入射面は、前記複数の第2発光素子それぞれに対応する位置に複数の第2凹部を有し、前記第2入射面に入射されて前記第2凹部を通過した後の光は第2の色である、
発光装置。
続きを表示(約 1,200 文字)
【請求項2】
前記第1凹部及び前記第2凹部には、導光部材がそれぞれ配置されており、
前記導光部材の屈折率は、空気の屈折率と前記光学部材の屈折率との間である、
請求項1に記載の発光装置。
【請求項3】
前記複数の第1発光素子及び前記複数の第2発光素子は、青色の光をそれぞれ出射し、
前記第1凹部には、青色の光を前記第1の色の光に波長変換する第1波長変換部材が配置されており、
前記第2凹部には、青色の光を前記第2の色の光に波長変換する第2波長変換部材が配置されている、
請求項1に記載の発光装置。
【請求項4】
前記複数の第1発光素子及び前記複数の第2発光素子は、青色の光をそれぞれ出射し、
前記第1光源は、青色の光を前記第1の色の光に波長変換する第1波長変換部材を有し、
前記第2光源は、青色の光を前記第2の色の光に波長変換する第2波長変換部材を有する、
請求項1に記載の発光装置。
【請求項5】
前記光学部材は、
前記第1入射面に設けられて、前記第1凹部以外の部分を遮光する第1遮光部材と、
前記第2入射面に設けられて、前記第2凹部以外の部分を遮光する第2遮光部材と、
を有する、
請求項1に記載の発光装置。
【請求項6】
前記光学部材は、前記出射面に設けられた遮光部材を有し、
前記遮光部材は、前記出射光が出射される範囲よりも狭い開口部を有し、前記開口部以外の部分を遮光する、
請求項1に記載の発光装置。
【請求項7】
前記第1凹部及び前記第2凹部は、前記第1入射面及び前記第2入射面に対して、角錐状又は角錐台状にそれぞれ形成されている、
請求項1に記載の発光装置。
【請求項8】
前記第1光源の一部及び前記第2光源の一部は、前記第1入射面及び前記第2入射面にそれぞれ接して配置されており、
前記光学部材は、
前記第1入射面に設けられて、前記第1光源を前記第1入射面に位置決めする第1位置決め部と、
前記第2入射面に設けられて、前記第2光源を前記第2入射面に位置決めする第2位置決め部と、を有する、
請求項1に記載の発光装置。
【請求項9】
個別に又はグループごとに駆動可能な複数の第3発光素子を有する第3光源をさらに備え、
前記光学部材は、前記第3光源に対向して配置される第3入射面をさらに有し、
前記出射面は、前記第1光源、前記第2光源及び前記第3光源から前記第1入射面、前記第2入射面及び前記第3入射面に入射されて前記反射透過膜を反射又は透過した光が出射光として出射されるものであり、
前記第3入射面は、前記複数の第3発光素子それぞれに対応する位置に複数の第3凹部を有し、前記第3入射面に入射されて前記第3凹部を通過した後の光は第3の色である、
請求項1に記載の発光装置。
発明の詳細な説明
【技術分野】
【0001】
本発明は、発光装置に関する。
続きを表示(約 2,300 文字)
【背景技術】
【0002】
従来、複数の光源を組み合わせて構成された発光装置が知られている。例えば、特許文献1には、複数のLEDアレイによる照明光のそれぞれを、レンズ群及びダイクロイックミラーを介して、1つの光路の照明光に合成して出射する発光装置が開示されている。
【先行技術文献】
【特許文献】
【0003】
特開2014-071246号公報
【発明の概要】
【発明が解決しようとする課題】
【0004】
特許文献1に開示された発光装置では、複数のLEDアレイのそれぞれに対してレンズ群及びダイクロイックミラーが設けられている。そのため、LEDアレイと、ダイクロイックミラーとの間に、レンズ群のような光学部品が配置されることになるため、発光装置全体としては大型化し、部品点数が多くなることによるコストアップを招いてしまうという問題点があった。
【0005】
本発明は、このような事情に鑑みてなされたものであり、装置の小型化及び低コスト化を可能とする発光装置を提供することを目的とする。
【課題を解決するための手段】
【0006】
本発明の一態様に係る発光装置は、
個別に又はグループごとに駆動可能な複数の第1発光素子を有する第1光源と、
個別に又はグループごとに駆動可能な複数の第2発光素子を有する第2光源と、
反射透過膜を内部に有するとともに、前記第1光源に対向して配置される第1入射面と、前記第2光源に対向して配置される第2入射面と、前記第1光源及び前記第2光源から前記第1入射面及び前記第2入射面に入射されて前記反射透過膜を反射又は透過した光が出射光として出射される出射面と、を有する光学部材と、を備え、
前記第1入射面は、前記複数の第1発光素子それぞれに対応する位置に複数の第1凹部を有し、前記第1入射面に入射されて前記第1凹部を通過した後の光は第1の色であり、
前記第2入射面は、前記複数の第2発光素子それぞれに対応する位置に複数の第2凹部を有し、前記第2入射面に入射されて前記第2凹部を通過した後の光は第2の色である。
【発明の効果】
【0007】
本発明の上記態様に係る発光装置によれば、複数の第1発光素子からの光が、光学部材の第1入射面が有する複数の第1凹部にそれぞれ入射されて、複数の第2発光素子からの光が、光学部材の第2入射面が有する複数の第2凹部にそれぞれ入射されると、各光は光学部材の反射透過膜を反射又は透過し、光学部材の出射面から出射光として出射される。そのため、第1光源及び第2光源と、光学部材との間に、光学部材とは別の光学部品を配置しなくても、第1光源及び第2光源からの光のそれぞれを、光学部材の出射面から出射光として出射することができる。したがって、発光装置の小型化及び低コスト化を図ることができる。
【図面の簡単な説明】
【0008】
第1の実施形態に係る発光装置1Aの一例を示す全体構成図である。
光学部材3Aの一例を示す概略正面図(中央)、概略左側面図(左側)、及び、概略平面図(上側)である。
第1の実施形態に係る発光装置1Aにおいて、位置決め前の第1光源2A及び光学部材3Aを示す部分構成図である。
第1の実施形態に係る発光装置1Aにおいて、位置決め後の第1光源2A及び光学部材3Aを示す部分構成図である。
光源2の一例を示す斜視図である。
光源2の一例を示す平面図である。
図5に示すVI部の拡大平面図である。
図5に示すVII-VII線の断面図である。
図7に示すVIII部の拡大断面図である。
第2の実施形態に係る発光装置1Bを示す全体構成図である。
第2の実施形態に係る発光装置1Bを示す部分構成図である。
第3の実施形態に係る発光装置1Cを示す全体構成図である。
第3の実施形態に係る発光装置1Cにおいて、位置決め前の第1光源2A及び光学部材3Aを示す部分構成図である。
第3の実施形態に係る発光装置1Cにおいて、位置決め後の第1光源2A及び光学部材3Aを示す部分構成図である。
第4の実施形態に係る発光装置1Dを示す全体構成図である。
【発明を実施するための形態】
【0009】
以下、図面を参照して本発明の実施形態について説明する。なお、本実施形態に係る発光装置1A~1Dは、本発明の技術思想を具体化するためのものであって、特定的な記載がない限り、本発明を以下のものに限定しない。各図面に示す部材の大きさや位置関係は適宜誇張されたり、部材の一部が簡略化又は省略されていたりする場合もある。
【0010】
本実施形態では、説明の便宜上、XYZ直交座標系を採用して説明する。発光装置1A~1Dが備える光源2の発光素子23(詳細は後述する)の厚さ方向を「Z軸」、厚さ方向にそれぞれ直交する二方向を「X軸」及び「Y軸」とする。Z軸において、光源2による光が主に進行する側の方向を「上」とし、その反対方向を「下」とする。ただし、「上」及び「下」の表現も便宜的なものであり、重力の方向とは無関係である。また、本明細書における「平面視」との表現は、Z軸の上側から下側を見た場合を示すものとする。
(【0011】以降は省略されています)
特許ウォッチbot のツイートを見る
この特許をJ-PlatPat(特許庁公式サイト)で参照する
関連特許
日亜化学工業株式会社
発光装置
今日
日亜化学工業株式会社
発光装置
1日前
日亜化学工業株式会社
発光装置
7日前
日亜化学工業株式会社
発光装置
8日前
日亜化学工業株式会社
半導体レーザ素子
9日前
日亜化学工業株式会社
軟磁性材料およびその製造方法
1日前
日亜化学工業株式会社
発光装置の製造方法及び発光装置
7日前
日亜化学工業株式会社
発光装置
8日前
日亜化学工業株式会社
発光装置および発光装置の製造方法
8日前
日亜化学工業株式会社
正極活物質及び非水電解質二次電池用正極
今日
日亜化学工業株式会社
面発光装置、レンズ積層体及びその製造方法、面発光装置の製造方法、レンズ集合体の製造方法
今日
個人
室外機器
4か月前
個人
照明システム
4か月前
個人
消火器設置表示装置
9日前
個人
車載機器の通気構造
1か月前
株式会社遠藤照明
照明器具
5か月前
株式会社遠藤照明
照明装置
1か月前
個人
LEDライト
4か月前
デンカ株式会社
照明装置
4か月前
株式会社小糸製作所
車両用灯具
29日前
能美防災株式会社
表示灯
1か月前
株式会社小糸製作所
車両用灯具
29日前
デンカ株式会社
道路用照明
4か月前
アクア株式会社
冷蔵庫
3か月前
スタンレー電気株式会社
照射用光源
1か月前
株式会社小糸製作所
誘導装置
1か月前
株式会社小糸製作所
投光装置
1か月前
フルトラム株式会社
光学機器
28日前
株式会社小糸製作所
投光装置
1か月前
株式会社小糸製作所
車両用灯具
4か月前
株式会社小糸製作所
車両用灯具
1日前
株式会社小糸製作所
表示用灯具
1か月前
株式会社小糸製作所
車両用灯具
5か月前
株式会社小糸製作所
車両用灯具
15日前
株式会社小糸製作所
車両用灯具
13日前
株式会社小糸製作所
表示用灯具
1か月前
続きを見る
他の特許を見る