TOP
|
特許
|
意匠
|
商標
特許ウォッチ
Twitter
他の特許を見る
10個以上の画像は省略されています。
公開番号
2025167627
公報種別
公開特許公報(A)
公開日
2025-11-07
出願番号
2024072447
出願日
2024-04-26
発明の名称
垂直共振器面発光レーザ素子
出願人
日亜化学工業株式会社
代理人
弁理士法人新樹グローバル・アイピー
主分類
H01S
5/183 20060101AFI20251030BHJP(基本的電気素子)
要約
【課題】駆動時間が改善された垂直共振器面発光レーザ素子を提供することを目的とする。
【解決手段】
第1光反射層と、前記第1光反射層の上に配置された第1導電型の第1不純物を含む第1半導体層部と、第2導電型の第2不純物を含む第2半導体層部と、前記第1半導体層部と前記第2半導体層部との間に配置された活性層と、前記第2半導体層部の上に配置され、前記第1導電型の第3不純物を前記第1不純物よりも高い濃度で含み、厚さが10nm以上100nm未満である第3半導体層部と、前記第3半導体層部の上に配置される第2光反射層と、前記第1半導体層部と電気的に接続される第1電極と、前記第3半導体層部と接触する第2電極と、を備える、垂直共振器面発光レーザ素子。
【選択図】図2
特許請求の範囲
【請求項1】
第1光反射層と、
前記第1光反射層の上に配置された第1導電型の第1不純物を含む第1半導体層部と、第2導電型の第2不純物を含む第2半導体層部と、前記第1半導体層部と前記第2半導体層部との間に配置された活性層と、
前記第2半導体層部の上に配置され、前記第1導電型の第3不純物を前記第1不純物よりも高い濃度で含み、厚さが10nm以上100nm未満である第3半導体層部と、
前記第3半導体層部の上に配置される第2光反射層と、
前記第1半導体層部と電気的に接続される第1電極と、
前記第3半導体層部と接触する第2電極と、
を備える、垂直共振器面発光レーザ素子。
続きを表示(約 1,000 文字)
【請求項2】
前記第3半導体層部は、前記第2半導体層部および前記第2電極と接触する第1層からなり、
前記第1層の厚さは10nm以上30nm未満である、
請求項1に記載の垂直共振器面発光レーザ素子。
【請求項3】
前記第3半導体層部は、
前記第2半導体層部と接触し、前記第3不純物を第1濃度で含む第1層と、
前記第1層の上に配置され、前記第3不純物を第1濃度よりも低い第2濃度で含む第2層と、
を含み、
前記第1層と前記第2層の厚さの合計が10nm以上100nm未満である、
請求項1に記載の垂直共振器面発光レーザ素子。
【請求項4】
前記第1層の厚さは、10nm以上30nm以下である、
請求項3に記載の垂直共振器面発光レーザ素子。
【請求項5】
前記第2層の厚さは、0nmより大きく30nm以下である、
請求項3に記載の垂直共振器面発光レーザ素子。
【請求項6】
前記第3半導体層部に含まれる前記第3不純物の濃度は、2×10
19
cm
-3
以上1×10
22
cm
-3
以下である、
請求項1に記載の垂直共振器面発光レーザ素子。
【請求項7】
前記第3不純物はゲルマニウムである、
請求項1から3のいずれ1つに記載の垂直共振器面発光レーザ素子。
【請求項8】
前記第2半導体層部は、電流注入領域と、前記電流注入領域の周囲を囲む非電流注入領域と、を有する、
請求項1から3のいずれ1つに記載の垂直共振器面発光レーザ素子。
【請求項9】
前記非電流注入領域は前記第2半導体層部の表面の一部に設けられたガリウムを含む酸化物層を含み、
前記酸化物層は少なくとも一部にアルミニウムを有する、
請求項8に記載の垂直共振器面発光レーザ素子。
【請求項10】
前記第3半導体層部の上面に垂直な断面視において、
前記第2電極の端部と前記電流注入領域の端部との間の、前記第3半導体層部の上面と平行な方向の最短距離は、1μm以上10μm以下である、
請求項9に記載の垂直共振器面発光レーザ素子。
(【請求項11】以降は省略されています)
発明の詳細な説明
【技術分野】
【0001】
本開示は、垂直共振器面発光レーザ素子に関する。
続きを表示(約 1,400 文字)
【背景技術】
【0002】
近年、半導体レーザ素子は様々な分野で使用されている。垂直共振器面発光レーザ(VCSEL)素子は比較的消費電力が低い半導体レーザ素子として注目されている。
【0003】
特許文献1では、p型GaN層の上に、p++型GaN層とn++型GaN層を有するトンネル接合層と、n型GaN電流拡散層と、を含む窒化物半導体発光素子が開示されている。特許文献1では、n++型GaN層の厚さは15nmであり、n型GaN電流拡散層の厚さはおよそ350nmである面発光レーザの例が開示されている。
【先行技術文献】
【特許文献】
【0004】
特開2021―036553号公報
【発明の概要】
【発明が解決しようとする課題】
【0005】
垂直共振器面発光レーザ素子は駆動可能な時間の改善が求められている。
【0006】
本開示の一実施形態は、駆動時間が改善された垂直共振器面発光レーザ素子を提供することを目的とする。
【課題を解決するための手段】
【0007】
第一の実施形態は、第1光反射層と、前記第1光反射層の上に配置された第1導電型の第1不純物を含む第1半導体層部と、第2導電型の第2不純物を含む第2半導体層部と、前記第1半導体層部と前記第2半導体層部との間に配置された活性層と、前記第2半導体層部の上に配置され、前記第1導電型の第3不純物を前記第1不純物よりも高い濃度で含み、厚さが10nm以上100nm未満である第3半導体層部と、前記第3半導体層部の上に配置される第2光反射層と、前記第1半導体層部と電気的に接続される第1電極と、前記第3半導体層部と接触する第2電極と、を備える、垂直共振器面発光レーザ素子である。
【発明の効果】
【0008】
本開示の一実施形態によれば、駆動時間が改善された垂直共振器面発光レーザ素子を提供することができる。
【図面の簡単な説明】
【0009】
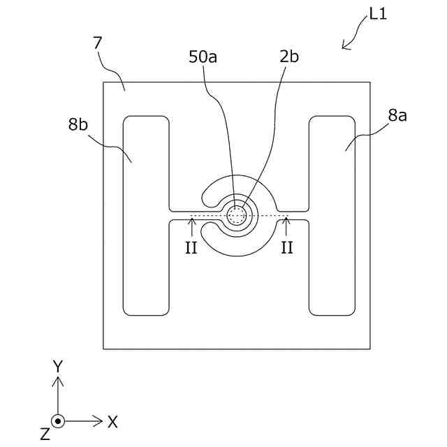
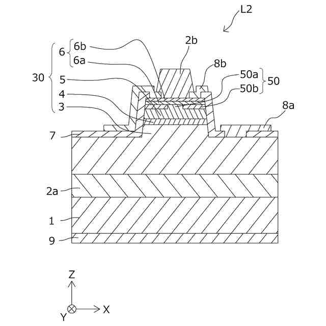
実施形態1の垂直共振器面発光レーザ素子の上面図である。
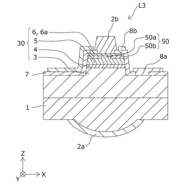
図1のII-II線に沿った断面図である。
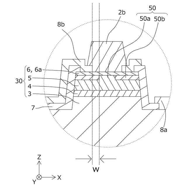
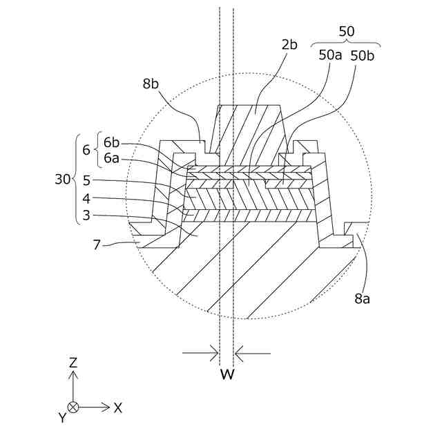
図2の第2半導体層部付近の拡大図である。
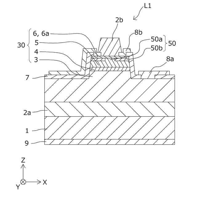
実施形態2の垂直共振器面発光レーザ素子の断面図である。
第2半導体層部付近の拡大図である。
実施形態3の垂直共振器面発光レーザ素子の断面図である。
実施形態4の垂直共振器面発光レーザアレイの平面図である。
実施例1、2および参考例1の垂直共振器面発光レーザ素子のI-L特性を表すグラフである。
実施例3および参考例2の垂直共振器面発光レーザ素子のI-L特性を表すグラフである。
実施例1、2および参考例1の垂直共振器面発光レーザ素子のライフ特性を表すグラフである。
実施例3および参考例2の垂直共振器面発光レーザ素子のライフ特性を表すグラフである。
【発明を実施するための形態】
【0010】
以下、本発明の実施形態を詳細に説明する。ただし、以下に示す実施形態は、本発明の技術思想を具体化するための、垂直共振器面発光レーザ素子およびその製造方法を例示するものであって、本発明は、以下に示す垂直共振器面発光レーザ素子およびその製造方法に限定されない。
(【0011】以降は省略されています)
特許ウォッチbot のツイートを見る
この特許をJ-PlatPat(特許庁公式サイト)で参照する
関連特許
日亜化学工業株式会社
発光素子
27日前
日亜化学工業株式会社
面状光源
7日前
日亜化学工業株式会社
発光装置
1か月前
日亜化学工業株式会社
発光素子
27日前
日亜化学工業株式会社
発光装置
1か月前
日亜化学工業株式会社
発光装置
29日前
日亜化学工業株式会社
発光装置
1か月前
日亜化学工業株式会社
半導体レーザ素子
1か月前
日亜化学工業株式会社
光学薄膜の製造方法
6日前
日亜化学工業株式会社
垂直共振器面発光レーザ素子
27日前
日亜化学工業株式会社
軟磁性材料およびその製造方法
1か月前
日亜化学工業株式会社
発光装置の製造方法及び発光装置
1か月前
日亜化学工業株式会社
発光モジュール及びモバイルデバイス
27日前
日亜化学工業株式会社
照射装置、発光装置、及び紫外光の照射方法
27日前
日亜化学工業株式会社
透光性部材の製造方法、透光性部材、及び発光装置
14日前
日亜化学工業株式会社
発光装置
1か月前
日亜化学工業株式会社
発光装置
1日前
日亜化学工業株式会社
面状光源
1か月前
日亜化学工業株式会社
セラミックス基板及び発光装置、並びに、それらの製造方法
27日前
日亜化学工業株式会社
波長変換部材、光源モジュール、及び、波長変換部材の製造方法
1日前
日亜化学工業株式会社
発光モジュール
20日前
日亜化学工業株式会社
発光装置および発光装置の製造方法
1か月前
日亜化学工業株式会社
正極活物質及び非水電解質二次電池用正極
29日前
日亜化学工業株式会社
面発光装置、レンズ積層体及びその製造方法、面発光装置の製造方法、レンズ集合体の製造方法
29日前
日亜化学工業株式会社
波長ビーム結合装置、ダイレクトダイオードレーザ装置、およびレーザ加工機
14日前
APB株式会社
蓄電セル
1か月前
東ソー株式会社
絶縁電線
1か月前
個人
フレキシブル電気化学素子
1か月前
日新イオン機器株式会社
イオン源
1か月前
マクセル株式会社
電源装置
1か月前
ローム株式会社
半導体装置
1か月前
株式会社ユーシン
操作装置
1か月前
株式会社東芝
端子台
1か月前
株式会社ホロン
冷陰極電子源
1か月前
株式会社GSユアサ
蓄電設備
1か月前
株式会社GSユアサ
蓄電装置
1か月前
続きを見る
他の特許を見る