TOP
|
特許
|
意匠
|
商標
特許ウォッチ
Twitter
他の特許を見る
10個以上の画像は省略されています。
公開番号
2025177469
公報種別
公開特許公報(A)
公開日
2025-12-05
出願番号
2024084328
出願日
2024-05-23
発明の名称
蓋部材及びその製造方法、発光装置
出願人
日亜化学工業株式会社
代理人
個人
主分類
H01S
5/022 20210101AFI20251128BHJP(基本的電気素子)
要約
【課題】発光装置などの電子デバイスを小型化でき、気密封止に優れた蓋部材の提供。
【解決手段】本開示の一実施形態に係る蓋部材は、上面、下面、及び前記上面の内縁と前記下面の内縁とを接続する内側面、を備えた枠状の遮光性部材と、前記遮光性部材の上面側に接合され、前記遮光性部材の開口を塞ぐ透光性部材と、を有し、前記内側面は、上面視で、前記上面の内縁よりも前記上面の内縁によって画定される上面側開口の中心側に延びる第1領域を有し、前記内側面は、下面視で、前記下面の内縁よりも前記下面の内縁によって画定される下面側開口の中心側に延びる第2領域を有し、前記下面には、金属膜が設けられ、前記金属膜は、前記内側面に達していない。
【選択図】図1
特許請求の範囲
【請求項1】
上面、下面、及び前記上面の内縁と前記下面の内縁とを接続する内側面、を備えた枠状の遮光性部材と、
前記遮光性部材の上面側に接合され、前記遮光性部材の開口を塞ぐ透光性部材と、を有し、
前記内側面は、上面視で、前記上面の内縁よりも前記上面の内縁によって画定される上面側開口の中心側に延びる第1領域を有し、
前記内側面は、下面視で、前記下面の内縁よりも前記下面の内縁によって画定される下面側開口の中心側に延びる第2領域を有し、
前記下面には、金属膜が設けられ、
前記金属膜は、前記内側面に達していない、蓋部材。
続きを表示(約 1,400 文字)
【請求項2】
前記第1領域は、上面視で、前記上面の内縁の全長にわたって、前記上面の内縁よりも前記上面側開口の中心側に延びる領域であり、
前記第2領域は、下面視で、前記下面の内縁の全長にわたって、前記下面の内縁よりも前記下面側開口の中心側に延びる領域である、請求項1に記載の蓋部材。
【請求項3】
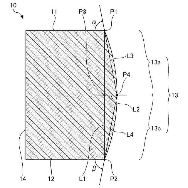
前記遮光性部材の上面と垂直な方向の断面視で、前記内側面が曲線状である、請求項1に記載の蓋部材。
【請求項4】
前記遮光性部材の上面と垂直な方向の断面視で、前記内側面は、
前記上面と接続する第1接続点と、
前記下面と接続する第2接続点と、
前記第1接続点と前記第2接続点を通る第1の直線の中点を通り該第1の直線に垂直な第2の直線と交わる交点と、
を有し、
前記第1接続点と前記交点とを通る直線と前記上面とのなす角度、及び、
前記第2接続点と前記交点とを通る直線と前記下面とのなす角度は、
55度以上90度未満である、請求項1に記載の蓋部材。
【請求項5】
前記遮光性部材は、シリコンから構成され、
前記透光性部材は、ガラスから構成されている、請求項1に記載の蓋部材。
【請求項6】
前記金属膜から前記下面の内縁までの距離は、0以上1μm以下である、請求項1に記載の蓋部材。
【請求項7】
基板と、
前記基板の上面に配置された発光素子と、
請求項1から6のいずれか1項に記載の蓋部材と、を有し、
前記遮光性部材の下面は、前記基板の上面の外周部に接合され、
前記発光素子は、前記基板と前記蓋部材により封止される、発光装置。
【請求項8】
板状の遮光性部材を準備する工程と、
前記遮光性部材の第1主面に、前記第1主面を露出する第1開口部が形成された金属膜を設ける工程と、
前記遮光性部材の第2主面の、前記第1主面側から視て前記第1開口部と重なる位置に、前記第2主面を露出する第2開口部が形成された被覆膜を設ける工程と、
前記遮光性部材に対して前記第1主面側及び前記第2主面側からエッチング処理を行い、前記第1開口部から前記第2開口部まで貫通する貫通孔を形成する工程と、
前記遮光性部材の前記第2主面に、前記貫通孔を塞ぐ板状の透光性部材を配置する工程と、を有し、
前記貫通孔を形成する工程において、
前記金属膜の側から形成された第1の凹部と前記被覆膜の側から形成された第2の凹部とが貫通することで前記貫通孔が形成される、蓋部材の製造方法。
【請求項9】
前記貫通孔を形成する工程と前記透光性部材を配置する工程との間に、前記被覆膜を除去する工程を有する、請求項8に記載の蓋部材の製造方法。
【請求項10】
前記貫通孔を形成する工程では、
前記第1の凹部と前記第2の凹部を貫通し、さらに、貫通後もエッチング処理を継続することで、
前記第1の凹部と前記第2の凹部の貫通時点における、前記第1の凹部の内側面と前記第2の凹部の内側面とが接続した内側面をさらにエッチングし、前記蓋部材の内側面を形成する、請求項8に記載の蓋部材の製造方法。
(【請求項11】以降は省略されています)
発明の詳細な説明
【技術分野】
【0001】
本開示は、蓋部材及びその製造方法、発光装置に関する。
続きを表示(約 2,300 文字)
【背景技術】
【0002】
発光装置などの電子デバイスの蓋に用いるカバー部材が知られている。例えば、貫通孔を有するスペーサと、スペーサの貫通孔を塞ぐようにスペーサ上に配置されているカバーと、を備えるカバー部材が挙げられる(例えば、特許文献1参照)。
【先行技術文献】
【特許文献】
【0003】
特開2019-62029号公報
【発明の概要】
【発明が解決しようとする課題】
【0004】
本開示は、発光装置などの電子デバイスを小型化でき、気密封止に優れた蓋部材及びその製造方法の提供を目的とする。また、この蓋部材を有する発光装置の提供を目的とする。
【課題を解決するための手段】
【0005】
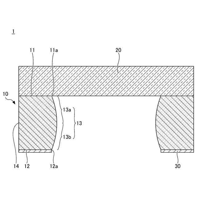
本開示の一実施形態に係る蓋部材は、上面、下面、及び前記上面の内縁と前記下面の内縁とを接続する内側面、を備えた枠状の遮光性部材と、前記遮光性部材の上面側に接合され、前記遮光性部材の開口を塞ぐ透光性部材と、を有し、前記内側面は、上面視で、前記上面の内縁よりも前記上面の内縁によって画定される上面側開口の中心側に延びる第1領域を有し、前記内側面は、下面視で、前記下面の内縁よりも前記下面の内縁によって画定される下面側開口の中心側に延びる第2領域を有し、前記下面には、金属膜が設けられ、前記金属膜は、前記内側面に達していない。
【0006】
本開示の一実施形態に係る蓋部材の製造方法は、板状の遮光性部材を準備する工程と、前記遮光性部材の第1主面に、前記第1主面を露出する第1開口部が形成された金属膜を設ける工程と、前記遮光性部材の第2主面の、前記第1主面側から視て前記第1開口部と重なる位置に、前記第2主面を露出する第2開口部が形成された被覆膜を設ける工程と、前記遮光性部材に対して前記第1主面側及び前記第2主面側からエッチング処理を行い、前記第1開口部から前記第2開口部まで貫通する貫通孔を形成する工程と、前記遮光性部材の前記第2主面に、前記貫通孔を塞ぐ板状の透光性部材を配置する工程と、を有し、前記貫通孔を形成する工程において、前記金属膜の側から形成された第1の凹部と前記被覆膜の側から形成された第2の凹部とが貫通することで前記貫通孔が形成される。
【0007】
本開示の一実施形態に係る発光装置は、基板と、前記基板の上面に配置された発光素子と、本開示の一実施形態に係る蓋部材と、を有し、前記遮光性部材の下面は、前記基板の上面の外周部に接合され、前記発光素子は、前記基板と前記蓋部材により封止される。
【発明の効果】
【0008】
本開示の一実施形態によれば、発光装置などの電子デバイスを小型化でき、気密封止に優れた蓋部材及びその製造方法を提供することができる。また、この蓋部材を有する発光装置を提供することができる。
【図面の簡単な説明】
【0009】
第1実施形態に係る蓋部材を例示する断面図である。
図1に示す蓋部材を構成する遮光性部材の上面図である。
図1に示す蓋部材を構成する遮光性部材の下面図である。
図1に示す蓋部材を構成する遮光性部材の部分断面図である。
第1実施形態に係る蓋部材の製造方法を例示する上面図(1)である。
第1実施形態に係る蓋部材の製造方法を例示する上面図(2)である。
第1実施形態に係る蓋部材の製造方法を例示する断面図(3)である。
第1実施形態に係る蓋部材の製造方法を例示する断面図(4)である。
第1実施形態に係る蓋部材の製造方法を例示する断面図(5)である。
第1実施形態に係る蓋部材の製造方法を例示する断面図(6)である。
第1実施形態に係る蓋部材の製造方法を例示する断面図(7)である。
第1実施形態に係る蓋部材の製造方法を例示する断面図(8)である。
第1実施形態に係る蓋部材の製造方法の第1変形例を示す上面図(1)である。
第1実施形態に係る蓋部材の製造方法の第1変形例を示す断面図(2)である。
第1実施形態に係る蓋部材の製造方法の第1変形例を示す断面図(3)である。
第1実施形態に係る蓋部材の製造方法の第1変形例を示す断面図(4)である。
第1実施形態に係る蓋部材の製造方法の第1変形例を示す断面図(5)である。
第1実施形態に係る蓋部材の製造方法の第1変形例を示す断面図(6)である。
第1実施形態に係る蓋部材の製造方法の第2変形例を示す断面図である。
第2実施形態に係る発光装置を例示する断面図(1)である。
第2実施形態に係る発光装置を例示する断面図(2)である。
【発明を実施するための形態】
【0010】
以下、図面を参照して発明を実施するための形態について説明する。なお、以下の説明では、必要に応じて特定の方向や位置を示す用語(例えば、「上」、「下」、及びそれらの用語を含む別の用語)を用いる。しかし、それらの用語の使用は図面を参照した発明の理解を容易にするためであって、それらの用語の意味によって本発明の技術的範囲が過度に制限されるものではない。例えば、「上面」と記載した場合に、常に上を向くように発明が用いられなければならないわけではない。また、複数の図面に表れる同一符号の部分は同一もしくは同等の部分又は部材を示す。
(【0011】以降は省略されています)
この特許をJ-PlatPat(特許庁公式サイト)で参照する
関連特許
日機装株式会社
加圧装置
3日前
日新イオン機器株式会社
イオン源
3日前
マクセル株式会社
電源装置
1か月前
株式会社東芝
端子台
1か月前
富士電機株式会社
電磁接触器
18日前
三菱電機株式会社
回路遮断器
26日前
株式会社GSユアサ
蓄電装置
1か月前
株式会社GSユアサ
蓄電装置
1か月前
株式会社GSユアサ
蓄電装置
1か月前
株式会社GSユアサ
蓄電装置
18日前
株式会社東芝
電子源
3日前
ホシデン株式会社
複合コネクタ
12日前
株式会社トクミ
ケーブル
4日前
日本特殊陶業株式会社
保持装置
1か月前
トヨタ自動車株式会社
蓄電装置
1か月前
トヨタ自動車株式会社
蓄電装置
10日前
個人
電源ボックス及び電子機器
3日前
大電株式会社
電線又はケーブル
10日前
甲神電機株式会社
変流器及び零相変流器
1か月前
住友電装株式会社
コネクタ
18日前
ローム株式会社
半導体モジュール
19日前
矢崎総業株式会社
コネクタ
18日前
日本無線株式会社
レーダアンテナ
1か月前
ヒロセ電機株式会社
電気コネクタ
18日前
株式会社レゾナック
冷却器
26日前
日本航空電子工業株式会社
コネクタ
3日前
トヨタ自動車株式会社
蓄電装置構造
4日前
日本特殊陶業株式会社
アンテナ装置
5日前
富士電機株式会社
半導体モジュール
1か月前
日本航空電子工業株式会社
コネクタ
1か月前
三菱電機株式会社
半導体装置
3日前
株式会社パロマ
監視システム
10日前
日本特殊陶業株式会社
アンテナ装置
5日前
日本特殊陶業株式会社
アンテナ装置
5日前
株式会社デンソー
熱交換部材
1か月前
株式会社デンソー
半導体装置
18日前
続きを見る
他の特許を見る