TOP
|
特許
|
意匠
|
商標
特許ウォッチ
Twitter
他の特許を見る
公開番号
2025179574
公報種別
公開特許公報(A)
公開日
2025-12-10
出願番号
2024086411
出願日
2024-05-28
発明の名称
電力変換システム
出願人
トヨタ自動車株式会社
,
株式会社デンソーテン
代理人
弁理士法人 快友国際特許事務所
主分類
H02M
3/00 20060101AFI20251203BHJP(電力の発電,変換,配電)
要約
【課題】コンバータの異常に起因する過電圧を正しく判定する。
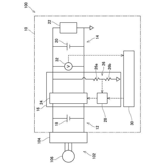
【解決手段】電力変換システムは、メインバッテリを備える第1直流回路と、メインバッテリの定格電圧よりも低い定格電圧を有するサブバッテリを備える第2直流回路と、第1直流回路から第2直流回路へ降圧された電力を出力するコンバータと、コンバータに対して目標出力電圧を指令する制御装置と、第2直流回路の電圧を測定する電圧センサと、を備える。制御装置は、目標出力電圧を第1電圧値に設定した状態で、電圧センサによる検出電圧が第1の所定時間に亘って所定の上限値を上回る場合に、目標出力電圧を第1電圧値よりも低い第2電圧値に設定する処理と、第2電圧値を設定する処理の後、電圧センサによる検出電圧が第2の所定時間に亘って上限値を上回る場合に、コンバータの異常に起因して過電圧が発生していると判定する処理と、を実行する。
【選択図】図2
特許請求の範囲
【請求項1】
メインバッテリを備える第1直流回路と、
前記メインバッテリの定格電圧よりも低い定格電圧を有するサブバッテリを備える第2直流回路と、
前記第1直流回路と前記第2直流回路との間に設けられ、前記第1直流回路から前記第2直流回路へ降圧された電力を出力するコンバータと、
前記コンバータに対して目標出力電圧を指令する制御装置と、
前記制御装置に接続されているとともに、前記第2直流回路の電圧を測定する電圧センサと、
を備え、
前記制御装置は、
前記目標出力電圧を第1電圧値に設定した状態で、前記電圧センサによる検出電圧が第1の所定時間に亘って所定の上限値を上回る場合に、前記目標出力電圧を前記第1電圧値よりも低い第2電圧値に設定する処理と、
前記第2電圧値を設定する処理の後、前記電圧センサによる検出電圧が第2の所定時間に亘って前記上限値を上回る場合に、前記コンバータの異常に起因して過電圧が発生していると判定する処理と、
を実行する、電力変換システム。
続きを表示(約 390 文字)
【請求項2】
前記制御装置は、前記第2電圧値を設定する処理の後、前記検出電圧が前記第2の所定時間の経過前に前記上限値を下回る場合に、前記目標出力電圧を前記第1電圧値に再設定する処理をさらに実行する、請求項1に記載の電力変換システム。
【請求項3】
前記第1の所定時間は、前記第2の所定時間よりも短い、請求項1に記載の電力変換システム。
【請求項4】
前記上限値は、前記サブバッテリが許容する充電電圧の上限値以下である、請求項1に記載の電力変換システム。
【請求項5】
前記上限値と前記第2電圧値との差は、前記目標出力電圧に対して前記コンバータの出力電圧に想定される最大制御誤差、前記電圧センサで想定される最大検出誤差、及び、前記第2直流回路の正常な動作で想定される最大電圧変動の和よりも大きい、請求項1に記載の電力変換システム。
発明の詳細な説明
【技術分野】
【0001】
本明細書が開示する技術は、電力変換システムに関する。
続きを表示(約 2,400 文字)
【背景技術】
【0002】
特許文献1に、電力変換システムが記載されている。この電力変換システムでは、サブバッテリを備える直流回路に、コンバータを介して電力が供給される。コンバータの出力電圧は監視されており、その出力電圧が所定の上限値を上回る場合に、過電圧が発生していると判定して、コンバータの動作を制限する。
【先行技術文献】
【特許文献】
【0003】
特開2022-188516号公報
【発明の概要】
【発明が解決しようとする課題】
【0004】
コンバータの出力電圧は、それが供給される直列回路の動作状態(例えば、直列回路に設けられた負荷の始動や停止)によっても変動する。従って、コンバータが正常であっても、直列回路の動作状態によっては、コンバータの出力電圧が、過電圧と判定される上限値を一時的に上回ることがある。このような一時的な過電圧は、サブバッテリにとって許容されることから、コンバータの異常とは区別して看過することが必要となる。そのためには、コンバータの出力電圧が、所定時間に亘って上限値を上回るときに、コンバータの異常に起因する過電圧と判定することが考えられる。しかしながら、このような手法では、所定時間が経過するまでは、コンバータの異常に起因する過電圧を許容することになり、サブバッテリにダメージを与えるおそれがある。その一方で、その所定時間を比較的に短く設定すれば、直列回路の動作状態に起因する一時的な過電圧を、コンバータの異常に起因する過電圧と誤判定するおそれが生じる。鉛蓄電池は定格電圧と許容電圧(許容し得る充電電圧の上限値)との差が比較的に小さいことから、サブバッテリが鉛蓄電池である場合に、上述の問題は顕在化しやすい。
【0005】
上記の実情を鑑み、本明細書は、コンバータの異常に起因する過電圧を正しく判定するための技術を提供する。
【課題を解決するための手段】
【0006】
本明細書が開示する技術は、電力変換システムに具現化される。その第1の態様において、電力変換システムは、メインバッテリを備える第1直流回路と、前記メインバッテリの定格電圧よりも低い定格電圧を有するサブバッテリを備える第2直流回路と、前記第1直流回路と前記第2直流回路との間に設けられ、前記第1直流回路から前記第2直流回路へ降圧された電力を出力するコンバータと、前記コンバータに対して目標出力電圧を指令する制御装置と、前記制御装置に接続されているとともに、前記第2直流回路の電圧を測定する電圧センサと、を備える。前記制御装置は、前記目標出力電圧を第1電圧値に設定した状態で、前記電圧センサによる検出電圧が第1の所定時間に亘って所定の上限値を上回る場合に、前記目標出力電圧を前記第1電圧値よりも低い第2電圧値に設定する処理と、前記第2電圧値を設定する処理の後、前記電圧センサによる検出電圧が第2の所定時間に亘って前記上限値を上回る場合に、前記コンバータの異常に起因して過電圧が発生していると判定する処理と、を実行する。
【0007】
上記した電力変換システムでは、コンバータに対する目標出力電圧を第1電圧値に設定した状態で、電圧センサによる検出電圧が第1の所定時間に亘って上限値を上回る場合に、目標出力電圧が第1電圧値よりも低い第2電圧値に設定される。即ち、この時点では、電圧センサによる検出電圧が第1の所定時間に亘って上限値を上回っても、コンバータの異常に起因して過電圧が発生していると判定されない。そして、目標出力電圧が第2電圧値に設定された後においても、電圧センサによる検出電圧が第2の所定時間に亘って上限値を上回る場合に、コンバータの異常に起因して過電圧が発生していると判定される。
【0008】
例えば、正常な動作中に想定される電圧変動等によって、電圧センサによる検出電圧が意図せず上昇し、当該検出電圧が第1の所定時間に亘って上限値を上回ったとする。この場合、コンバータに対する目標出力電圧は、比較的に低い第2電圧値に設定される。その結果、コンバータが正常であれば、目標出力電圧の低下に伴って、電圧センサによる検出電圧も低下するはずである。これにより、コンバータの異常に起因して過電圧が発生しているとは判定されない。これに対して、コンバータに異常が発生している場合には、目標出力電圧を低下させたとしても、電圧センサによる検出電圧が上限値を上回り続けるはずである。そのため、目標出力電圧を第2電圧値まで低下させた後においても、電圧センサによる検出電圧は第2の所定時間に亘って上限値を上回ることになり、コンバータの異常に起因して過電圧が発生していると判定される。このような構成によると、正常な動作中に想定される電圧変動等に対する耐性が高くなり、そのような電圧変動等と区別して、コンバータの異常に起因する過電圧を正しく判定することができる。
【0009】
第2の態様では、前記第1の態様において、制御装置は、第2電圧値を設定する処理の後、検出電圧が第2の所定時間の経過前に当該上限値を下回る場合に、目標出力電圧を第1電圧値に再設定する処理をさらに実行してもよい。なお、他の実施形態として、当該目標出力電圧として設定される電圧値は、必ずしも第1電圧値である必要はなく、第2電圧値よりも高い他の電圧値であってもよい。
【0010】
第3の態様では、前記第1又は前記第2の態様において、第1の所定時間は、第2の所定時間よりも短くてもよい。このような構成によると、サブバッテリに過電圧が印加される時間を短くすることができる。
(【0011】以降は省略されています)
この特許をJ-PlatPat(特許庁公式サイト)で参照する
関連特許
株式会社東光高岳
充電器
3日前
カヤバ株式会社
制御装置
1日前
東洋アルミニウム株式会社
発電体
2日前
株式会社デンソー
回転電機
7日前
株式会社ダイヘン
充電装置
2日前
株式会社ダイヘン
送配電装置
7日前
本田技研工業株式会社
回転電機
9日前
株式会社不二越
空冷式油圧装置
7日前
富士電機株式会社
電力変換装置
7日前
富士電機株式会社
電力変換装置
7日前
株式会社東光高岳
充電対象切換システム
3日前
アズビル株式会社
タービン式流量制御装置
2日前
株式会社イノコンバンク
無線給電システム
7日前
株式会社大林組
電力管理用制御装置
1日前
西芝電機株式会社
緊急切断方法及び軸発電機
3日前
株式会社TMEIC
電力変換装置
1日前
サンデン株式会社
モータ
8日前
サンデン株式会社
モータ
8日前
トヨタ自動車株式会社
制御装置
1日前
株式会社デンソー
電子制御装置
1日前
ジヤトコ株式会社
治具
7日前
矢崎総業株式会社
電気接続箱
9日前
多摩川精機株式会社
モータ
7日前
トヨタ紡織株式会社
電動モータ
3日前
株式会社アイシン
ステータユニット
3日前
日本発條株式会社
コアの製造方法及び装置
7日前
河村電器産業株式会社
車両充電装置
7日前
矢崎総業株式会社
車載用切替装置
9日前
株式会社デンソー
ロータ
9日前
株式会社デンソー
ロータ
9日前
住友電装株式会社
電線保持部材
1日前
河村電器産業株式会社
充電コネクタの保持構造
2日前
株式会社明電舎
電力変換システム
7日前
株式会社神戸製鋼所
電動機
7日前
株式会社IHI
電力変換システム
2日前
株式会社ミツバ
モータ装置
7日前
続きを見る
他の特許を見る