TOP
|
特許
|
意匠
|
商標
特許ウォッチ
Twitter
他の特許を見る
公開番号
2025179666
公報種別
公開特許公報(A)
公開日
2025-12-10
出願番号
2024086569
出願日
2024-05-28
発明の名称
充電コネクタの保持構造
出願人
河村電器産業株式会社
代理人
個人
,
個人
主分類
H02J
7/00 20060101AFI20251203BHJP(電力の発電,変換,配電)
要約
【課題】直射日光が充電コネクタに当たりにくい上、充電作業に支障をきたすこともない充電コネクタの保持構造を提供する。
【解決手段】ホルダ部3に保持されている充電コネクタ1を上方から被覆するための庇本体11を設けるとともに、当該庇本体11を、充電コネクタ1を被覆する際の保持姿勢と、保持姿勢よりも先端側が上方へ持ち上がった取り外し姿勢との間で姿勢変更可能とした。また、庇本体11の姿勢を変更させるための駆動機構として、充電コネクタ1がホルダ部3に保持されていないと取り外し位置に位置するとともに、充電コネクタ1のホルダ部3への保持に伴い取り外し位置から保持位置へ移動するラッチ17と、ラッチ17と庇本体11との間に介在され、ラッチ17の取り外し位置から保持位置への移動に連動して、庇本体11を取り外し姿勢から保持姿勢へと姿勢変更させるねじりバネ14等とを備えた。
【選択図】図1
特許請求の範囲
【請求項1】
車両充電装置における充電コネクタの保持構造であって、
前記充電コネクタを保持するための保持部と、前記保持部に保持されている前記充電コネクタを上方から被覆するための庇本体と、前記庇本体の姿勢を変更させるための駆動機構とを備えており、
前記庇本体は、基端側を軸とした傾動動作により、前記充電コネクタを被覆する際の保持姿勢と、前記保持姿勢よりも先端側が上方へ持ち上がった取り外し姿勢との間で姿勢変更可能となっている一方、
前記駆動機構は、前記充電コネクタが前記保持部に保持されていないと第1位置に位置するとともに、前記充電コネクタの前記保持部への保持に伴い前記第1位置から第2位置へ移動する移動体と、
前記移動体と前記庇本体との間に介在され、前記移動体の前記第1位置から前記第2位置への移動に連動して、前記庇本体を前記取り外し姿勢から前記保持姿勢へと姿勢変更させる連動手段とを備えていることを特徴とする充電コネクタの保持構造。
発明の詳細な説明
【技術分野】
【0001】
本発明は、電気自動車やプラグインハイブリッドカーを充電するための充電コネクタを保持する保持構造に関するものである。
続きを表示(約 2,100 文字)
【背景技術】
【0002】
従来、充電のために電気自動車等に接続される充電コネクタを備えてなる車両充電装置としては、図5に示すようなものが考案されている(たとえば特許文献1)。そして、そのような車両充電装置における充電コネクタの保持構造について説明すると、車両充電装置の本体を構成する筐体52に筒状部を有するホルダ部53を設け、当該ホルダ部53に充電コネクタ51の先端を差し込んだ状態で保持可能としている。
【先行技術文献】
【特許文献】
【0003】
特開2014-39404号公報
【発明の概要】
【発明が解決しようとする課題】
【0004】
しかしながら、上記従来の充電コネクタの保持構造では、直射日光が充電コネクタ(特に作業者が把持する把持部)に当たりやすい。そのため、充電コネクタが熱をもって作業者が把持しにくくなる等、充電作業に支障をきたすという問題が生じやすい。また、充電コネクタを覆うように庇状のカバー等を取り付けることも考えられるが、単にカバーを取り付けたのでは、充電コネクタをホルダ部から抜き差ししづらい等、やはり充電の作業性に問題が生じてしまう。
【0005】
そこで、本発明は、上記問題に鑑みなされたものであって、直射日光が充電コネクタに当たりにくい上、充電作業に支障をきたすこともない充電コネクタの保持構造を提供しようとするものである。
【課題を解決するための手段】
【0006】
上記目的を達成するために、本発明のうち請求項1に記載の発明は、車両充電装置における充電コネクタの保持構造であって、前記充電コネクタを保持するための保持部と、前記保持部に保持されている前記充電コネクタを上方から被覆するための庇本体と、前記庇本体の姿勢を変更させるための駆動機構とを備えており、前記庇本体は、基端側を軸とした傾動動作により、前記充電コネクタを被覆する際の保持姿勢と、前記保持姿勢よりも先端側が上方へ持ち上がった取り外し姿勢との間で姿勢変更可能となっている一方、前記駆動機構は、前記充電コネクタが前記保持部に保持されていないと第1位置に位置するとともに、前記充電コネクタの前記保持部への保持に伴い前記第1位置から第2位置へ移動する移動体と、前記移動体と前記庇本体との間に介在され、前記移動体の前記第1位置から前記第2位置への移動に連動して、前記庇本体を前記取り外し姿勢から前記保持姿勢へと姿勢変更させる連動手段とを備えていることを特徴とする。
【発明の効果】
【0007】
本発明によれば、保持部に保持されている充電コネクタを上方から被覆するための庇本体が設けられているとともに、当該庇本体が、基端側を軸とした傾動動作により、充電コネクタを被覆する際の保持姿勢と、保持姿勢よりも先端側が上方へ持ち上がった取り外し姿勢との間で姿勢変更可能となっている。また、庇本体の姿勢を変更させるための駆動機構が設けられており、該駆動機構は、充電コネクタが保持部に保持されていないと第1位置に位置するとともに、充電コネクタの保持部への保持に伴い第1位置から第2位置へ移動する移動体と、移動体と庇本体との間に介在され、移動体の第1位置から第2位置への移動に連動して、庇本体を取り外し姿勢から保持姿勢へと姿勢変更させる連動手段とを備えている。したがって、保持部に保持されている充電コネクタに対して直射日光が当たりにくく、充電コネクタが熱をもって作業者が把持しにくくなる等、充電作業に支障をきたすような状況が起こりづらい充電コネクタの保持構造とすることができる。また、庇本体が、移動体に連動し、充電コネクタが保持部に保持されていない状況においては取り外し姿勢へと姿勢変更するため、庇本体が邪魔となって充電コネクタを保持部に保持させにくい等といった問題も起こりにくく、充電に係る作業性に優れた充電コネクタの保持構造とすることができる。
【図面の簡単な説明】
【0008】
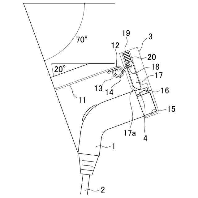
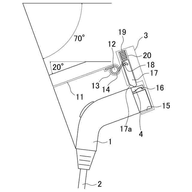
充電コネクタがホルダ部に保持された状態にある保持構造を示した断面説明図である。
充電コネクタがホルダ部から抜き取られた状態にある保持構造を示した断面説明図である。
充電コネクタをホルダ部に差し込んで保持させる際の保持構造の動作態様を示した断面説明図である。
庇本体の変更例を示した説明図である。
従来の車両充電装置を示した説明図である。
【発明を実施するための形態】
【0009】
以下、本発明の一実施形態となる充電コネクタの保持構造について、図面にもとづき詳細に説明する。
【0010】
図1は、充電コネクタ1がホルダ部3に保持された状態にある保持構造を示した断面説明図である。図2は、充電コネクタ1がホルダ部3から抜き取られた状態にある保持構造を示した断面説明図である。図3は、充電コネクタ1をホルダ部3に差し込んで保持させる際の保持構造の動作態様を示した断面説明図である。
(【0011】以降は省略されています)
この特許をJ-PlatPat(特許庁公式サイト)で参照する
関連特許
河村電器産業株式会社
監視装置
今日
河村電器産業株式会社
車両充電装置
6日前
河村電器産業株式会社
電気機器収納箱
今日
河村電器産業株式会社
宅配ボックス装置
27日前
河村電器産業株式会社
充電コネクタの保持構造
1日前
河村電器産業株式会社
トランス装置及び受配電設備
15日前
河村電器産業株式会社
負荷名称ラベル作成システム
1か月前
河村電器産業株式会社
キャビネットのバスバー取付構造
2日前
河村電器産業株式会社
情報処理装置、情報処理方法およびプログラム
6日前
河村電器産業株式会社
充電制御装置、充電制御方法及び充電制御プログラム
今日
河村電器産業株式会社
電気設備設計支援システム
13日前
個人
電気を重力で発電装置
1か月前
個人
高圧電気機器の開閉器
22日前
キヤノン電子株式会社
モータ
1か月前
キヤノン電子株式会社
モータ
1か月前
株式会社東光高岳
充電器
2日前
カヤバ株式会社
制御装置
今日
東洋アルミニウム株式会社
発電体
1日前
コーセル株式会社
電源装置
1か月前
トヨタ自動車株式会社
モータ
1か月前
株式会社アイドゥス企画
減反モータ
22日前
株式会社デンソー
端子台
15日前
株式会社ダイヘン
充電装置
1日前
株式会社デンソー
回転電機
6日前
個人
二次電池繰返パルス放電器用印刷基板
1か月前
株式会社ダイヘン
送配電装置
6日前
株式会社不二越
空冷式油圧装置
6日前
富士電機株式会社
電力変換装置
6日前
富士電機株式会社
電力変換装置
6日前
本田技研工業株式会社
回転電機
8日前
ローム株式会社
半導体集積回路
13日前
矢崎総業株式会社
電源回路
21日前
株式会社TMEIC
制御装置
14日前
株式会社東光高岳
充電対象切換システム
2日前
株式会社日立製作所
回転電機
13日前
トヨタ自動車株式会社
固定子の加熱装置
1か月前
続きを見る
他の特許を見る