TOP
|
特許
|
意匠
|
商標
特許ウォッチ
Twitter
他の特許を見る
10個以上の画像は省略されています。
公開番号
2025178923
公報種別
公開特許公報(A)
公開日
2025-12-09
出願番号
2024085801
出願日
2024-05-27
発明の名称
キャビネットのバスバー取付構造
出願人
河村電器産業株式会社
代理人
個人
,
個人
主分類
H02B
1/20 20060101AFI20251202BHJP(電力の発電,変換,配電)
要約
【課題】 配線空間が狭くならないようバスバーのキャビネット内の固定部を削減できるキャビネットのバスバー取付構造を提供する。
【解決手段】 電気機器を収納する機器収納空間Mを備えたキャビネット1に対して、収納された電気機器に電源を供給するためにバスバー6を使用し、キャビネットの底部を開放形成して機器収納空間Mに床を露出させて、露出している床にバスバー6の下端を固定し、機器収納空間Mにバスバー6を起立配置した。
【選択図】 図1
特許請求の範囲
【請求項1】
電気機器を収納する機器収納空間を備えたキャビネットに対して、収納された電気機器に電源を供給するためのバスバーを前記機器収納空間に取り付けるキャビネットのバスバー取付構造であって、
前記キャビネットの底部は開放形成されて、前記機器収納空間に床が露出して成り、
前記バスバーは露出している前記床に下端が固定され、前記機器収納空間に起立配置されていることを特徴とするキャビネットのバスバー取付構造。
続きを表示(約 270 文字)
【請求項2】
前記バスバーを介して前記電気機器に電力を供給する電源ユニットが、前記機器収納空間の中央或いは中央より上部に配置され、
前記電源ユニットと前記バスバーとの電気的接続部を、前記バスバーの上部固定部として機能させたことを特徴とする請求項1記載のキャビネットのバスバー取付構造。
【請求項3】
前記バスバーは、床に固着された固定部材に連結されて起立配置され、
前記固定部材は、バスバーの上下方向の位置を調整する調整部を有することを特徴とする請求項1又は2記載のキャビネットのバスバー取付構造。
発明の詳細な説明
【技術分野】
【0001】
本発明は、キャビネットに収納した電気機器に対して、電源を供給するためにバスバーを配置するためのキャビネットのバスバー取付構造に関する。
続きを表示(約 2,000 文字)
【背景技術】
【0002】
電源ユニット及び電源ユニットから配設された電源供給路としてのバスバーを備えて、収納した電気機器に対してバスバーを使用して電源供給を行うキャビネットがある。例えば特許文献1では、キャビネット中央に電源ユニットを配置すると共に、電源ユニットに電気的に接続されたバスバーをキャビネットの後部中央において上下方向に配置し、収納した各電気機器に対してバスバーを介して直流電力を供給する構成が記載されている。
【先行技術文献】
【特許文献】
【0003】
特開2018-74667号公報
【発明の概要】
【発明が解決しようとする課題】
【0004】
上記特許文献1に開示されたキャビネットは、バスバーの上下端部がキャビネットに固定部材を使用して固定されるし、中央部には中間バー固定部が設けられ、左右に掛け渡された部材によりバスバーがキャビネットに固定されている。
一方で、収納した電気機器に接続されるケーブル等は、収納した電気機器とキャビネット側面との間の空間を利用して配設される。
そのため、バスバーをキャビネットに固定する固定部材は、ケーブル等の配線空間を跨いで配置されることになるため、配線空間が制約を受けて配線の作業性を悪化させた。
【0005】
そこで、本発明はこのような問題点に鑑み、配線空間が狭くならないようバスバーのキャビネット内の固定部を削減できるキャビネットのバスバー取付構造を提供することを目的としている。
【課題を解決するための手段】
【0006】
上記課題を解決する為に、本発明の第1の構成は、電気機器を収納する機器収納空間を備えたキャビネットに対して、収納された電気機器に電源を供給するためのバスバーを機器収納空間に取り付けるキャビネットのバスバー取付構造であって、キャビネットの底部は開放形成されて、機器収納空間に床が露出して成り、バスバーは露出している床に下端が固定され、機器収納空間に起立配置されていることを特徴とする。
この構成によれば、バスバーはキャビネットを設置した床に下端を直接固定するため、バスバーの下部をキャビネットに連結させる必要が無く、少なくともキャビネット下部において収納した電気機器に対する配線空間の制限が発生しない。
【0007】
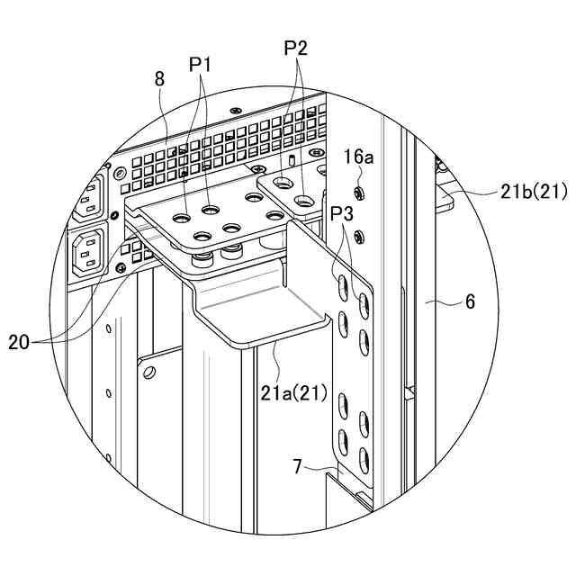
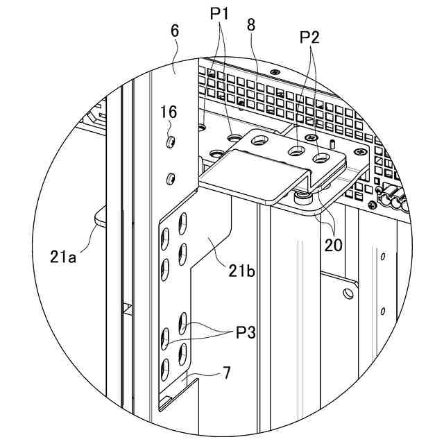
本発明の別の態様は、上記構成において、バスバーを介して電気機器に電力を供給する電源ユニットが、機器収納空間の中央或いは中央より上部に配置され、電源ユニットとバスバーとの電気的接続部を、バスバーの上部固定部として機能させたことを特徴とする。
この構成によれば、バスバーと電源ユニットとの電気的接続部が、バスバーの上部固定部であるため、別途キャビネットとの連結部を設けることなく固定できる。よって、バスバーはキャビネットとの間で接続部が無く、機器収納空間の周囲に設けられている配線空間がバスバーの設置により狭くなるようなことがない。
【0008】
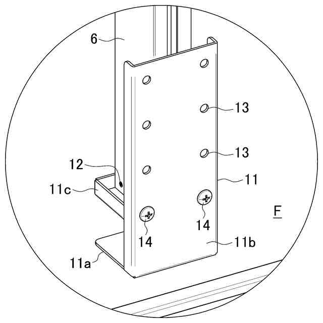
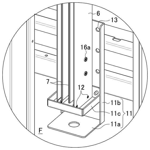
本発明の別の態様は、上記構成において、バスバーは、床に固着された固定部材に連結されて起立配置され、固定部材は、バスバーの上下方向の位置を調整する調整部を有することを特徴とする。
この構成によれば、バスバーの上下位置を調整できるため、収納されたラックマウント型の機器に対して、接続するバスバーのネジ孔等の位置を調整でき、良好な接続を実施できる。
【発明の効果】
【0009】
本発明によれば、バスバーはキャビネットを設置した床に下端を直接固定するため、バスバーの下部をキャビネットに連結させる必要が無く、少なくともキャビネット下部において収納した電気機器に対する配線空間の制限が発生しない。
【図面の簡単な説明】
【0010】
本発明に係るキャビネットのバスバー取付構造の一例を示し、扉及び周囲の閉塞板を外してフレームを露出させたキャビネットの斜視図である。
図1のキャビネットを後方から見た斜視図である。
図1のキャビネットの平面図である。
図1に示すA1部の拡大図であり、バスバーの下端を拡大した図である。
図2に示すA2部の拡大図であり、バスバーの下端を別角度から見た図である。
図2に示すB部の拡大図であり、電源ユニットとバスバーの接続部の説明図である。
B部を別角度から見た説明図である
バスバーの部分側面図であり、バスバー中央部の左側面図である。
図8のC-C線断面図である。
図8のD-D線断面図である。
バスバー連結部の分解説明図である。
アンカー金具の他の形態を示す図である。
【発明を実施するための形態】
(【0011】以降は省略されています)
この特許をJ-PlatPat(特許庁公式サイト)で参照する
関連特許
他の特許を見る