TOP
|
特許
|
意匠
|
商標
特許ウォッチ
Twitter
他の特許を見る
公開番号
2025164529
公報種別
公開特許公報(A)
公開日
2025-10-30
出願番号
2024068555
出願日
2024-04-19
発明の名称
負荷名称ラベル作成システム
出願人
河村電器産業株式会社
代理人
個人
,
個人
,
個人
主分類
G06Q
50/06 20240101AFI20251023BHJP(計算;計数)
要約
【課題】発注された分電盤の案件情報から、自動的に負荷名称ラベルが表示される負荷名称ラベル作成システムを提供する。
【解決手段】負荷名称ラベル作成システム1は、各種操作及び入力を行う入力装置2と、負荷名称ラベルの情報等が保存されるサーバ3と、各種演算及び制御を行う制御部4とを有する。そして、サーバ3の案件情報データベース31に蓄積された案件情報40の中の任意の一つが選択されると、制御部4が、負荷ラベルマスタデータベース34を参照して、案件情報40に対応した負荷名称ラベルを表示部22に表示させる。
【選択図】図1
特許請求の範囲
【請求項1】
各種操作及び入力を行う入力装置と、負荷名称ラベルの情報が保存されるサーバと、各種演算及び制御を行う制御部とを有する負荷名称ラベル作成システムであって、
前記サーバは、受注された分電盤の案件情報が蓄積される案件情報データベースと、負荷名称ラベルの情報が蓄積される負荷ラベルマスタデータベースとを備え、
前記入力装置は、前記案件情報データベースに蓄積された前記案件情報を少なくとも一つ表示させる表示部とを有し、
前記制御部は、前記表示部に表示されている前記案件情報の中の任意の一つの前記案件情報が選択されると、前記負荷ラベルマスタデータベースを参照して、選択された前記案件情報に対応した前記負荷名称ラベルを前記表示部に表示させることを特徴とする負荷名称ラベル作成システム。
続きを表示(約 680 文字)
【請求項2】
前記案件情報は、受注された前記分電盤の型式を含み、
前記負荷ラベルマスタデータベースは、想定される分電盤の型式に合わせて予め作成された前記負荷名称ラベルのテンプレートが蓄積される第一負荷ラベルサブデータベースと、個別の前記案件情報に対応した前記負荷名称ラベルの過去データが保存される第二負荷ラベルサブデータベースとを備え、
前記制御部は、前記表示部に表示されている複数の前記案件情報の中の任意の一つの前記案件情報が選択されると、前記第二負荷ラベルサブデータベースを参照して、前記選択された前記案件情報に対応した前記過去データの有無を確認して、
前記選択された前記案件情報に対応した前記過去データがある場合、該当した前記過去データを前記表示部に表示し、
前記選択された前記案件情報に対応した前記過去データが無い場合、前記第一負荷ラベルサブデータベースを参照して、前記選択された前記案件情報の前記分電盤の前記型式に対応した前記テンプレートを前記表示部に表示することを特徴とする請求項1に記載の負荷名称ラベル作成システム。
【請求項3】
前記負荷名称ラベルは、前記入力装置によって編集可能に前記表示部へ表示されることを特徴とする請求項1及び2に記載の負荷名称ラベル作成システム。
【請求項4】
前記負荷名称ラベルは、前記選択された前記案件情報に関連付けて、前記第二負荷ラベルサブデータベースに前記過去データとして保存されることを特徴とする請求項3に記載の負荷名称ラベル作成システム。
発明の詳細な説明
【技術分野】
【0001】
本発明は、分電盤内の個々の分岐機器に対して、分岐先の負荷名称を表示するために取り付けるラベルを作成する負荷名称ラベル作成システムに関する。
続きを表示(約 2,400 文字)
【背景技術】
【0002】
従来、分電盤に取り付けられる負荷名称ラベルを作成するシステムが知られている。例えば、特許文献1には、ユーザが希望したデータと一致する型番を選択するとともに、負荷名称を入力・表示させる分電盤選定用サブシステムと、ユーザが負荷の名称を入力可能な負荷名称入力サブシステムとにおいて、双方のサブシステムが、相手側の負荷名称データ記憶部に記憶された負荷名称データを呼び出すことが可能な構成が記載されている。
【先行技術文献】
【特許文献】
【0003】
特開2016-143143号公報
【発明の概要】
【発明が解決しようとする課題】
【0004】
しかしながら、上記従来の負荷名称入力システムでは、ユーザが自身で発注された分電盤の情報を元に、仕様を選択して負荷名称データを作成しなくてはならないため手間がかかるという問題があった。また、過去のデータを呼び出す際においても、自身で負荷名称データを選択しなくてはならないため、間違った負荷名称データを選んでしまう危険性があった。
【0005】
そこで、本発明はこのような問題に鑑み、発注された分電盤の案件情報から、自動的に負荷名称ラベルが表示される負荷名称ラベル作成システムを提供することを目的としている。
【課題を解決するための手段】
【0006】
上記目的を達成するために、請求項1に記載の発明は、各種操作及び入力を行う入力装置と、負荷名称ラベルの情報が保存されるサーバと、各種演算及び制御を行う制御部とを有する負荷名称ラベル作成システムであって、サーバは、受注された分電盤の案件情報が蓄積される案件情報データベースと、負荷名称ラベルの情報が蓄積される負荷ラベルマスタデータベースとを備え、入力装置は、案件情報データベースに蓄積された案件情報を少なくとも一つ表示させる表示部とを有し、制御部は、表示部に表示されている案件情報の中の任意の一つの案件情報が選択されると、負荷ラベルマスタデータベースを参照して、選択された案件情報に対応した負荷名称ラベルを表示部に表示させることを特徴とする。
また、請求項2に記載の発明は、請求項1に記載の発明において、案件情報は、受注された分電盤の型式を含み、負荷ラベルマスタデータベースは、想定される分電盤の型式に合わせて予め作成された負荷名称ラベルのテンプレートが蓄積される第一負荷ラベルサブデータベースと、個別の案件情報に対応した負荷名称ラベルの過去データが保存される第二負荷ラベルサブデータベースとを備え、制御部は、表示部に表示されている複数の案件情報の中の任意の一つの案件情報が選択されると、第二負荷ラベルサブデータベースを参照して、選択された案件情報に対応した過去データの有無を確認して、選択された案件情報に対応した過去データがある場合、該当した過去データを表示部に表示し、選択された案件情報に対応した過去データが無い場合、第一負荷ラベルサブデータベースを参照して、選択された案件情報の分電盤の型式に対応したテンプレートを表示部に表示することを特徴とする。
また、請求項3に記載の発明は、請求項1及び2に記載の発明において、負荷名称ラベルは、入力装置によって編集可能に表示部へ表示されることを特徴とする。
また、請求項4に記載の発明は、請求項3に記載の発明において、負荷名称ラベルは、選択された案件情報に関連付けて、第二負荷ラベルサブデータベースに過去データとして保存されることを特徴とする。
【発明の効果】
【0007】
本発明によれば、任意の一つの案件情報が選択されると、制御部が、負荷ラベルマスタデータベースを参照して、案件情報に対応した負荷名称ラベルを表示部に表示させる構成である。そして、負荷ラベルマスタデータベースを参照する際、選択された案件情報に対応した負荷名称ラベルの過去データがある場合には、該過去データを表示し、選択された案件情報に対応した負荷名称ラベルの過去分データが無い場合には、案件情報に含まれた分電盤の型式に対応した負荷名称ラベルのテンプレートを表示する構成である。
したがって、案件情報を選択することで自動的に対応した負荷名称ラベルが表示されるため、負荷名称ラベルの形式を選定する必要がなく、手間の削減及びミスの防止ができる。また、案件に合わせた負荷名称ラベルの作成及び保存が円滑に行うことが可能となる。
【図面の簡単な説明】
【0008】
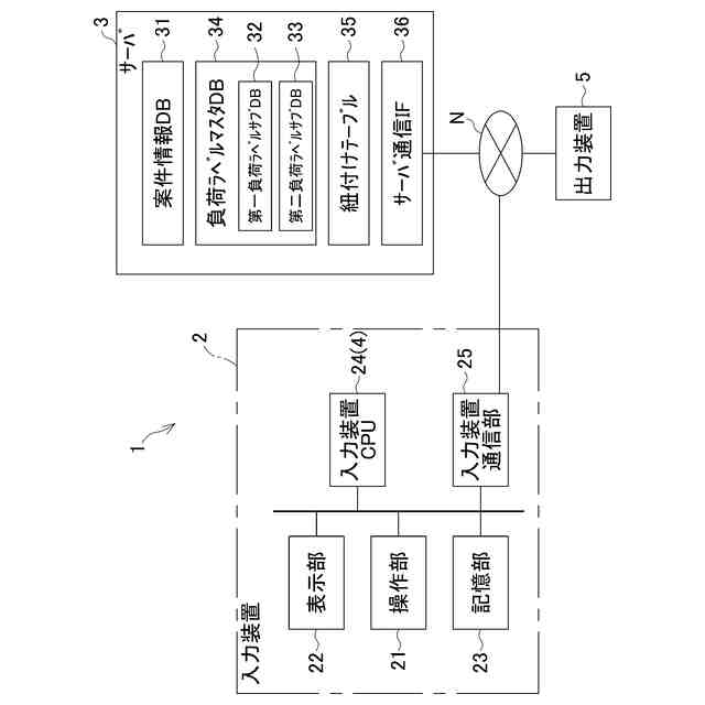
本発明に係る負荷名称ラベル作成システムの一例を示す構成図である。
案件情報から負荷名称ラベルを呼び出す流れを示すフローチャートである。
案件情報を表示部に表示した画面図である。
【発明を実施するための形態】
【0009】
以下、本発明を具体化した実施の形態を、図面を参照して詳細に説明する。
図1は本発明に係る負荷名称ラベル作成システム1の一例を示す構成図である。また、図2は、案件情報40から負荷名称ラベルを呼び出す流れを示すフローチャートである。また、図3は、案件情報40を表示部に表示した画面図である。
【0010】
負荷名称ラベル作成システム1は、図1に示すように、使用者によって各種入力及び操作を行う入力装置2と、案件情報や負荷名称ラベルの情報等を蓄積しているサーバ3と、各種制御及び演算を行う制御部4と、負荷名称を印字した負荷名称ラベルを出力する出力装置5とを備えている。これら機器間は、インターネット等の公衆通信網Nを介して接続されている。
(【0011】以降は省略されています)
この特許をJ-PlatPat(特許庁公式サイト)で参照する
関連特許
河村電器産業株式会社
宅配ボックス装置
17日前
河村電器産業株式会社
トランス装置及び受配電設備
5日前
河村電器産業株式会社
負荷名称ラベル作成システム
1か月前
河村電器産業株式会社
電気設備設計支援システム
3日前
個人
詐欺保険
1か月前
個人
縁伊達ポイン
1か月前
個人
RFタグシート
1か月前
個人
5掛けポイント
24日前
個人
職業自動販売機
17日前
個人
QRコードの彩色
1か月前
個人
ペルソナ認証方式
1か月前
個人
地球保全システム
2か月前
個人
情報処理装置
27日前
個人
自動調理装置
1か月前
個人
農作物用途分配システム
1か月前
個人
残土処理システム
1か月前
個人
タッチパネル操作指代替具
1か月前
個人
知的財産出願支援システム
1か月前
個人
サービス情報提供システム
19日前
個人
インターネットの利用構造
1か月前
個人
携帯端末障害問合せシステム
1か月前
個人
スケジュール調整プログラム
1か月前
株式会社キーエンス
受発注システム
2か月前
株式会社キーエンス
受発注システム
2か月前
個人
エリアガイドナビAIシステム
1か月前
株式会社キーエンス
受発注システム
2か月前
個人
食品レシピ生成システム
2か月前
個人
海外支援型農作物活用システム
2か月前
キヤノン株式会社
印刷システム
1か月前
トヨタ自動車株式会社
通知装置
1か月前
キヤノン株式会社
画像認識装置
11日前
キヤノン株式会社
情報処理装置
11日前
キヤノン株式会社
情報処理装置
11日前
エッグス株式会社
情報処理装置
1か月前
キヤノン株式会社
情報処理装置
25日前
株式会社ワコム
電子ペン
26日前
続きを見る
他の特許を見る