TOP
|
特許
|
意匠
|
商標
特許ウォッチ
Twitter
他の特許を見る
公開番号
2025181001
公報種別
公開特許公報(A)
公開日
2025-12-11
出願番号
2024088734
出願日
2024-05-31
発明の名称
電気機器収納箱
出願人
河村電器産業株式会社
代理人
弁理士法人信栄事務所
主分類
H05K
7/18 20060101AFI20251204BHJP(他に分類されない電気技術)
要約
【課題】デザイン性が高い電気機器収納箱を実現する。
【解決手段】電気機器収納箱100は、内部に電気機器を収納する電気機器収納箱100であって、前板11、後板12、右側板13および左側板14を支持する枠部18と、枠部18の少なくとも一部を覆うカバー20と、枠部18にカバー20が取り付けられた状態において、カバー20の内側に位置する吊り部50と、を備える。
【選択図】図5
特許請求の範囲
【請求項1】
内部に電気機器を収納する電気機器収納箱であって、
前板、後板および側板を支持する枠部と、
前記枠部の少なくとも一部を覆うカバーと、
前記枠部に前記カバーが取り付けられた状態において、前記カバーの内側に位置する吊り部と、を備える、電気機器収納箱。
続きを表示(約 570 文字)
【請求項2】
前記電気機器収納箱は、
前記前板、前記後板および前記側板をそれぞれ支持する複数の前記枠部と、
複数の前記枠部のうちの2つを連結する複数の支柱と、を備え、
前記吊り部は、複数の前記支柱の各々に設けられている、請求項1に記載の電気機器収納箱。
【請求項3】
前記電気機器収納箱は、4つ以上の前記支柱を備え、
4つ以上の前記支柱のうちの4つは、前記電気機器収納箱の四隅にそれぞれ設けられる、請求項2に記載の電気機器収納箱。
【請求項4】
前記支柱は、前記枠部の上下方向に沿って延在している、請求項2に記載の電気機器収納箱。
【請求項5】
前記吊り部に取り付けられ、かつ前記枠部に連結された補強部をさらに備える、請求項1または請求項2に記載の電気機器収納箱。
【請求項6】
前記前板、前記後板および前記側板の上方に設けられる屋根をさらに備え、
前記カバーは、前記屋根に対して着脱可能に取り付けられている、請求項1または請求項2に記載の電気機器収納箱。
【請求項7】
前記屋根には、上面視において前記吊り部の周囲が露出する開口が形成され、
前記カバーは、前記開口を覆う、請求項6に記載の電気機器収納箱。
発明の詳細な説明
【技術分野】
【0001】
本開示は、電気機器収納箱に関する。
続きを表示(約 1,400 文字)
【背景技術】
【0002】
従来、蓄電池や分電盤などの電気機器を収納する電気機器収納箱に関する技術が開発されている。例えば、特許文献1に開示されている電気機器収納箱では、電気機器収納箱を吊り下げる際に用いられる金具が、当該電気機器収納箱の後部柱の上端側面および前面柱の上端側面に取り付けられている。
【先行技術文献】
【特許文献】
【0003】
特開2000-332441号公報
【発明の概要】
【発明が解決しようとする課題】
【0004】
しかしながら、特許文献1に開示されている電気機器収納箱では、複数の金具が露出しているため見栄えが悪いので、デザイン性が高い電気機器収納箱が求められている。
【課題を解決するための手段】
【0005】
本開示の一側面に係る電気機器収納箱は、
内部に電気機器を収納する電気機器収納箱であって、
前板、後板および側板を支持する枠部と、
前記枠部の少なくとも一部を覆うカバーと、
前記枠部に前記カバーが取り付けられた状態において、前記カバーの内側に位置する吊り部と、を備える。
【発明の効果】
【0006】
本開示によれば、デザイン性が高い電気機器収納箱を実現することができる。
【図面の簡単な説明】
【0007】
図1は、本開示の実施形態に係る電気機器収納箱の構成を示す斜視図である。
図2は、図1に示す電気機器収納箱の分解斜視図である。
図3は、図2に示す複数の支柱と複数の枠部との位置関係を示す部分拡大図である。
図4は、図3に示す支柱の詳細な構成を示す部分拡大図である。
図5は、図1に示す電気機器収納箱の通常時の状態と、電気機器収納箱の吊り下げを行う際の当該電気機器収納箱の状態との違いを説明するための斜視図である。
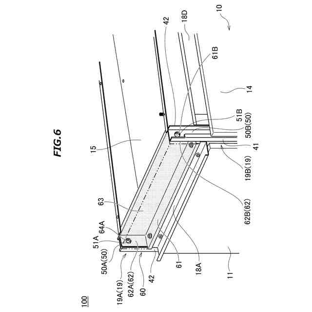
図6は、図3に示す複数の吊り部を補強する構成を示す部分拡大図である。
【発明を実施するための形態】
【0008】
本開示の電気機器収納箱の具体例を、以下に図面を参照しつつ説明する。なお、本発明はこれらの例示に限定されるものではなく、特許請求の範囲によって示され、特許請求の範囲と均等の意味および範囲内でのすべての変更が含まれることが意図される。
【0009】
以下の説明では、「前」、「後」、「左」、「右」、「上」および「下」という語句を用いることがあるが、これらの方向は、説明の便宜上、設定された相対的な方向である。各図において、「F」が「前」であり、「B」が「後」であり、「L」が「左」であり、「R」が「右」であり、「U」が「上」であり、「D」が「下」である。
【0010】
[全体構成]
図1は、本開示の実施形態に係る電気機器収納箱100の構成を示す斜視図である。図1に示すように、電気機器収納箱100は、分電盤などの電気機器を内部に収納する筐体10と、筐体10の上方に設けられる屋根30とを備える。筐体10は、前板11、後板12、右側板(側板)13、左側板(側板)14、天板15、底板16およびベース部17を有する。
(【0011】以降は省略されています)
この特許をJ-PlatPat(特許庁公式サイト)で参照する
関連特許
他の特許を見る