TOP
|
特許
|
意匠
|
商標
特許ウォッチ
Twitter
他の特許を見る
10個以上の画像は省略されています。
公開番号
2025177747
公報種別
公開特許公報(A)
公開日
2025-12-05
出願番号
2024084819
出願日
2024-05-24
発明の名称
電動機
出願人
株式会社神戸製鋼所
代理人
弁理士法人三協国際特許事務所
主分類
H02K
21/14 20060101AFI20251128BHJP(電力の発電,変換,配電)
要約
【課題】本発明は、3次元磁極構造において、単位質量当たりまたは単位体積当たりの出力トルクを向上できる電動機を提供する。
【解決手段】本発明は、3次元磁極構造の電動機であって、可動子の鉄心211Aは、電機子との対向面ASA、前記電機子に対向する対向方向Rにおける前記電機子と反対側の反対面OSA、および、前記可動子の移動方向θにおける移動方向面MSAを備え、対向面ASAが、鉄心211Aに外接する仮想の四角柱状体VSPにおける第1面FSと一致し、移動方向面MSAの面積が、仮想の四角柱状体VSPにおける移動方向θの第2面SSの面積に較べて小さい立体形状を呈している。
【選択図】図2
特許請求の範囲
【請求項1】
電機子コイルを備える電機子と、前記電機子と対向して配置される鉄心、および、前記電機子との対向面を可動子磁極として開放するように前記鉄心を囲繞する複数の永久磁石を備える磁極ブロックを複数備える可動子とを備え、
前記磁極ブロックにおける前記複数の永久磁石は、前記鉄心に同一の磁極を向けて配置され、
前記複数の磁極ブロックのそれぞれは、互いに隣接する各磁極ブロックにおける各対向面の各磁極が互いに異なるように並べて配置され、
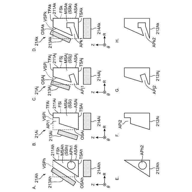
前記鉄心は、前記対向面、前記電機子に対向する対向方向における前記電機子と反対側の反対面、および、前記可動子の移動方向における移動方向面を備え、前記対向面が、前記鉄心に外接する仮想の四角柱状体における第1面と一致し、前記移動方向面の面積が、前記仮想の四角柱状体における前記移動方向の第2面の面積に較べて小さい立体形状を呈している、
電動機。
続きを表示(約 410 文字)
【請求項2】
前記鉄心は、前記反対面が、前記移動方向面と直交し、かつ、前記対向面に対して傾斜した立体形状を呈している、
請求項1に記載の電動機。
【請求項3】
前記鉄心は、前記移動方向面の面積が前記第2面の面積に較べて小さくするために、前記移動方向に凹むように前記移動方向面に形成された凹所、または、前記移動方向に貫通するように前記移動方向面に形成された開口部を備え、
前記複数の永久磁石のうち、前記移動方向面に沿って配置される第1永久磁石は、前記凹所または前記開口部を塞がない形状を呈している、
請求項1に記載の電動機。
【請求項4】
アキシャルギャップ型である、請求項1に記載の電動機。
【請求項5】
ラジアルギャップ型である、請求項1に記載の電動機。
【請求項6】
リニアモータ型である、請求項1に記載の電動機。
発明の詳細な説明
【技術分野】
【0001】
本発明は、3次元磁極構造を備えた電動機に関する。
続きを表示(約 2,400 文字)
【背景技術】
【0002】
電気エネルギーを機械エネルギーに変換する電動機は、様々な装置に利用されている。例えば、特許文献1には、出力の向上ために、電機子と可動子との間のギャップに生じる磁束数を増大させる3次元磁極構造の電動機が開示されている。この特許文献1に開示された電動機は、電機子コイルを有する電機子と、前記電機子と対向して配置される鉄心と、前記電機子との対向面を開放して前記鉄心を囲繞する複数の永久磁石とを具備する磁極ブロックを複数有する可動子とを備え、前記磁極ブロックにおいて、前記複数の永久磁石が前記鉄心に同一の磁極を向けて配置されており、複数の前記磁極ブロックのそれぞれは、前記可動子の可動方向及び当該可動方向に交差する方向の両方向において1つずつ磁極が反転するように配置され、一の前記磁極ブロックの開放された側の面から出た磁束が、前記可動方向及び前記交差する方向に分岐し、当該一の前記磁極ブロックと前記可動方向及び前記交差する方向で隣り合う他の前記磁極ブロックに進入する。
【先行技術文献】
【特許文献】
【0003】
特許第6835692号公報(特開2019-75848号公報)
【発明の概要】
【発明が解決しようとする課題】
【0004】
ところで、電動機には、単位質量当たりまたは単位体積当たりの出力トルクの向上が望まれる。前記特許文献1に開示された電動機における磁極ブロックは、電機子との対向面を開放して鉄心を囲繞する複数の永久磁石を備え、前記複数の永久磁石が前記鉄心に同一の磁極を向けて配置される3次元磁極構造を利用している。この3次元磁極構造では、これら複数の永久磁石における各形状(面積、厚さ)が、適した比率のときに、鉄心における対向面の磁束密度が最大化できる。前記出力トルクを向上させるために、対向面の面積を大きくし、鉄心の厚さを薄くすると、前記対向面に対向する鉄心の第A面に配設される第A永久磁石の面積が大きくなる一方、前記鉄心の側面である第Bおよび第C面それぞれに配設される第Bおよび第C永久磁石の各面積が小さくなるため、これら第A、第Bおよび第C永久磁石における各形状を、適した比率にすることが難しい。あるいは、前記出力トルクを向上させるために、磁場の変化を急峻にするべく移動方向に交互に並ぶN極とS極との間隔(極ピッチ)を短くすると、例えば第B永久磁石間の間隔が短くなるため、第Aおよび第C永久磁石の各面積が小さくなり、これら第A、第Bおよび第C永久磁石における各形状を、適した比率にすることが難しい。
【0005】
本発明は、上述の事情に鑑みて為された発明であり、その目的は、3次元磁極構造において、単位質量当たりまたは単位体積当たりの出力トルクを向上できる電動機を提供することである。
【課題を解決するための手段】
【0006】
本発明者は、種々検討した結果、上記目的は、以下の本発明により達成されることを見出した。すなわち、本発明の一態様にかかる電動機は、電機子コイルを備える電機子と、前記電機子と対向して配置される鉄心、および、前記電機子との対向面を可動子磁極として開放するように前記鉄心を囲繞する複数の永久磁石を備える磁極ブロックを複数備える可動子とを備え、前記磁極ブロックにおける前記複数の永久磁石は、前記鉄心に同一の磁極を向けて配置され、前記複数の磁極ブロックのそれぞれは、互いに隣接する各磁極ブロックにおける各対向面の各磁極が互いに異なるように並べて配置され、前記鉄心は、前記対向面、前記電機子に対向する対向方向における前記電機子と反対側の反対面、および、前記可動子の移動方向における移動方向面を備え、前記対向面が、前記鉄心に外接する仮想の四角柱状体における第1面と一致し、前記移動方向面の面積が、前記仮想の四角柱状体における前記移動方向の第2面の面積に較べて小さい立体形状を呈している。
【0007】
このような電動機は、3次元磁極構造を備え、対向面が仮想の四角柱状体における第1面と一致した状態で、移動方向面の面積が、前記仮想の四角柱状体における前記移動方向の第2面の面積に較べて小さくするので、鉄心が前記仮想の四角柱状体の形状である場合に較べて、前記移動方向面(前記第B面)に配置される第1永久磁石(前記第B永久磁石)、前記反対面(前記第A面)に配置される第2永久磁石(前記第A永久磁石)、および、前記対向面および前記移動方向面それぞれに直交する前記鉄心の第3方向面(前記第C面)に配置される第3永久磁石(前記第C永久磁石)における各形状を、より適した比率にすることができる。このため、上記電動機は、単位質量当たりまたは単位体積当たりの出力トルクを向上できる。
【0008】
他の一態様では、上述の電動機において、前記鉄心は、前記反対面が、前記移動方向面と直交し、かつ、前記対向面に対して傾斜した立体形状を呈している。
【0009】
このような電動機は、反対面が対向面に対して傾斜することで、移動方向面の面積が第2面の面積に較べて小さくできる。
【0010】
他の一態様では、これら上述の電動機において、前記鉄心は、前記移動方向面の面積が前記第2面の面積に較べて小さくするために、前記移動方向に凹むように前記移動方向面に形成された凹所、または、前記移動方向に貫通するように前記移動方向面に形成された開口部を備え、前記複数の永久磁石のうち、前記移動方向面に沿って配置される第1永久磁石は、前記凹所または前記開口部を塞がない形状を呈している。
(【0011】以降は省略されています)
この特許をJ-PlatPat(特許庁公式サイト)で参照する
関連特許
株式会社デンソー
回転電機
3日前
株式会社ダイヘン
送配電装置
3日前
株式会社不二越
空冷式油圧装置
3日前
富士電機株式会社
電力変換装置
3日前
富士電機株式会社
電力変換装置
3日前
株式会社イノコンバンク
無線給電システム
3日前
ジヤトコ株式会社
治具
3日前
多摩川精機株式会社
モータ
3日前
日本発條株式会社
コアの製造方法及び装置
3日前
河村電器産業株式会社
車両充電装置
3日前
株式会社明電舎
電力変換システム
3日前
株式会社神戸製鋼所
電動機
3日前
株式会社ミツバ
モータ装置
3日前
株式会社IHI
ロータ及びロータの製造方法
3日前
住友電装株式会社
プロテクタ、及びワイヤハーネス
3日前
株式会社プロテリアル
ケーブル接続構造体
3日前
日本精工株式会社
飛行体用回転支持装置
3日前
日本精工株式会社
飛行体用回転支持装置
3日前
株式会社豊田中央研究所
回転電機
3日前
国立大学法人横浜国立大学
発電装置
3日前
アズビル株式会社
モータ駆動制御装置及びモータの駆動制御方法
3日前
トヨタ自動車株式会社
電力融通システム
3日前
ローム株式会社
電源制御装置及び電源装置
3日前
ミネベアミツミ株式会社
モータ及び無人機
3日前
日本システムバンク株式会社
電気自動車用の合理的な急速充電ステーション
3日前
株式会社エヌエスティー
二次電池の充放電検査システム
3日前
株式会社ニチモ
太陽光発電設備の施工方法及び太陽光発電設備
3日前
Astemo株式会社
モータ制御装置およびモータ制御方法
3日前
株式会社ミツトヨ
測定器及び受電モジュール
4日前
ローム株式会社
電源制御装置、スイッチング電源
3日前
五洋建設株式会社
水中ケーブル埋設装置及び水中ケーブルの埋設方法
3日前
株式会社日立製作所
外転型回転電機、巻上機、エレベーター
3日前
Astemo株式会社
ノイズフィルタ装置
3日前
株式会社日立製作所
電力系統安定化装置および電力系統安定化方法
3日前
ミネベアミツミ株式会社
電子機器
3日前
瑞旭実業有限公司
光発電フレーム及び光発電モジュール
3日前
続きを見る
他の特許を見る