TOP
|
特許
|
意匠
|
商標
特許ウォッチ
Twitter
他の特許を見る
公開番号
2025177660
公報種別
公開特許公報(A)
公開日
2025-12-05
出願番号
2024084690
出願日
2024-05-24
発明の名称
水中ケーブル埋設装置及び水中ケーブルの埋設方法
出願人
五洋建設株式会社
代理人
個人
,
個人
主分類
H02G
1/10 20060101AFI20251128BHJP(電力の発電,変換,配電)
要約
【課題】効率的且つ確実に水中ケーブルを水底地盤に埋設することができる水中ケーブル埋設装置及び水中ケーブルの埋設方法の提供。
【解決手段】この水中ケーブル埋設装置は、ケーブル3の水底地盤1より上の位置に移動可能に外嵌された筒状の噴射管6と、噴射管6の水底地盤側に向けた前方噴射ノズル8,8…と、噴射管6の水面側に向けられた後方噴射ノズル9,9…と、前方噴射ノズル8,8…及び後方噴射ノズル9,9…の流体噴射量を制御する噴射制御手段とを備え、噴射管6の姿勢を制御しつつ、前方噴射ノズル8,8…から噴射された流体7により流動化した水底地盤1にケーブル3の噴射管6の水底地盤側端面より先に位置する部分3bを自重により沈下させて水底地盤1にケーブル3を埋設するようにしている。
【選択図】図5
特許請求の範囲
【請求項1】
移動する作業台船のケーブル繰り出し手段よりケーブルを水底地盤に向けて繰り出し、該ケーブルを前記水底地盤に埋設する水中ケーブル埋設装置において、
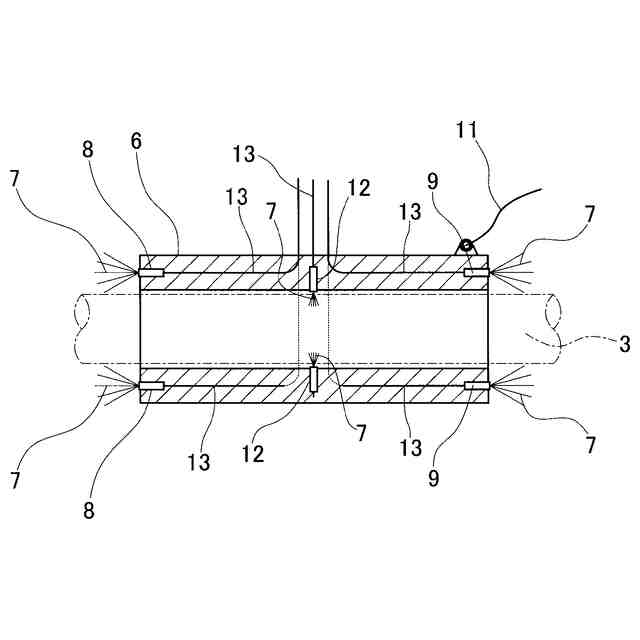
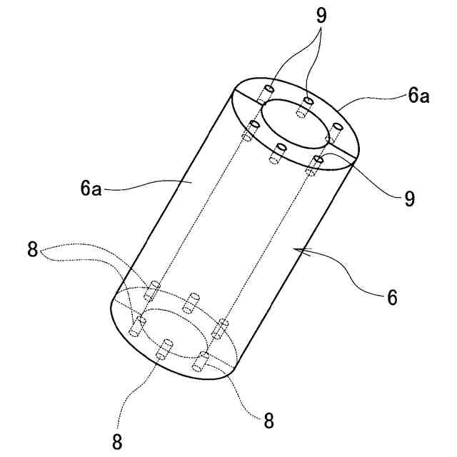
前記ケーブルの水底地盤面より上の位置に移動可能に外嵌された筒状の噴射管と、該噴射管の水底地盤側に向けて流体を噴射する前方噴射ノズルと、前記噴射管の水面側に向けられた他方の端面より流体を噴射する後方噴射ノズルと、前記前方噴射ノズル及び前記後方噴射ノズルの流体噴射量を制御する噴射制御手段とを備え、
前記前方噴射ノズル及び前記後方噴射ノズルにより前記噴射管の位置及び姿勢を制御しつつ、前記前方噴射ノズルから噴射された流体により流動化した水底地盤に前記ケーブル繰り出し手段より繰り出されたケーブルの前記噴射管の水底地盤側端面より先に位置する部分を自重により沈下させて前記水底地盤に前記ケーブルを埋設するようにしたことを特徴としてなる水中ケーブル埋設装置。
続きを表示(約 1,000 文字)
【請求項2】
前記噴射管に間隙水圧計を備え、該間隙水圧計で計測された水圧によって前記噴射管の水面からの深さが検知される請求項1に記載の水中ケーブル埋設装置。
【請求項3】
前記噴射管に土圧計を備え、該土圧計で計測された土圧によって前記噴射管の水底面からの深さが検知される請求項1又は2に記載の水中ケーブル埋設装置。
【請求項4】
前記噴射管の内周部に流体を噴射する洗浄ノズルを備えた請求項1に記載の水中ケーブル埋設装置。
【請求項5】
前記噴射管に取り付けられた回収用ワイヤを備えている請求項1に記載の水中ケーブル埋設装置。
【請求項6】
移動する作業台船より水底地盤に向けてケーブルを繰り出しつつ、該ケーブルを前記水底地盤に埋設する水中ケーブルの埋設方法において、
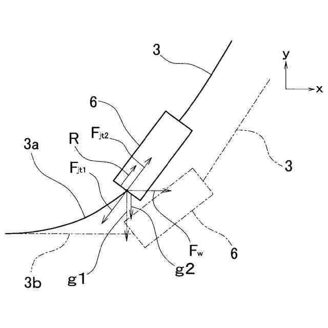
前記ケーブルの水底地盤表面より上の部分に移動可能に外嵌させた噴射管より水面側に向けて流体を噴射しつつ、前記噴射管から水底地盤側に向けて流体を噴射し、前記水底地盤を流動化させる水底部流動化工程と、
該流動化した水底地盤に繰り出されたケーブルの前記噴射管の水底地盤側端面より先に位置する部分を自重により沈下させるケーブル沈下工程と、
前記噴射管を前記ケーブルに沿って後退させ、前記噴射管の水底地盤側端面より先に前記ケーブルの新たに沈下させる部分を露出させる位置復帰工程とを繰り返し、
前記水底地盤に前記ケーブルを埋設することを特徴としてなる水中ケーブルの埋設方法。
【請求項7】
前記位置復帰工程は、水面側に向けた流体の噴射を停止し、前記水底地盤側に向けた流体の噴射によって前記噴射管を前記ケーブルに沿って後退させる請求項6に記載の水中ケーブルの埋設方法。
【請求項8】
前記噴射管に取り付けた間隙水圧計で計測された水圧によって前記噴射管の水面からの深さを算出し、前記噴射管が所定の深さに到達したら前記噴射管を前記ケーブルに沿って後退させる請求項6又は7に記載の水中ケーブルの埋設方法。
【請求項9】
前記噴射管に取り付けた土圧計で計測された土圧によって前記噴射管が前記水底地盤に埋伏した深さを算出し、前記噴射管が所定の深さに到達したら前記噴射管を前記ケーブルに沿って後退させる請求項6又は7に記載の水中ケーブルの埋設方法。
発明の詳細な説明
【技術分野】
【0001】
本発明は、海底等に通信ケーブル等のケーブルを埋設するための水中ケーブル埋設装置及び水中ケーブルの埋設方法に関する。
続きを表示(約 1,300 文字)
【背景技術】
【0002】
一般に、海底ケーブル等の水中ケーブルの設置は、ケーブルを積載した専用の敷設船を水上移動させつつ、水中に向けてケーブルを繰り出し、ケーブルを海底に沈めて敷設する方法が一般的である。
【0003】
しかしながら、この種の水中ケーブルは、水底に露出した状態で敷設されている場合、波浪等の自然外力、船舶のアンカー、底引き網等によって損傷するおそれがあるため、特に、大陸棚までの浅海部分では水底地盤内に埋設することが望ましい。
【0004】
そこで、従来では、専用の掘削機等を用いて水底地盤を掘削して埋設用の溝を形成し、その溝に水中ケーブルを埋設するようになっている(例えば、特許文献1を参照)。
【先行技術文献】
【特許文献】
【0005】
特開2001-112136号公報
【発明の概要】
【発明が解決しようとする課題】
【0006】
しかしながら、上述の如き従来の技術では、波や流れが常時作用する場所や時期によって、ケーブルを埋設するために地盤を掘削しても直ちに埋め戻ってしまうため水中ケーブルを水底地盤に埋設することが困難である場合があるという問題があった。
【0007】
そこで、本発明は、このような従来の問題に鑑み、効率的且つ確実に水中ケーブルを水底地盤に埋設することができる水中ケーブル埋設装置及び水中ケーブルの埋設方法の提供を目的としてなされたものである。
【課題を解決するための手段】
【0008】
上述の如き従来の問題を解決するための請求項1に記載の発明の特徴は、移動する作業台船のケーブル繰り出し手段よりケーブルを水底地盤に向けて繰り出し、該ケーブルを前記水底地盤に埋設する水中ケーブル埋設装置において、前記ケーブルの水底地盤面より上の位置に移動可能に外嵌された筒状の噴射管と、該噴射管の水底地盤側に向けて流体を噴射する前方噴射ノズルと、前記噴射管の水面側に向けられた他方の端面より流体を噴射する後方噴射ノズルと、前記前方噴射ノズル及び前記後方噴射ノズルの流体噴射量を制御する噴射制御手段とを備え、前記前方噴射ノズル及び前記後方噴射ノズルにより前記噴射管の位置及び姿勢を制御しつつ、前記前方噴射ノズルから噴射された流体により流動化した水底地盤に前記ケーブル繰り出し手段より繰り出されたケーブルの前記噴射管の水底地盤側端面より先に位置する部分を自重により沈下させて前記水底地盤に前記ケーブルを埋設するようにしたことにある。
【0009】
請求項2に記載の発明の特徴は、請求項1の構成に加え、前記噴射管に間隙水圧計を備え、該間隙水圧計で計測された水圧によって前記噴射管の水面からの深さが検知されることにある。
【0010】
請求項3に記載の発明の特徴は、請求項1又は2の構成に加え、前記噴射管に土圧計を備え、該土圧計で計測された土圧によって前記噴射管の水底面からの深さが検知されることにある。
(【0011】以降は省略されています)
この特許をJ-PlatPat(特許庁公式サイト)で参照する
関連特許
個人
高圧電気機器の開閉器
20日前
個人
電気を重力で発電装置
1か月前
キヤノン電子株式会社
モータ
1か月前
キヤノン電子株式会社
モータ
1か月前
株式会社東光高岳
充電器
今日
コーセル株式会社
電源装置
1か月前
株式会社アイドゥス企画
減反モータ
20日前
トヨタ自動車株式会社
モータ
1か月前
株式会社デンソー
端子台
13日前
株式会社デンソー
回転電機
4日前
株式会社ダイヘン
送配電装置
4日前
富士電機株式会社
電力変換装置
4日前
株式会社不二越
空冷式油圧装置
4日前
本田技研工業株式会社
回転電機
6日前
ローム株式会社
半導体集積回路
11日前
富士電機株式会社
電力変換装置
4日前
株式会社東光高岳
充電対象切換システム
今日
株式会社日立製作所
回転電機
11日前
株式会社TMEIC
制御装置
12日前
矢崎総業株式会社
給電装置
12日前
矢崎総業株式会社
電源回路
19日前
個人
非対称鏡像力を有する4層PWB電荷搬送体
27日前
大和ハウス工業株式会社
敷設用機器
12日前
日産自動車株式会社
ロータシャフト
27日前
日産自動車株式会社
ロータシャフト
27日前
ローム株式会社
モータドライバ回路
27日前
トヨタ自動車株式会社
ステータの製造装置
1か月前
株式会社イノコンバンク
無線給電システム
4日前
西芝電機株式会社
緊急切断方法及び軸発電機
今日
株式会社土井製作所
ケーブル保護管路
11日前
サンデン株式会社
モータ
5日前
株式会社アイシン
電力変換装置
1か月前
トヨタ紡織株式会社
ロータの製造装置
1か月前
京商株式会社
模型用非接触電力供給システム
20日前
サンデン株式会社
モータ
5日前
個人
電線盗難防止方法及び電線盗難防止装置
1か月前
続きを見る
他の特許を見る