TOP
|
特許
|
意匠
|
商標
特許ウォッチ
Twitter
他の特許を見る
10個以上の画像は省略されています。
公開番号
2025177759
公報種別
公開特許公報(A)
公開日
2025-12-05
出願番号
2024084839
出願日
2024-05-24
発明の名称
ケーブル接続構造体
出願人
株式会社プロテリアル
代理人
名古屋国際弁理士法人
主分類
H02G
15/064 20060101AFI20251128BHJP(電力の発電,変換,配電)
要約
【課題】碍管のうち、径方向においてパイプ部材と埋設部材とにより挟まれた高ストレス部において絶縁破壊が生じることを抑制できるケーブル接続構造体を提供すること。
【解決手段】ケーブル接続構造体は、電力ケーブルの外周側に配置されるパイプ部材と、前記パイプ部材の外周側に配置され、ゴム材料により構成される碍管と、前記碍管に埋設された埋設部材と、を備える。前記碍管は、径方向において前記パイプ部材と前記埋設部材とにより挟まれた高ストレス部を備える。前記高ストレス部のS-N特性を測定した場合、繰り返し回数Nが10
7
であるときの応力片振幅σは1.0MPa以上である。
【選択図】図1
特許請求の範囲
【請求項1】
電力ケーブルの外周側に配置されるパイプ部材と、
前記パイプ部材の外周側に配置され、ゴム材料により構成される碍管と、
前記碍管に埋設された埋設部材と、
を備え、
前記碍管は、径方向において前記パイプ部材と前記埋設部材とにより挟まれた高ストレス部を備え、
前記高ストレス部のS-N特性を測定した場合、繰り返し回数Nが10
7
であるときの応力片振幅σは1.0MPa以上である、
ケーブル接続構造体。
続きを表示(約 380 文字)
【請求項2】
請求項1に記載のケーブル接続構造体であって、
前記高ストレス部は、大きさが1μm以上である異物を含まない、
ケーブル接続構造体。
【請求項3】
電力ケーブルの外周側に配置されるパイプ部材と、
前記パイプ部材の外周側に配置され、ゴム材料により構成される碍管と、
前記碍管に埋設された埋設部材と、
を備え、
前記碍管は、径方向において前記パイプ部材と前記埋設部材とにより挟まれた高ストレス部を備え、
前記高ストレス部は、大きさが1μm以上である異物を含まない、
ケーブル接続構造体。
【請求項4】
請求項1~3のいずれか1項に記載のケーブル接続構造体であって、
前記ゴム材料はシリコーンゴムである、
ケーブル接続構造体。
発明の詳細な説明
【技術分野】
【0001】
本開示はケーブル接続構造体に関する。
続きを表示(約 2,000 文字)
【背景技術】
【0002】
特許文献1にケーブル接続構造体が開示されている。ケーブル接続構造体は、電力ケーブルを他の電線等と接続するための部材である。ケーブル接続構造体は、電力ケーブルの外周側に配置されるパイプ部材と、パイプ部材の外周側に配置される碍管と、碍管に埋設された埋設部材とを備える。碍管は、ゴム材料により構成される。パイプ部材及び埋設部材は金属により構成される。
【先行技術文献】
【特許文献】
【0003】
特開2022-128719号公報
【発明の概要】
【発明が解決しようとする課題】
【0004】
碍管は、径方向においてパイプ部材と埋設部材とにより挟まれた部分(以下では高ストレス部とする)を備える。高ストレス部には、電気的ストレス、及び機械的ストレスが掛かる。発明者は、研究の結果、高ストレス部に異物が存在した場合、高ストレス部において絶縁破壊が生じ易いことを見出した。
【0005】
本開示の1つの局面では、高ストレス部において絶縁破壊が生じることを抑制できるケーブル接続構造体を提供することが好ましい。
【課題を解決するための手段】
【0006】
本開示の1つの局面は、電力ケーブルの外周側に配置されるパイプ部材と、前記パイプ部材の外周側に配置され、ゴム材料により構成される碍管と、前記碍管に埋設された埋設部材と、を備え、前記碍管は、径方向において前記パイプ部材と前記埋設部材とにより挟まれた高ストレス部を備え、前記高ストレス部のS-N特性を測定した場合、繰り返し回数Nが10
7
であるときの応力片振幅σは1.0MPa以上であるケーブル接続構造体である。
本開示の1つの局面であるケーブル接続構造体は、高ストレス部において絶縁破壊が生じることを抑制できる。
【0007】
本開示の別の局面は、電力ケーブルの外周側に配置されるパイプ部材と、前記パイプ部材の外周側に配置され、ゴム材料により構成される碍管と、前記碍管に埋設された埋設部材と、を備え、前記碍管は、径方向において前記パイプ部材と前記埋設部材とにより挟まれた高ストレス部を備え、前記高ストレス部は、大きさが1μm以上である異物を含まないケーブル接続構造体である。
本開示の別の局面であるケーブル接続構造体は、高ストレス部において絶縁破壊が生じることを抑制できる。
【図面の簡単な説明】
【0008】
第1実施形態におけるケーブル接続構造体の構成を表す側断面図である。
図1における高ストレス部の周囲を拡大した拡大断面図である。
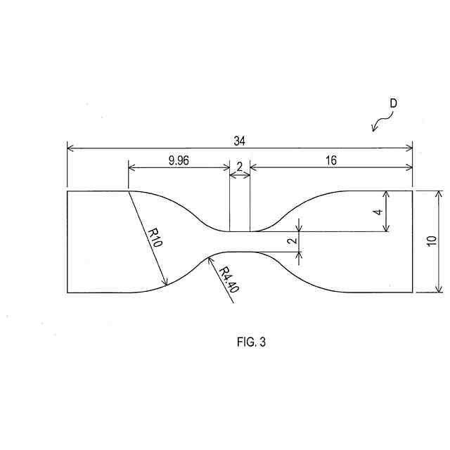
ダンベル試験片の形状及び大きさを表す平面図である。
S-N特性を測定するときにダンベル試験片に印加する応力の推移を表すグラフである。
繰り返し回数Nと、応力片振幅σとの関係を表すグラフである。
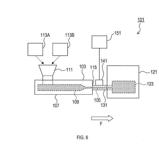
射出成形装置の構成を表すブロック図である。
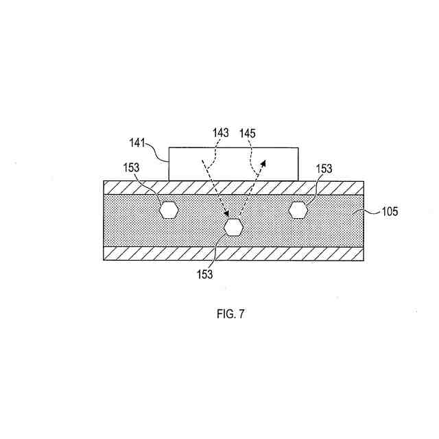
測定部の構成と機能とを表す説明図である。
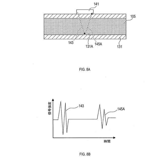
図8Aは、接続部の内部を流れている2液混合型液状ゴムに異物が含まれていない状態を示す説明図である。図8Bは、図8Aに示す状態において、測定部が取得し、判定部に送信する測定データを示す説明図である。
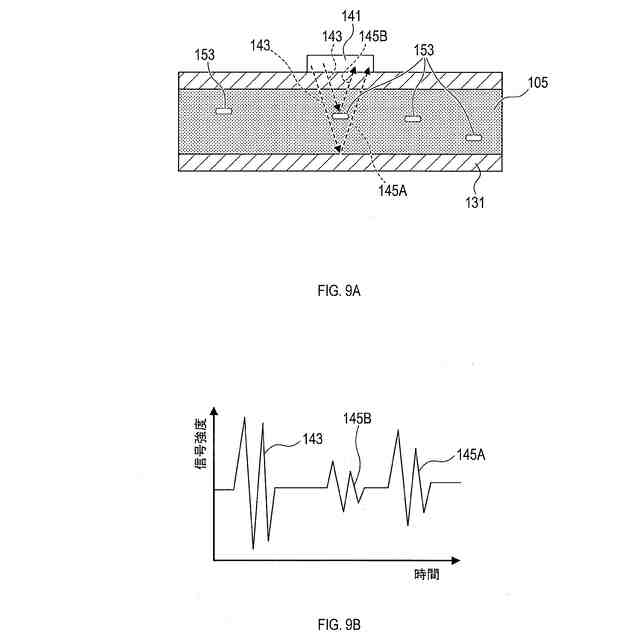
図9Aは、接続部の内部を流れている2液混合型液状ゴムに異物が含まれている状態を示す説明図である。図9Bは、図9Aに示す状態において、測定部が取得し、判定部に送信する測定データを示す説明図である。
第2の異物測定を行うときの超音波センサの位置及び移動方向を表す側断面図である。
第2の異物測定を行うときの超音波センサの位置及び移動方向を表す直交断面図である。
異物を含まないダンベル試験片DAと、異物を含むダンベル試験片DBとについて測定したS-N特性を表すグラフである。
【発明を実施するための形態】
【0009】
本開示の例示的な実施形態について図面を参照しながら説明する。
<第1実施形態>
1.ケーブル接続構造体1の構成
ケーブル接続構造体1の構成を、図1~図2に基づき説明する。なお、ケーブル接続構造体1は、電力ケーブル10を他の電線等と接続するための部材である。ケーブル接続構造体1は、例えば、鉄道車両の屋根に取り付けられる。ケーブル接続構造体1は、例えば、隣り合う鉄道車両間の電気的接続、パンタグラフとの電気的接続等の用途に用いることができる。
【0010】
(1-1)ケーブル接続構造体1の全体構成
ケーブル接続構造体1は、電力ケーブル10の端部付近に取り付けられる部材である。図1に示すように、ケーブル接続構造体1は、本体部3と、フランジ5と、カバー7と、封止部8と、接続部9と、を備える。
(【0011】以降は省略されています)
この特許をJ-PlatPat(特許庁公式サイト)で参照する
関連特許
他の特許を見る