TOP
|
特許
|
意匠
|
商標
特許ウォッチ
Twitter
他の特許を見る
公開番号
2025177120
公報種別
公開特許公報(A)
公開日
2025-12-05
出願番号
2024083664
出願日
2024-05-22
発明の名称
ノイズフィルタ装置
出願人
Astemo株式会社
代理人
弁理士法人サンネクスト国際特許事務所
主分類
H02M
7/48 20070101AFI20251128BHJP(電力の発電,変換,配電)
要約
【課題】所望のノイズ抑制効果を安定的に発揮可能なノイズフィルタ装置の提供。
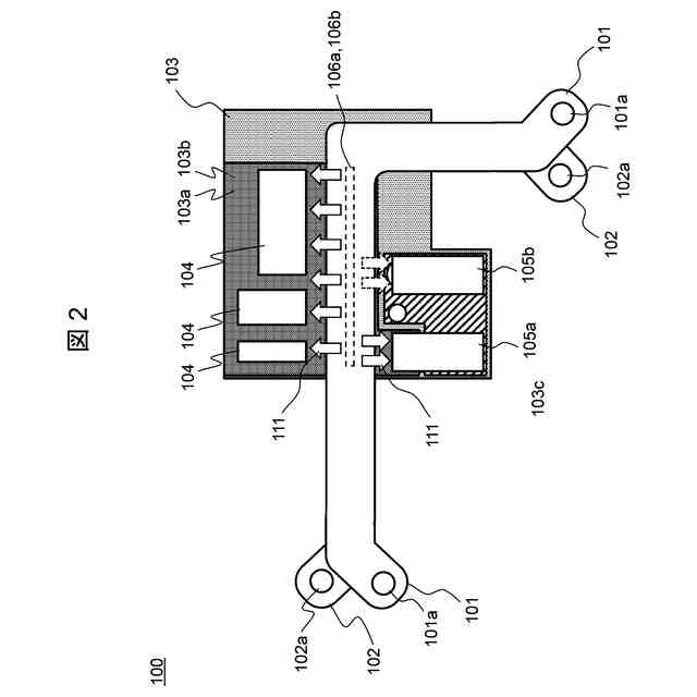
【解決手段】ノイズフィルタ装置100は、第1バスバ101、第2バスバ102と電気的に接続される第1配線層103a、第2配線層103bおよびグランド配線層103cを有するプリント回路基板103と、プリント回路基板103上に搭載され、これらの配線層と電気的に接続されるノイズフィルタ用のXキャパシタ104およびYキャパシタ105a,105bと、第1バスバ101および第2バスバ102とプリント回路基板103の間に挟持される可撓性の導電部材とを備える。導電部材は、第1バスバ101および第2バスバ102の板厚方向および幅方向に直交するバスバ延在方向に沿った線状の電気的接続部106a,106bを、第1バスバ101、第2バスバ102と第1配線層103a、第2配線層103bの間においてそれぞれ形成する。
【選択図】図1
特許請求の範囲
【請求項1】
導電性の平板状部材からなるバスバと、
前記バスバと電気的に接続される配線層を有するプリント回路基板と、
前記プリント回路基板上に搭載され、前記配線層と電気的に接続されるノイズフィルタ用のキャパシタと、
前記バスバと前記プリント回路基板の間に挟持される可撓性の導電部材と、を備え、
前記導電部材は、前記バスバの板厚方向および幅方向に直交するバスバ延在方向に沿った線状の電気的接続部を、前記バスバと前記配線層の間において形成する
ノイズフィルタ装置。
続きを表示(約 670 文字)
【請求項2】
請求項1に記載のノイズフィルタ装置において、
前記バスバは、前記プリント回路基板と対向する面に嵌入溝を有し、
前記導電部材は、前記嵌入溝の中に配置される
ノイズフィルタ装置。
【請求項3】
請求項1に記載のノイズフィルタ装置において、
複数の前記キャパシタが、前記バスバ延在方向に沿って並んで配置される
ノイズフィルタ装置。
【請求項4】
請求項1に記載のノイズフィルタ装置において、
前記配線層は、前記導電部材から前記キャパシタへ二次元的に延設される平板導体を有する
ノイズフィルタ装置。
【請求項5】
請求項1に記載のノイズフィルタ装置において、
前記バスバは、直流電源の正極側に接続される第1バスバと、前記直流電源の負極側に接続される第2バスバと、を含み、
前記配線層は、前記第1バスバと電気的に接続される第1配線層と、前記第2バスバと電気的に接続される第2配線層と、グランド電位と電気的に接続されるグランド配線層と、を含み、
前記キャパシタは、前記第1配線層および前記グランド配線層に接続される第2キャパシタと、前記第2配線層および前記グランド配線層に接続される第3キャパシタと、を含む
ノイズフィルタ装置。
【請求項6】
請求項1に記載のノイズフィルタ装置において、
互いに平行な複数の前記電気的接続部を有する
ノイズフィルタ装置。
発明の詳細な説明
【技術分野】
【0001】
本発明は、電磁ノイズを抑制する装置に関する。
続きを表示(約 2,000 文字)
【背景技術】
【0002】
従来、電気自動車や電車等の電動車両において、直流電源から供給される直流電力をインバータで所望の周波数および電圧の交流電力に変換し、その交流電力を交流モータへ出力することにより、交流モータを駆動させるモータ駆動システムが利用されている。こうしたモータ駆動システムにおいて、直流電源とインバータの間には比較的大電流が流れるため、一般にこれらはバスバを介して電気的に接続される。
【0003】
モータ駆動システムでは、インバータのスイッチング動作によって直流電力が交流電力に変換されるが、このとき直流電源とインバータの間に流れる電流では、インバータのスイッチング動作に伴うノイズ(電磁ノイズ)が発生する。ノイズは周辺の電子機器に悪影響を及ぼすおそれがあるため、できるだけ抑制する必要がある。
【0004】
電動車両用のモータ駆動システムにおけるノイズ抑制に関して、特許文献1の技術が知られている。特許文献1には、コンデンサを搭載しており複数の導電路を有する回路基板と、回路基板の第1面上に固定されていて、複数の導電路のうちの少なくとも1つの導電路に電気接続されている1つの第1導電レールと、回路基板の第2面上に固定されていて、複数の導電路のうちの少なくとも1つの導電路に電気接続されている1つの第2導電レールと、を備えるフィルタが記載されている。このフィルタでは、バスバに相当する第1導電レールおよび第2導電レールを回路基板の一方の面(第1面)と他方の面(第2面)上にそれぞれ配置することで、これらの導電レールと回路基板の導電路との間を低いインダクタンスで電気的に接続し、ノイズ抑制効果を高めるようにしている。
【先行技術文献】
【特許文献】
【0005】
特開2018-50034号公報
【発明の概要】
【発明が解決しようとする課題】
【0006】
特許文献1のフィルタでは、ねじ、ブラケット、リベット等の固定手段により導電レールを回路基板上に固定することで、導電レールと回路基板の導電路とを電気的に接続するようにしている。しかしながら、このような接続方法では、例えば製造時における導電レールや回路基板の寸法誤差や組み付け誤差、これらの表面の反りや凹凸、運用中の継続的な振動印加による固定手段の緩み等、様々な要因により、導電レールと回路基板の導電路との間で必ずしも設計通りの接触面積が得られるとは限らない。その結果、導電レールと導電路のインダクタンスを十分に低くすることができず、所望のノイズ抑制効果を発揮できない場合がある。
【0007】
本発明は、上記の課題に鑑みてなされたものであり、その主な目的は、所望のノイズ抑制効果を安定的に発揮可能なノイズフィルタ装置の提供にある。
【課題を解決するための手段】
【0008】
本発明によるノイズフィルタ装置は、導電性の平板状部材からなるバスバと、前記バスバと電気的に接続される配線層を有するプリント回路基板と、前記プリント回路基板上に搭載され、前記配線層と電気的に接続されるノイズフィルタ用のキャパシタと、前記バスバと前記プリント回路基板の間に挟持される可撓性の導電部材と、を備え、前記導電部材は、前記バスバの板厚方向および幅方向に直交するバスバ延在方向に沿った線状の電気的接続部を、前記バスバと前記配線層の間において形成する。
【発明の効果】
【0009】
本発明によれば、所望のノイズ抑制効果を安定的に発揮可能なノイズフィルタ装置を提供できる。
【図面の簡単な説明】
【0010】
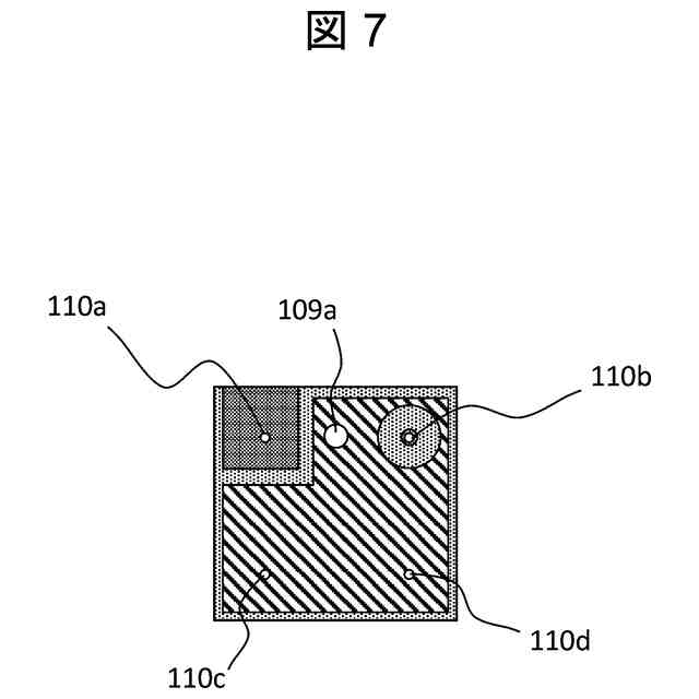
本発明の第1の実施形態に係るノイズフィルタ装置の平面図である。
図1から磁性コアとモールド樹脂を取り除いた様子を示す図である。
本発明の第1の実施形態における導電部材の設置構造を示す図である。
本発明の第1の実施形態に係るノイズフィルタ装置の断面図である。
本発明の第1の実施形態に係るノイズフィルタ装置の断面図である。
本発明の第1の実施形態に係るノイズフィルタ装置の断面図である。
プリント回路基板におけるYキャパシタの接続部分を示す図である。
本発明の第2の実施形態に係るノイズフィルタ装置の平面図である。
本発明の第2の実施形態に係るノイズフィルタ装置の断面図である。
ノイズフィルタ装置の変形例を示す図である。
ノイズフィルタ装置の変形例を示す図である。
本発明の第3の実施形態における導電部材の設置構造を示す図である。
本発明の第3の実施形態に係るノイズフィルタ装置の断面図である。
【発明を実施するための形態】
(【0011】以降は省略されています)
この特許をJ-PlatPat(特許庁公式サイト)で参照する
関連特許
Astemo株式会社
緩衝器
17日前
Astemo株式会社
緩衝器
1か月前
Astemo株式会社
緩衝器
1か月前
Astemo株式会社
緩衝器
2日前
Astemo株式会社
緩衝器
25日前
Astemo株式会社
撮像装置
1か月前
Astemo株式会社
操舵装置
1か月前
Astemo株式会社
電子装置
11日前
Astemo株式会社
充電制御装置
9日前
Astemo株式会社
外界認識装置
1か月前
Astemo株式会社
車両制御装置
2日前
Astemo株式会社
電子制御装置
2日前
Astemo株式会社
電子制御装置
1か月前
Astemo株式会社
管制システム
2日前
Astemo株式会社
ゲート駆動回路
25日前
Astemo株式会社
車載電力分配装置
9日前
Astemo株式会社
プロペラシャフト
1か月前
Astemo株式会社
接合方法、構造物
17日前
Astemo株式会社
内燃機関の制御装置
17日前
Astemo株式会社
減衰力調整式緩衝器
2日前
Astemo株式会社
ノイズフィルタ装置
2日前
Astemo株式会社
電力変換装置の制御装置
17日前
Astemo株式会社
学習システム及び学習方法
1か月前
Astemo株式会社
歯車の研磨装置及び研磨方法
1か月前
Astemo株式会社
半導体装置及び電力変換装置
17日前
Astemo株式会社
画像処理装置及び画像処理方法
1か月前
株式会社日立製作所
冷却構造
3日前
Astemo株式会社
電子制御装置及び環境認識方法
2日前
Astemo株式会社
画像処理装置および画像処理方法
1か月前
株式会社日立製作所
電力変換装置
4日前
株式会社日立製作所
電力変換装置
3日前
Astemo株式会社
モータ制御装置およびモータ制御方法
2日前
Astemo株式会社
電池管理システム、および、電池管理方法
17日前
Astemo株式会社
電動ブレーキ及び電動ブレーキの組立方法
9日前
Astemo株式会社
車両データ収集装置および車両データ収集方法
1か月前
Astemo株式会社
車両制御プログラム決定方法および通信制御装置
1か月前
続きを見る
他の特許を見る