TOP
|
特許
|
意匠
|
商標
特許ウォッチ
Twitter
他の特許を見る
10個以上の画像は省略されています。
公開番号
2025174504
公報種別
公開特許公報(A)
公開日
2025-11-28
出願番号
2024080918
出願日
2024-05-17
発明の名称
車載電力分配装置
出願人
Astemo株式会社
代理人
弁理士法人平木国際特許事務所
主分類
H03K
17/04 20060101AFI20251120BHJP(基本電子回路)
要約
【課題】車載電力分配装置が相互接続された車載パワーネットシステムにおいて、電源幹線故障時の電源供給を継続および復旧速度を向上することができる車載電力分配装置を提供する。
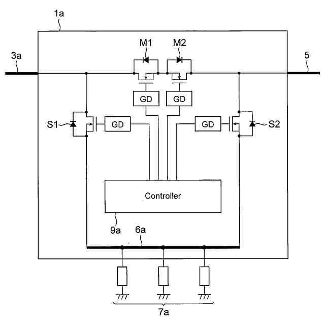
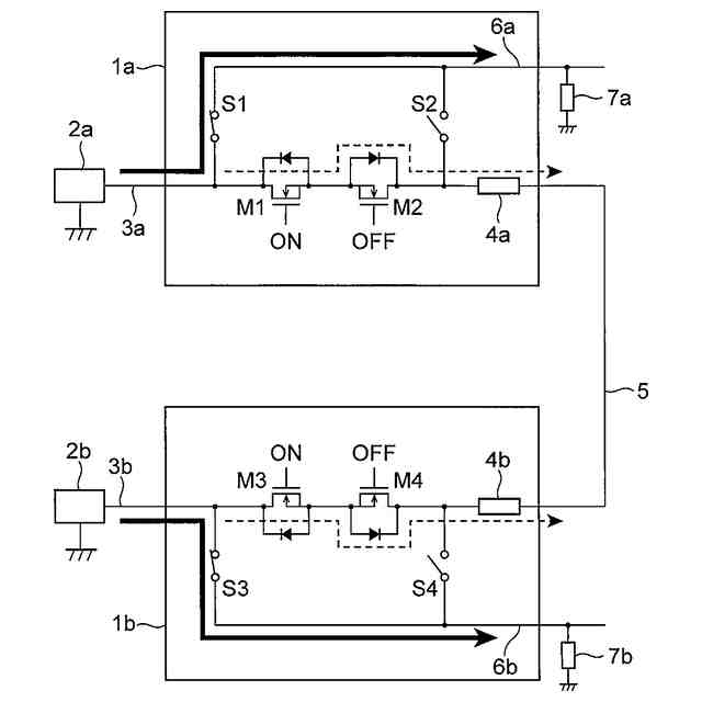
【解決手段】第1の電源幹線3aからの電力を負荷に分配する第1電力分配装置1aと、第2の電源幹線3bからの電力を負荷に分配する第2電力分配装置1bと、第1電力分配装置1aと第2電力分配装置1bを接続する接続幹線5とを備えた車載電力分配装置1において、第1電力分配装置1aにMOSFET(M1)とMOSFET(M2)を互いに逆向きに直列接続した半導体スイッチを備え、半導体スイッチは第1の電源幹線3aと接続幹線5の間に設けられ、MOSFET(M1)をON状態、MOSFET(M2)をOFF状態とし、MOSFET(M2)のボディダイオードを介して接続幹線5に電圧を印加した状態で待機し、接続幹線5の電流上昇に応じてMOSFET(M2)をONする。
【選択図】図1
特許請求の範囲
【請求項1】
第1の電源幹線からの電力を負荷に分配する第1電力分配装置と、第2の電源幹線からの電力を負荷に分配する第2電力分配装置と、前記第1電力分配装置と前記第2電力分配装置を接続する接続幹線とを備えた車載電力分配装置において、
前記第1電力分配装置に第1の半導体トランジスタと第2の半導体トランジスタを互いに逆向きに直列接続した半導体スイッチを備え、前記半導体スイッチは前記第1の電源幹線と前記接続幹線の間に設けられ、
前記第1の半導体トランジスタをON状態、前記第2の半導体トランジスタをOFF状態とし、前記第2の半導体トランジスタのボディダイオードを介して前記接続幹線に電圧を印加した状態で待機し、前記接続幹線の電流上昇に応じて前記第2の半導体トランジスタをONすることを特徴とする車載電力分配装置。
続きを表示(約 1,300 文字)
【請求項2】
請求項1に記載の車載電力分配装置において、
前記第1の半導体トランジスタはMOSFET(M1)であり、そのボディダイオードのカソード側端子を前記第1の電源幹線に向けて接続され、前記第2の半導体トランジスタはMOSFET(M2)であり、そのボディダイオードのカソード側端子を前記接続幹線に向けて接続され、または
前記第1の半導体トランジスタはMOSFET(M1)であり、そのボディダイオードのアノード側端子を前記接続幹線に向けて接続され、前記第2の半導体トランジスタはMOSFET(M2)であり、そのボディダイオードのアノード側端子を前記第1の電源幹線に向けて接続され、
前記MOSFET(M1)をON状態、前記MOSFET(M2)をOFF状態とし、前記MOSFET(M2)のボディダイオードを介して前記接続幹線に電圧を印加した状態で待機し、前記接続幹線の電流上昇に応じて前記MOSFET(M2)をONすることを特徴とする車載電力分配装置。
【請求項3】
請求項2に記載の車載電力分配装置において、
前記接続幹線に流れる電流を検出する電流検出器を設け、前記電流検出器により検出した電流量が所定の閾値を超えると前記MOSFET(M2)をONすることを特徴とする車載電力分配装置。
【請求項4】
請求項2に記載の車載電力分配装置において、
前記第1電力分配装置と前記第2電力分配装置を通信線により接続し、前記第2電力分配装置は、前記通信線を介して切替指令を前記第1電力分配装置に送信し、前記第1電力分配装置は、前記切替指令に基づいて前記MOSFET(M2)をONすることを特徴とする車載電力分配装置。
【請求項5】
請求項2に記載の車載電力分配装置において、
前記MOSFET(M1)または前記MOSFET(M2)のソース-ドレイン端子にボディダイオードの順方向と同じ向きにダイオードを並列に接続したことを特徴とする車載電力分配装置。
【請求項6】
請求項1に記載の車載電力分配装置において、
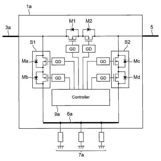
前記第1の半導体トランジスタと前記第1の電源幹線の間から分岐接続した第1の半導体スイッチを介して負荷電源線を接続し、前記接続幹線と前記第2の半導体トランジスタの間から分岐接続した第2の半導体スイッチを介して前記負荷電源線を接続し、前記第1電力分配装置に接続される負荷は、前記負荷電源線に接続されて電源供給されることを特徴とする車載電力分配装置。
【請求項7】
請求項6に記載の車載電力分配装置において、
前記第1の半導体スイッチまたは前記第2の半導体スイッチは、二つのMOSFETのソース-ドレイン方向が逆向きになるように直列接続した半導体スイッチであることを特徴とする車載電力分配装置。
【請求項8】
請求項1に記載の車載電力分配装置において、
前記第1電力分配装置に接続される負荷は、前記第1の半導体トランジスタと前記第1の電源幹線の間から分岐接続した負荷電源線に接続されて電源供給されることを特徴とする車載電力分配装置。
発明の詳細な説明
【技術分野】
【0001】
本発明は、車両電源システムにおける車載電力分配装置に関する。
続きを表示(約 2,300 文字)
【背景技術】
【0002】
近年、自動車の電動化や自動運転化の進展により、センサやアクチュエータ等の車載機器の搭載数が増大しており、これに伴って、各車載機器への電力供給のためのワイヤーハーネスの削減や、車載パワーネットシステムの高信頼化、低損失化が求められるようになってきた。しかしながら、従来の12V系の車載パワーネットシステムでは、バッテリーの近くにリレーボックスやヒューズボックスを備えて、そこから車両の様々な位置に設置された車載機器に対して電源ケーブルを個々に接続する手法が多く用いられている。このような従来の車載機器への電力供給方法では、電力供給すべき車載機器数の増加や高信頼化のための電源供給経路の冗長化に伴って、膨大な数のワイヤーハーネスが必要になる課題がある。
【0003】
そこで、車両を複数のゾーンに分け、車載機器に電力を分配する電力分配装置を車両の各ゾーンに配置するシステムが提案されている。電力分配装置を各ゾーンに設置すると、各車載機器の近くで電源が分配されるため、個々のワイヤーハーネスの延長距離を短縮できる。また、各ゾーンに設置した電力分配装置を電源幹線により相互に接続し、電源幹線故障時に他の電源幹線を代替経路として電力供給を継続できる。
【0004】
本技術分野の背景技術として以下の先行技術がある。特許文献1では、車載バッテリーの出力をヒューズユニット等の箇所で複数経路の電源ラインに分岐する。ヒューズユニットから分岐した第1電源線は、下流側に設置した前段の電力分配装置を介して車載機器に接続される。ヒューズユニットから分岐した第2電源線は、前段の電力分配装置と後段の電力分配装置を介して車載機器に接続される。前段の電力分配装置は、第1電源線と第2電源線を接続可能とする経路間接続スイッチと、これの開閉を制御する制御部としての中央演算装置を備える。第1電源線又は第2電源線が断線した場合に、経路間スイッチの回路を閉じて複数経路で電力を伝送する。複数経路の同時利用で各電源ラインを細径化しても必要な電力を供給できる。これにより、電源供給経路を構成する配索材の軽量化を可能にすると共に、電源電力の供給源を複数用意することなく断線などに対応可能な冗長経路を確保することができる。
【先行技術文献】
【特許文献】
【0005】
特開2023-019095号公報
【発明の概要】
【発明が解決しようとする課題】
【0006】
前述した特許文献1では、電力経路の接続や遮断のためのスイッチとしてパワーMOSFETを用いている。また、これらのスイッチはCAN(Control Area Network)による通信ネットワークにより制御される。しかしながら、スイッチの開閉指示に通信を用いた場合、電源ラインの故障を検知してからスイッチを切り替えるまでに通信遅延による遅れが生じ、その間、電源供給が遮断してしまう課題が生じる。
【0007】
また、特許文献1では、電源ラインの通電方向を制御するために逆流防止ダイオードを備えている。ダイオードは、順方向電圧による電圧降下が生じるために電源電圧が低下してしまう。特に大電流が流れる電源幹線では、この電圧降下と電流の積による電力損失が増大する。そのため、ダイオードの電力損失による発熱を放熱する必要があり、ヒートシンクなどの放熱部材が大型化する課題が生じる。
【0008】
本発明は、上記課題に鑑みてなされたものであり、電源幹線の故障による経路切替において、電源幹線に繋がる車載機器からの電力需要が生じた場合に即座に電流を供給できるとともに、ダイオードによる電圧降下及び電力損失を低減でき、さらに、大電流が流れる電源幹線のスイッチによる電力損失を低減できて、放熱部材を小型化できる車載電力分配装置を提供することを目的とする。
【課題を解決するための手段】
【0009】
上記課題を解決するために、本発明の一態様における車載電力分配装置は次のように構成される。第1の電源幹線からの電力を負荷に分配する第1電力分配装置と、第2の電源幹線からの電力を負荷に分配する第2電力分配装置と、前記第1電力分配装置と前記第2電力分配装置を接続する接続幹線とを備えた車載電力分配装置において、前記第1電力分配装置に第1の半導体トランジスタと第2の半導体トランジスタを互いに逆向きに直列接続した半導体スイッチを備え、前記半導体スイッチは前記第1の電源幹線と前記接続幹線の間に設けられ、前記第1の半導体トランジスタをON状態、前記第2の半導体トランジスタをOFF状態とし、前記第2の半導体トランジスタのボディダイオードを介して前記接続幹線に電圧を印加した状態で待機し、前記接続幹線の電流上昇に応じて前記第2の半導体トランジスタをONする。
【発明の効果】
【0010】
本発明の一態様によれば、電源幹線の故障による経路切替において、MOSFETなどの半導体トランジスタより構成される半導体スイッチをダイオード状態にして待機させておくことにより、接続幹線に繋がる負荷からの電力需要が生じた場合に即座に電流を供給できる。また、接続幹線に繋がる負荷の電流需要が生じたことを検知して前述したMOSFETなどの半導体トランジスタをONにすることで、半導体トランジスタによる電圧降下及び電力損失を低減できる。さらに、これらの効果により、大電流が流れる電源幹線のスイッチによる電力損失を低減できて、放熱部材を小型化できる。
(【0011】以降は省略されています)
この特許をJ-PlatPat(特許庁公式サイト)で参照する
関連特許
株式会社蜂鳥
増幅器
4日前
エイブリック株式会社
増幅器
1か月前
エイブリック株式会社
増幅器
1か月前
エイブリック株式会社
増幅回路
1か月前
日本電波工業株式会社
水晶振動子
23日前
日本電波工業株式会社
圧電振動片
1か月前
株式会社半導体エネルギー研究所
駆動回路
2か月前
京セラ株式会社
差動信号フィルタデバイス
10日前
京セラ株式会社
差動信号フィルタデバイス
10日前
台灣晶技股ふん有限公司
水晶発振器
1か月前
富士電機株式会社
半導体装置
3日前
TDK株式会社
電子部品
1か月前
台灣晶技股ふん有限公司
水晶発振素子
1か月前
株式会社村田製作所
弾性波装置
3日前
TDK株式会社
電子部品
1か月前
ローム株式会社
自己診断システム
1か月前
三菱電機株式会社
高周波増幅器モジュール
1か月前
住友電気工業株式会社
高周波増幅器
2か月前
国立大学法人東北大学
弾性表面波デバイス
23日前
株式会社村田製作所
弾性波フィルタ
2か月前
株式会社村田製作所
高周波電力増幅器
2日前
株式会社村田製作所
高周波電力増幅器
2日前
日清紡マイクロデバイス株式会社
演算増幅器
2か月前
日本電波工業株式会社
温度センサ内蔵型の水晶振動子
23日前
エイブリック株式会社
電流制限回路及び電流制限装置
1か月前
エイブリック株式会社
出力制御回路及び電圧出力回路
1か月前
台灣晶技股ふん有限公司
発振装置
1か月前
アルプスアルパイン株式会社
センサ装置
1か月前
太陽誘電株式会社
フィルタ及びマルチプレクサ
1か月前
株式会社NTTドコモ
リニアライザ
1か月前
セイコーエプソン株式会社
振動素子
2か月前
三安ジャパンテクノロジー株式会社
弾性波デバイス
23日前
ローム株式会社
発振回路
2か月前
ローム株式会社
発振回路
1か月前
株式会社JVCケンウッド
電源装置および増幅装置
2か月前
ローム株式会社
差動アンプおよび半導体装置
2か月前
続きを見る
他の特許を見る