TOP
|
特許
|
意匠
|
商標
特許ウォッチ
Twitter
他の特許を見る
10個以上の画像は省略されています。
公開番号
2025165629
公報種別
公開特許公報(A)
公開日
2025-11-05
出願番号
2024069804
出願日
2024-04-23
発明の名称
緩衝器
出願人
Astemo株式会社
代理人
弁理士法人志賀国際特許事務所
主分類
F16F
9/348 20060101AFI20251028BHJP(機械要素または単位;機械または装置の効果的機能を生じ維持するための一般的手段)
要約
【課題】ピストン速度が極微低速のときの減衰力不足を改善することが可能となる緩衝器を提供する。
【解決手段】緩衝器1は、シリンダ4内を2室22,23に区画するピストン21と、ピストン21に連結されると共にシリンダ4の外部に延出されるピストンロッド25と、ピストン21の移動により作動流体が流れ出す第1通路102および第2通路172(b)と、第1通路102に設けられ、減衰力を発生する第1減衰力発生機構41と、第1減衰力発生機構41と並列に設けられる第1オリフィス91aと、第2通路172(b)に設けられ、体積室147の体積を変更する体積可変機構186と、体積室147の上流側に設けられる第2オリフィス139aと、を有し、第1オリフィス91aの流路断面積よりも第2オリフィス139aの流路断面積の方が大きい。
【選択図】図2
特許請求の範囲
【請求項1】
作動流体が封入されるシリンダと、
前記シリンダ内に摺動可能に設けられ、該シリンダ内を2室に区画するピストンと、
前記ピストンに連結されると共に前記シリンダの外部に延出されるピストンロッドと、
前記ピストンの移動により作動流体が流れ出す第1通路および第2通路と、
前記第1通路に設けられ、減衰力を発生する第1減衰力発生機構と、
前記第1減衰力発生機構と並列に設けられる第1オリフィスと、
前記第2通路に設けられ、体積室の体積を変更する体積可変機構と、
前記体積室の上流側に設けられる第2オリフィスと、
を有し、
前記第1オリフィスの流路断面積よりも前記第2オリフィスの流路断面積の方が大きい、
緩衝器。
続きを表示(約 160 文字)
【請求項2】
前記体積室と並列に第2減衰力発生機構を設け、
第2減衰力発生機構の開弁圧よりも前記第1減衰力発生機構の開弁圧の方が大きい、
請求項1に記載の緩衝器。
【請求項3】
前記第1減衰力発生機構と直列に第3減衰力発生機構が設けられている、
請求項1に記載の緩衝器。
発明の詳細な説明
【技術分野】
【0001】
本発明は、緩衝器に関する。
続きを表示(約 1,600 文字)
【背景技術】
【0002】
緩衝器には、同一行程で開弁する減衰力発生機構を2つ有するものがある(例えば、特許文献1参照)。
また、緩衝器には、ピストンの軸方向の移動速度であるピストン速度が極微低速で開弁して減衰力を発生させる極微低速バルブと、圧力を貯留可能なアキュムレータとを有するものがある(例えば、特許文献2参照)。
【先行技術文献】
【特許文献】
【0003】
実開平1-149037号公報
特開2022-186977号公報
【発明の概要】
【発明が解決しようとする課題】
【0004】
ところで、緩衝器において、ピストン速度が極微低速のときの減衰力不足を改善することが望まれている。
【0005】
本発明の目的は、ピストン速度が極微低速のときの減衰力不足を改善することが可能となる緩衝器を提供することにある。
【課題を解決するための手段】
【0006】
上記目的を達成するために、本発明に係る一態様は、作動流体が封入されるシリンダと、前記シリンダ内に摺動可能に設けられ、該シリンダ内を2室に区画するピストンと、前記ピストンに連結されると共に前記シリンダの外部に延出されるピストンロッドと、前記ピストンの移動により作動流体が流れ出す第1通路および第2通路と、前記第1通路に設けられ、減衰力を発生する第1減衰力発生機構と、前記第1減衰力発生機構と並列に設けられる第1オリフィスと、前記第2通路に設けられ、体積室の体積を変更する体積可変機構と、前記体積室の上流側に設けられる第2オリフィスと、を有し、前記第1オリフィスの流路断面積よりも前記第2オリフィスの流路断面積の方が大きい、構成とした。
【発明の効果】
【0007】
本発明によれば、ピストン速度が極微低速のときの減衰力不足を改善することが可能となる。
【図面の簡単な説明】
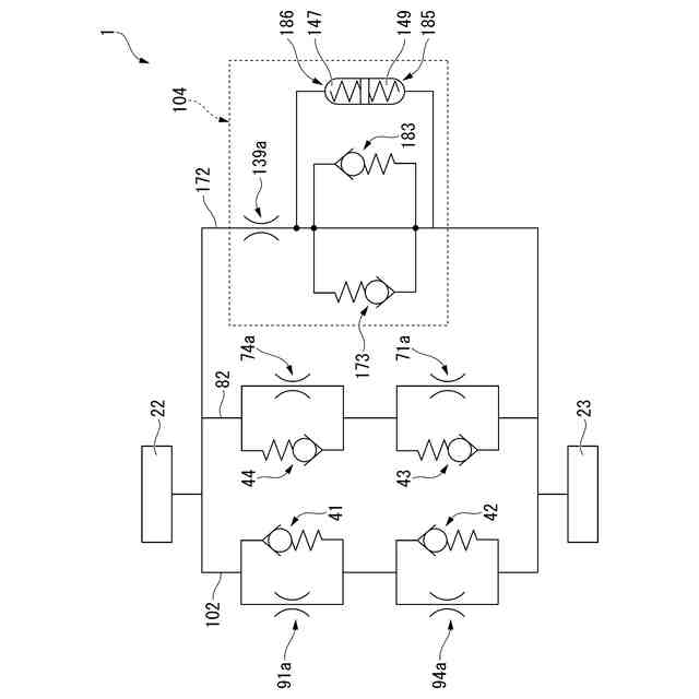
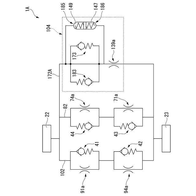
【0008】
本発明に係る第1実施形態の緩衝器を示す断面図である。
本発明に係る第1実施形態の緩衝器の要部を示す部分断面図である。
本発明に係る第1実施形態の緩衝器の要部を示す油圧回路図である。
本発明に係る第1実施形態の緩衝器の伸び行程のピストン速度に対する減衰力の特性線図である。
本発明に係る第2実施形態の緩衝器の要部を示す部分断面図である。
本発明に係る第2実施形態の緩衝器の要部を示す油圧回路図である。
本発明に係る第3実施形態の緩衝器の要部を示す部分断面図である。
本発明に係る第3実施形態の緩衝器の要部を示す油圧回路図である。
本発明に係る第3実施形態の緩衝器の伸び行程のピストン速度に対する減衰力の特性線図である。
本発明に係る第4実施形態の緩衝器の要部を示す部分断面図である。
【発明を実施するための形態】
【0009】
実施形態を図面に基づいて説明する。なお、以下においては、説明の便宜上、図1,図2,図5,図7,図10における上側を「上」とし、図面における下側を「下」として説明する。
【0010】
[第1実施形態]
<構成>
第1実施形態の緩衝器1は、鉄道車両や二輪、四輪等の自動車のサスペンション装置に用いられる緩衝器であり、具体的には四輪自動車のサスペンション装置に用いられる緩衝器である。図1に示すように、緩衝器1は、円筒状の内筒2と、内筒2よりも大径で内筒2の径方向外側に設けられる有底筒状の外筒3とを有するシリンダ4を備えた複筒式の緩衝器である。外筒3と内筒2との間は、リザーバ室5となっている。
(【0011】以降は省略されています)
この特許をJ-PlatPat(特許庁公式サイト)で参照する
関連特許
Astemo株式会社
緩衝器
17日前
Astemo株式会社
緩衝器
2日前
Astemo株式会社
電子装置
11日前
Astemo株式会社
車両制御装置
2日前
Astemo株式会社
管制システム
2日前
Astemo株式会社
電子制御装置
2日前
Astemo株式会社
充電制御装置
9日前
Astemo株式会社
接合方法、構造物
17日前
Astemo株式会社
車載電力分配装置
9日前
Astemo株式会社
ノイズフィルタ装置
2日前
Astemo株式会社
減衰力調整式緩衝器
2日前
Astemo株式会社
内燃機関の制御装置
17日前
Astemo株式会社
電力変換装置の制御装置
17日前
Astemo株式会社
半導体装置及び電力変換装置
17日前
株式会社日立製作所
冷却構造
3日前
Astemo株式会社
電子制御装置及び環境認識方法
2日前
株式会社日立製作所
電力変換装置
4日前
株式会社日立製作所
電力変換装置
3日前
Astemo株式会社
モータ制御装置およびモータ制御方法
2日前
Astemo株式会社
電動ブレーキ及び電動ブレーキの組立方法
9日前
Astemo株式会社
電池管理システム、および、電池管理方法
17日前
Astemo株式会社
バルブ装置
17日前
株式会社日立製作所
電力変換装置、電力変換装置の製造方法
4日前
Astemo株式会社
車載情報処理装置、自動運転システムおよび車載システム
19日前
Astemo株式会社
燃料インジェクタの制御方法および制御ユニット、コンピュータプログラム製品、ならびに燃料インジェクタの制御装置
6日前
個人
留め具
1か月前
個人
鍋虫ねじ
3か月前
個人
紛体用仕切弁
3か月前
個人
回転伝達機構
4か月前
個人
ホース保持具
7か月前
個人
差動歯車用歯形
5か月前
個人
給排気装置
2か月前
個人
ジョイント
2か月前
株式会社不二工機
電磁弁
5か月前
株式会社不二工機
電磁弁
6か月前
個人
地震の揺れ回避装置
4か月前
続きを見る
他の特許を見る