TOP
|
特許
|
意匠
|
商標
特許ウォッチ
Twitter
他の特許を見る
公開番号
2025163317
公報種別
公開特許公報(A)
公開日
2025-10-29
出願番号
2022146650
出願日
2022-09-15
発明の名称
操舵装置
出願人
Astemo株式会社
代理人
個人
,
個人
,
個人
主分類
B62D
5/18 20060101AFI20251022BHJP(鉄道以外の路面車両)
要約
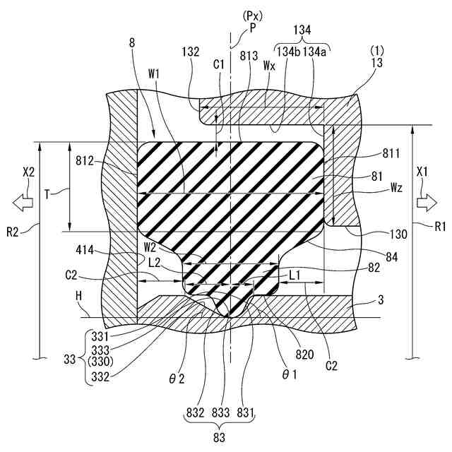
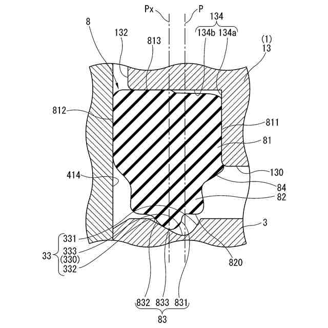
【課題】緩衝部材の安定した緩衝特性を確保することができる操舵装置を提供する。
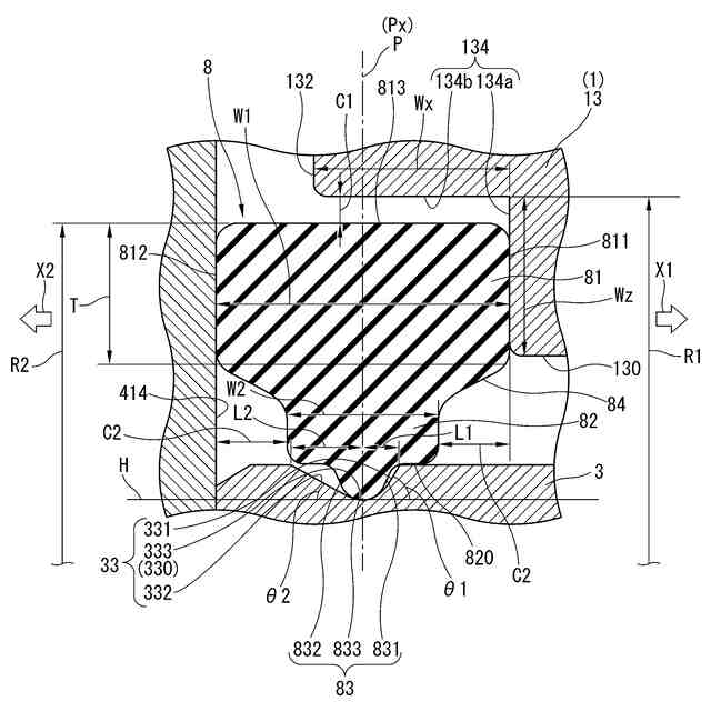
【解決手段】本発明に係る操舵装置は、凹部33が、ラックバー3の軸方向において非対称となる第1傾斜面831と第2傾斜面832を有し、第2傾斜面832が、第1傾斜面831よりも緩い傾斜となっている。このため、ラックバー3のストロークエンドにおいて緩衝部材8がボールジョイント40とハウジング1(ラックバー収容部13)との間に挟み込まれる際に、緩衝部材8を第2傾斜面832側に導くことが可能となる。これにより、前記ラックバー3のストロークエンドにおいて、緩衝部材8の軸方向の圧縮変形に伴って径方向に膨出変形した厚肉部81の一部がハウジング1のラックバー挿通孔130とラックバー3との間に挟み込まれることによる緩衝特性の変化を抑制することが可能となり、緩衝部材8の安定的な緩衝特性を確保することができる。
【選択図】図5
特許請求の範囲
【請求項1】
車幅方向に延びる筒状に形成されたハウジングと、
前記ハウジングの内部に前記車幅方向に移動可能に収容され、前記車幅方向の両端部に設けられた規制部が前記ハウジングに当接することによって移動が規制されるラック軸と、
前記ラック軸と噛み合うピニオン軸と、
駆動源が発生した駆動力を前記ラック軸に伝達する伝達機構と、
前記ラック軸の軸方向端部において前記ラック軸の周方向に連続する環状に設けられ、前記ラック軸の径方向内側へ窪む凹部と、
前記凹部に取り付けられ、前記ラック軸のストロークエンドにおいて前記規制部と前記ハウジングとの間に挟み込まれる緩衝部材と、
を備え、
前記凹部は、前記ラック軸の軸方向断面において、最も窪む底部を境に両側が非対称となる第1傾斜面及び第2傾斜面を有していて、
前記底部よりも前記規制部の反対側に位置する前記第2傾斜面は、前記底部よりも前記規制部側に位置する前記第1傾斜面よりも傾斜角が小さい、
ことを特徴とする操舵装置。
続きを表示(約 1,300 文字)
【請求項2】
請求項1に記載の操舵装置であって、
前記緩衝部材は、前記凹部と対向する内周側に、前記凹部に係合可能な環状の凸部を有し、前記凸部が前記凹部に係合することによって前記ラック軸に取り付けられた、
ことを特徴とする操舵装置。
【請求項3】
請求項1に記載の操舵装置であって、
前記緩衝部材は、前記凹部と対向する内周側に、前記凹部に係合可能な複数の凸部を有し、当該複数の凸部が前記凹部に係合することによって前記ラック軸に取り付けられた、
ことを特徴とする操舵装置。
【請求項4】
請求項2又は3に記載の操舵装置であって、
前記緩衝部材は、前記ラック軸の径方向において、前記凸部が設けられる内周側の幅が外周側の幅よりも小さい、
ことを特徴とする操舵装置。
【請求項5】
請求項4に記載の操舵装置であって、
前記緩衝部材は、前記凸部が形成される内周側に平坦部を有し、
前記平坦部は、前記凸部よりも外周側に設けられている、
ことを特徴とする操舵装置。
【請求項6】
請求項1に記載の操舵装置であって、
前記ハウジングは、前記ラック軸の軸方向の端部に、前記ラック軸のラック歯を避けるラック逃げ部を有する、
ことを特徴とする操舵装置。
【請求項7】
請求項6に記載の操舵装置であって、
前記ハウジングは、前記ラック軸の径方向における前記ラック逃げ部の反対側に、前記ラック軸を支持するためのラックリテーナを収容するリテーナ収容部を有する、
ことを特徴とする操舵装置。
【請求項8】
請求項1に記載の操舵装置であって、
前記緩衝部材は、前記ラック軸のストロークエンドにおいて前記規制部と前記ハウジングとの間に挟み込まれた際、外周面が前記ハウジングに当接する、
ことを特徴とする操舵装置。
【請求項9】
車幅方向に延びる筒状に形成されたハウジングと、
前記ハウジングの内部に前記車幅方向に移動可能に収容され、前記車幅方向の両端部に設けられた規制部が前記ハウジングに当接することによって移動が規制されるラック軸と、
前記ラック軸と噛み合うピニオン軸と、
駆動源が発生した駆動力を前記ラック軸に伝達する伝達機構と、
前記ラック軸の軸方向端部において前記ラック軸の周方向に複数並列に設けられ、前記ラック軸の径方向内側へ窪む凹部と、
前記凹部に係合する凸部を介して前記ラック軸の外周に取り付けられ、前記ラック軸のストロークエンドにおいて前記規制部と前記ハウジングとの間に挟み込まれる緩衝部材と、
を備え、
前記複数の凹部のうち一部の凹部は、前記ラック軸の軸方向断面において、最も窪む底部を境に両側が非対称となる第1傾斜面及び第2傾斜面を有していて、
前記底部よりも前記規制部の反対側に位置する前記第2傾斜面は、前記底部よりも前記規制部側に位置する前記第1傾斜面よりも傾斜角が小さい、
ことを特徴とする操舵装置。
発明の詳細な説明
【技術分野】
【0001】
本発明は、操舵装置に関する。
続きを表示(約 1,100 文字)
【背景技術】
【0002】
従来の操舵装置としては、例えば以下の特許文献に記載されたものが知られている。
【0003】
すなわち、この特許文献に係る操舵装置は、ラックバーの軸方向端部の外周側に、ゴム製の緩衝部材が取り付けられている。この緩衝部材は、ラックバーの軸方向端部に接続されるボールジョイントとハウジング(ラックハウジング)との間に挟まれて圧縮変形することにより、ハウジング(ラックハウジング)とボールジョイントとの衝突を緩衝する。
【先行技術文献】
【特許文献】
【0004】
特開2008-049798号公報
【発明の概要】
【発明が解決しようとする課題】
【0005】
しかしながら、前記従来の操舵装置では、緩衝部材が、ボールジョイントとハウジング(ラックハウジング)との間に挟まれる際に、ハウジングとラックバーとの間に挟み込まれてしまうおそれがある。これにより、緩衝部材の安定した緩衝特性の確保が困難となる点で、改善の余地が残されていた。
【0006】
本発明は、かかる技術的課題に鑑みて案出されたものであって、緩衝部材の安定した緩衝特性を確保することができる操舵装置を提供するものである。
【課題を解決するための手段】
【0007】
本発明は、その一態様として、ラック軸に緩衝部材を取り付けるための凹部が、ラック軸の軸方向において非対称となる第1傾斜面と第2傾斜面を有していて、前記第1傾斜面が、前記第2傾斜面よりも緩い傾斜となっている。
【発明の効果】
【0008】
本発明によれば、緩衝部材の安定した緩衝特性を確保することができる。
【図面の簡単な説明】
【0009】
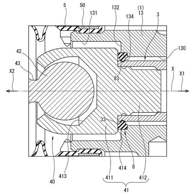
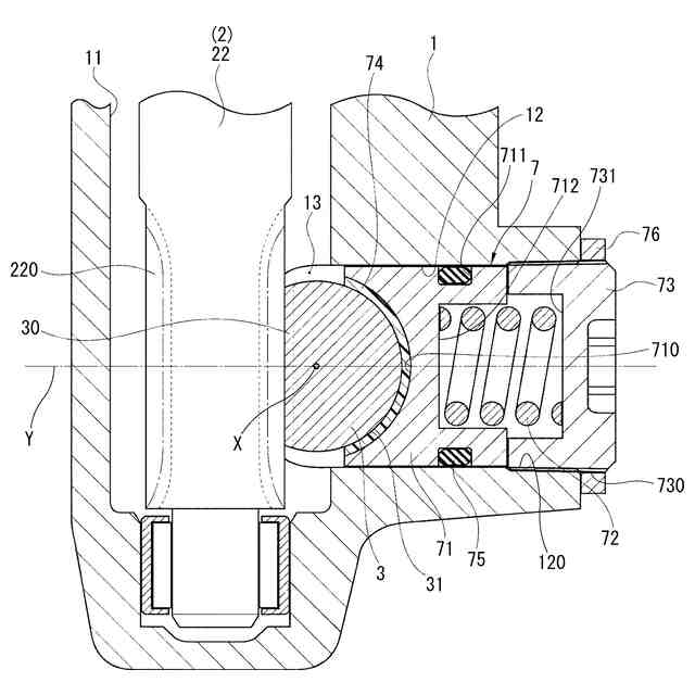
本発明に係る操舵装置の概略図である。
図1のA-A線断面図である。
図1のB-B線断面図である。
図1に示すラックバーの軸方向端部近傍の拡大図である。
図3の要部拡大図であって、緩衝部材の変形前の状態を表した図である。
図3の要部拡大図であって、ロックエンド状態における緩衝部材の変形後の状態を表した図である。
【発明を実施するための形態】
【0010】
以下、本発明に係る操舵装置の実施形態を図面に基づいて詳述する。なお、下記の実施形態では、この操舵装置を、従来と同様、自動車の操舵装置に適用したものを示している。
(【0011】以降は省略されています)
この特許をJ-PlatPat(特許庁公式サイト)で参照する
関連特許
個人
カート
5か月前
個人
走行装置
5か月前
個人
三輪バイク
1か月前
個人
台車
17日前
個人
乗り物
7か月前
個人
電動走行車両
5か月前
個人
閂式ハンドル錠
5か月前
個人
電動モビリティ
9か月前
個人
駐輪設備
3か月前
個人
自転車用歩数計
1か月前
個人
発音装置
9か月前
個人
ボギー・フレーム
3か月前
個人
“zen-go.”
4か月前
個人
ルーフ付きトライク
4か月前
個人
三輪電動車両
1か月前
個人
ルーフ付きトライク
3か月前
個人
自由方向乗車自転車
9か月前
個人
車の室内高温防止屋根
1か月前
個人
パワーアシスト自転車
3か月前
井関農機株式会社
作業車両
1か月前
個人
キャンピングトライク
10か月前
個人
ステアリングの操向部材
10か月前
個人
電動式ルーフ付きトライク
9日前
個人
電動式ルーフ付きトライク
9日前
個人
フロントフットブレーキ。
5か月前
個人
電動式ルーフ付きトライク
9日前
井関農機株式会社
収穫作業車両
3日前
株式会社豊田自動織機
産業車両
6か月前
個人
乗用自動車のディフューザー
2か月前
豊田鉄工株式会社
小型車両
5か月前
個人
ホイールハブ駆動構造
6か月前
学校法人千葉工業大学
車両
11か月前
学校法人千葉工業大学
車両
11か月前
学校法人千葉工業大学
車両
11か月前
ヤマハ発動機株式会社
自転車
5か月前
船井電機株式会社
車両
3か月前
続きを見る
他の特許を見る