TOP
|
特許
|
意匠
|
商標
特許ウォッチ
Twitter
他の特許を見る
公開番号
2025171419
公報種別
公開特許公報(A)
公開日
2025-11-20
出願番号
2024076755
出願日
2024-05-09
発明の名称
半導体装置及び電力変換装置
出願人
Astemo株式会社
代理人
弁理士法人志賀国際特許事務所
主分類
H02M
7/48 20070101AFI20251113BHJP(電力の発電,変換,配電)
要約
【課題】半導体素子で形成するインバータ回路の効率低下を抑制しつつ、半導体素子に印加されるサージ電圧を抑制可能とする。
【解決手段】絶縁基板30と、絶縁基板30の一方側の面に形成される正極側導体層31及び負極側導体層32と、正極側導体層31に実装される第1半導体素子40と、第1半導体素子40の電流出力用表面電極40bと負極側導体層32とを接続する第1リボン42と、第1半導体素子40を制御する制御信号が入力される制御用端子3a7と、第1半導体素子40の制御用表面電極40aと接続されると共に、制御信号が入力される正極側制御信号配線23と、第1半導体素子40の出力電圧が印加される補助端子3a8と、補助端子3a8と負極側導体層32とを接続する正極側補助信号配線25とを備える。
【選択図】図5
特許請求の範囲
【請求項1】
絶縁基板と、
前記絶縁基板の一方側の面に形成される第1導体層及び第2導体層と、
前記第1導体層に実装される半導体素子と、
前記半導体素子の電流出力用表面電極と前記第2導体層とを接続する主電流配線部材と、
前記半導体素子を制御する制御信号が入力される制御用端子と、
前記半導体素子の制御用表面電極と接続されると共に、前記制御信号が入力される制御信号配線と、
前記半導体素子の出力電圧が印加される補助端子と、
前記補助端子と前記第2導体層とを接続する補助信号配線と
を備えることを特徴とする半導体装置。
続きを表示(約 410 文字)
【請求項2】
前記主電流配線部材は、リボンまたはワイヤであることを特徴とする請求項1記載の半導体装置。
【請求項3】
前記第1導体層に複数の前記半導体素子が実装され、
前記主電流配線部材が前記半導体素子ごとに設けられ、
前記制御信号配線が前記半導体素子ごとに設けられ、
前記補助信号配線が前記第1導体層に設けられた複数の前記半導体素子に対して1つのみ設けられている
ことを特徴とする請求項1記載の半導体装置。
【請求項4】
前記補助信号配線は、2つの前記主電流配線部材の間の位置にて前記第2導体層に接続されていることを特徴とする請求項3記載の半導体装置。
【請求項5】
半導体素子によって形成される電力変換回路を有する電力変換装置であって、
前記半導体素子を有する請求項1に記載の半導体装置を備えることを特徴とする電力変換装置。
発明の詳細な説明
【技術分野】
【0001】
本発明は、半導体装置及び電力変換装置に関するものである。
続きを表示(約 1,800 文字)
【背景技術】
【0002】
例えば、特許文献1には、半導体素子を備える半導体モジュールが開示されている。特許文献1に開示された半導体モジュールは、半導体素子の上面電極に接続される配線と、この配線に接続される端子とを備えている。
【先行技術文献】
【特許文献】
【0003】
特開2023-81134号公報
【発明の概要】
【発明が解決しようとする課題】
【0004】
ところで、特許文献1の半導体モジュールのような半導体装置は、車両等においてバッテリとモータとの間にて電力変換を行う電力変換装置に用いられる。このような電力変換装置にて、半導体素子は、直流電力を交流電力に変換したり、交流電力を直流電力に変換したりするインバータ回路を形成する。このようなインバータ回路では、流れる電流が大きくなると、半導体素子に印加されるサージ電圧が高くなる場合がある。例えば、ゲートドライブ基板に実装されているゲート抵抗の抵抗値を高くすることで、サージ電圧を抑制することができるが、このような場合には流れる電流が小さい場合においても半導体素子での損失が大きくなり、インバータ回路の効率が低下してしまう。
【0005】
本発明は、上述する問題点に鑑みてなされたもので、半導体素子で形成するインバータ回路の効率低下を抑制しつつ、半導体素子に印加されるサージ電圧を抑制可能とすることを目的とする。
【課題を解決するための手段】
【0006】
本発明は、上記課題を解決するための手段として、以下の構成を採用する。
【0007】
本発明の第1の態様は、半導体装置であって、絶縁基板と、上記絶縁基板の一方側の面に形成される第1導体層及び第2導体層と、上記第1導体層に実装される半導体素子と、上記半導体素子の電流出力用表面電極と上記第2導体層とを接続する主電流配線部材と、上記半導体素子を制御する制御信号が入力される制御用端子と、上記半導体素子の制御用表面電極と接続されると共に、上記制御信号が入力される制御信号配線と、上記半導体素子の出力電圧が印加される補助端子と、上記補助端子と上記第2導体層とを接続する補助信号配線とを備えるという構成を採用する。
【0008】
本発明の第2の態様は、半導体素子によって形成される電力変換回路を有する電力変換装置であって、上記半導体素子を有する上記第1の態様の半導体装置を備えるという構成を採用する。
【発明の効果】
【0009】
本発明によれば、補助信号配線が主電流配線部材及び第2導体層を介して、半導体素子の電流出力表面電極に電気的に接続されている。主電流配線部材は、半導体素子と第2導体層とを接続する配線であり、大電流が流れるほど電圧降下が大きくなる。このため、本発明によれば、大電流時において制御信号配線から制御用表面電極に印加される実効電圧が低下し、半導体素子のスイッチング速度を遅くすることができ、これによって半導体素子に印加されるサージ電圧を抑制できる。一方で、半導体素子に流れる電流が小さい場合には、主電流配線部材における電圧降下が少なく、半導体素子のスイッチング速度が遅くならず、これによってインバータ回路の効率が低下することを抑制できる。したがって、本発明によれば、半導体素子で形成するインバータ回路の効率低下を抑制しつつ、半導体素子に印加されるサージ電圧を抑制することが可能となる。
【図面の簡単な説明】
【0010】
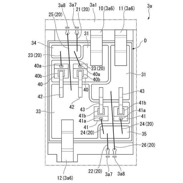
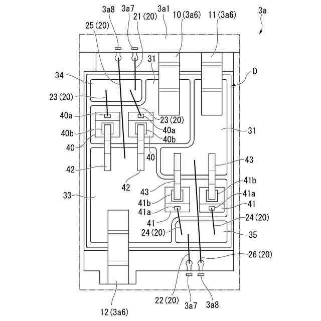
本発明の一実施形態における電力変換装置の概略構成を模式的に示す分解斜視図である。
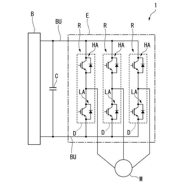
本発明の一実施形態における電力変換装置の電気的な概略構成を示す回路図である。
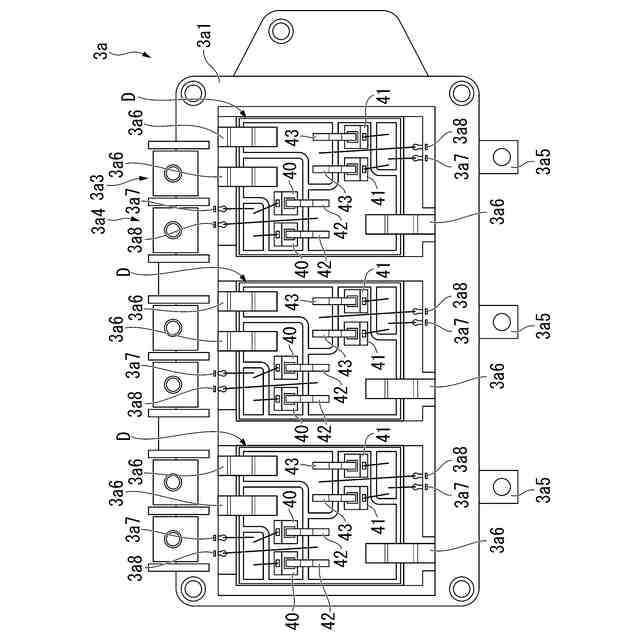
本発明の一実施形態における電力変換装置が備えるパワーモジュールの模式的な分解斜視図である。
本発明の一実施形態における電力変換装置が備えるパワーモジュールの模式的な平面図である。
本発明の一実施形態における電力変換装置が備える1つのパワーデバイスを含むパワーモジュールの模式的な拡大図である。
本発明の一実施形態における電力変換装置が備えるパワーデバイスの概略的な回路図である。
【発明を実施するための形態】
(【0011】以降は省略されています)
この特許をJ-PlatPat(特許庁公式サイト)で参照する
関連特許
Astemo株式会社
緩衝器
3日前
Astemo株式会社
バルブ装置
3日前
個人
高圧電気機器の開閉器
4日前
個人
電気を重力で発電装置
17日前
キヤノン電子株式会社
モータ
24日前
キヤノン電子株式会社
モータ
16日前
日星電気株式会社
ケーブル組立体
1か月前
コーセル株式会社
電源装置
25日前
トヨタ自動車株式会社
モータ
16日前
株式会社アイドゥス企画
減反モータ
4日前
株式会社デンソー
回転機
1か月前
個人
二次電池繰返パルス放電器用印刷基板
1か月前
株式会社デンソー
電力変換装置
1か月前
株式会社ミツバ
回転電機
1か月前
株式会社デンソー
電力変換装置
1か月前
トヨタ自動車株式会社
固定子の加熱装置
27日前
矢崎総業株式会社
電源回路
3日前
株式会社デンソー
非接触受電装置
1か月前
株式会社ダイヘン
インバータ装置
1か月前
日産自動車株式会社
ロータシャフト
11日前
トヨタ自動車株式会社
ステータの製造装置
17日前
ローム株式会社
モータドライバ回路
11日前
個人
非対称鏡像力を有する4層PWB電荷搬送体
11日前
山洋電気株式会社
モータ
1か月前
日産自動車株式会社
ロータシャフト
11日前
株式会社アイシン
電力変換装置
16日前
個人
電線盗難防止方法及び電線盗難防止装置
24日前
トヨタ自動車株式会社
可変界磁ロータ
19日前
株式会社TMEIC
電力変換装置
1か月前
株式会社明治ゴム化成
ワイヤレス給電用部品
26日前
トヨタ紡織株式会社
ロータの製造装置
25日前
株式会社マキタ
電動作業機
24日前
京商株式会社
模型用非接触電力供給システム
4日前
株式会社ダイフク
非接触給電設備
1か月前
大阪瓦斯株式会社
充放電中継装置
17日前
大阪瓦斯株式会社
充放電中継装置
17日前
続きを見る
他の特許を見る