TOP
|
特許
|
意匠
|
商標
特許ウォッチ
Twitter
他の特許を見る
公開番号
2025177030
公報種別
公開特許公報(A)
公開日
2025-12-05
出願番号
2024083516
出願日
2024-05-22
発明の名称
減衰力調整式緩衝器
出願人
Astemo株式会社
代理人
弁理士法人志賀国際特許事務所
主分類
F16F
9/34 20060101AFI20251128BHJP(機械要素または単位;機械または装置の効果的機能を生じ維持するための一般的手段)
要約
【課題】ピストン速度が微低速のときの減衰力不足を改善することが可能となる減衰力調整式緩衝器を提供する。
【解決手段】減衰力調整式緩衝器1は、流路95内の作動液Lの流れを調整する第1バルブ18と、第1バルブ18の動作を調整するソレノイド21と、第1バルブ18の上流側と下流側とを常時連通する第1オリフィス18Dと、を有する第1減衰力バルブ機構15と、流路95内に第1減衰力バルブ機構15と直列に配置され、流路95内を移動する作動液Lの流れを調整する第2バルブ50と、第2バルブ50の上流側と下流側とを常時連通する第2オリフィス50Aと、を有する第2減衰力バルブ機構51とを備え、第1オリフィス18Dは流路断面積が第2オリフィス50Aよりも大きく形成され、第2バルブ50はピストン5の移動速度が第1バルブ18が動作するより遅い速度で動作する。
【選択図】図2
特許請求の範囲
【請求項1】
作動流体が封入されたシリンダと、
前記シリンダ内に摺動可能に挿入され、前記シリンダ内を2室に画成するピストンと、
第1端部が前記ピストンに連結され、第2端部が前記シリンダの端部から外部へ延出するピストンロッドと、
前記ピストンロッドの移動によって前記作動流体が前記2室間を移動する流路と、
前記流路に設けられ、前記流路内を移動する前記作動流体の流れを調整する第1バルブと、前記第1バルブの動作を調整するソレノイドと、前記第1バルブの上流側と下流側とを常時連通する第1オリフィスと、を有する第1減衰力バルブ機構と、
前記流路に設けられ、前記第1減衰力バルブ機構と直列に配置され、前記流路内を移動する前記作動流体の流れを調整する第2バルブと、前記第2バルブの上流側と下流側とを常時連通する第2オリフィスと、を有する第2減衰力バルブ機構と、
を備え、
前記第1オリフィスは、流路断面積が、前記第2オリフィスの流路断面積よりも大きく形成され、
前記第2バルブは、前記ピストンの移動速度が、前記第1バルブが動作するより遅い速度で動作し、
前記第2減衰力バルブ機構は、前記第2バルブの径方向外側を覆う筒部と前記第2バルブの径方向内側を支持する底部とを有するケース部材と、前記第2バルブと前記ケース部材の前記底部に形成された孔とを挿通すると共に加締めによって締結するピン部材と、を有する減衰力調整式緩衝器。
続きを表示(約 350 文字)
【請求項2】
請求項1に記載の減衰力調整式緩衝器であって、
前記第2バルブの内径は、前記底部の前記孔の径よりも大径に形成されている減衰力調整式緩衝器。
【請求項3】
請求項1に記載の減衰力調整式緩衝器であって、
前記第2オリフィスは、前記第2バルブの外径部と前記筒部の内径部との隙間によって形成されており、
前記ピン部材の外径と前記第2バルブの内径との差は、前記ピン部材を加締める前の状態において、前記隙間の径方向の長さよりも大きく形成されている減衰力調整式緩衝器。
【請求項4】
請求項1~3のいずれか一項に記載の減衰力調整式緩衝器であって、
前記第2減衰力バルブ機構は、前記ピストンと溶接によって固定されている減衰力調整式緩衝器。
発明の詳細な説明
【技術分野】
【0001】
本発明は、減衰力調整式緩衝器に関する。
続きを表示(約 1,600 文字)
【背景技術】
【0002】
同一行程で開弁する減衰力バルブ機構を2つ有する緩衝器があり、その中には、一方の減衰力バルブ機構のバルブの開閉動作がソレノイドによって調整可能な減衰力調整式緩衝器がある(例えば、特許文献1参照)。
【先行技術文献】
【特許文献】
【0003】
国際公開第2020/195264号
【発明の概要】
【発明が解決しようとする課題】
【0004】
ところで、減衰力調整式緩衝器において、ピストン速度が微低速のときの減衰力不足を改善することが望まれている。
【0005】
本発明の目的は、ピストン速度が微低速のときの減衰力不足を改善することが可能となる減衰力調整式緩衝器を提供することにある。
【課題を解決するための手段】
【0006】
上記目的を達成するために、本発明に係る一態様は、作動流体が封入されたシリンダと、前記シリンダ内に摺動可能に挿入され、前記シリンダ内を2室に画成するピストンと、第1端部が前記ピストンに連結され、第2端部が前記シリンダの端部から外部へ延出するピストンロッドと、前記ピストンロッドの移動によって前記作動流体が前記2室間を移動する流路と、前記流路に設けられ、前記流路内を移動する前記作動流体の流れを調整する第1バルブと、前記第1バルブの動作を調整するソレノイドと、前記第1バルブの上流側と下流側とを常時連通する第1オリフィスと、を有する第1減衰力バルブ機構と、前記流路に設けられ、前記第1減衰力バルブ機構と直列に配置され、前記流路内を移動する前記作動流体の流れを調整する第2バルブと、前記第2バルブの上流側と下流側とを常時連通する第2オリフィスと、を有する第2減衰力バルブ機構と、を備え、前記第1オリフィスは、流路断面積が、前記第2オリフィスの流路断面積よりも大きく形成され、前記第2バルブは、前記ピストンの移動速度が、前記第1バルブが動作するより遅い速度で動作し、前記第2減衰力バルブ機構は、前記第2バルブの径方向外側を覆う筒部と前記第2バルブの径方向内側を支持する底部とを有するケース部材と、前記第2バルブと前記ケース部材の前記底部に形成された孔とを挿通すると共に加締めによって締結するピン部材と、を有する、構成とした。
【発明の効果】
【0007】
本発明によれば、ピストン速度が微低速のときの減衰力不足を改善することが可能となる。
【図面の簡単な説明】
【0008】
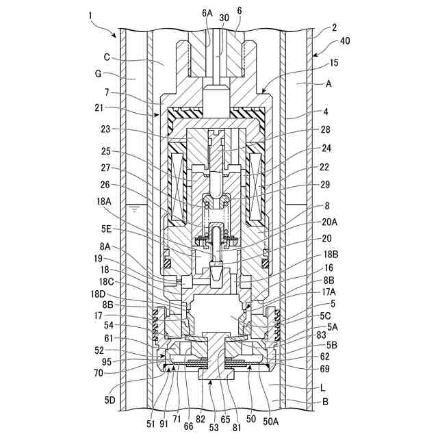
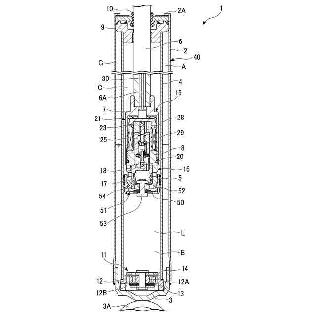
本発明に係る実施形態の減衰力調整式緩衝器を示す断面図である。
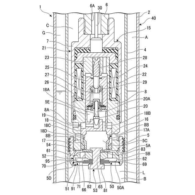
本発明に係る実施形態の減衰力調整式緩衝器の要部を示す断面図である。
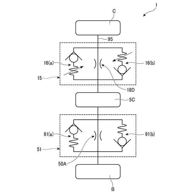
本発明に係る実施形態の減衰力調整式緩衝器の要部を示す油圧回路図である。
本発明に係る実施形態の減衰力調整式緩衝器の伸び行程でのピストン速度に対する減衰力の特性線図である。
【発明を実施するための形態】
【0009】
実施形態を図面に基づいて説明する。なお、以下においては、説明の便宜上、図1および図2における上側を「上」とし、図面における下側を「下」として説明する。
【0010】
<構成>
図1に示す実施形態の減衰力調整式緩衝器1は、鉄道車両や二輪、四輪等の自動車のサスペンション装置に用いられる減衰力調整式緩衝器であり、具体的には四輪自動車のサスペンション装置に用いられる減衰力調整式緩衝器である。減衰力調整式緩衝器1は、外筒2、内筒4、ピストン5、ピストンロッド6、ロッドガイド9、ボトムバルブ11、第1バルブ18を含む第1減衰力バルブ機構15、第2バルブ50を含む第2減衰力バルブ機構51等を含んで構成されている。減衰力調整式緩衝器1の発生減衰力は、外部からの制御指令に応じて第1バルブ18を含む第1減衰力バルブ機構15により可変に調整される。
(【0011】以降は省略されています)
この特許をJ-PlatPat(特許庁公式サイト)で参照する
関連特許
Astemo株式会社
緩衝器
1か月前
Astemo株式会社
緩衝器
1か月前
Astemo株式会社
緩衝器
2日前
Astemo株式会社
緩衝器
25日前
Astemo株式会社
緩衝器
17日前
Astemo株式会社
電子装置
11日前
Astemo株式会社
車両制御装置
2日前
Astemo株式会社
管制システム
2日前
Astemo株式会社
電子制御装置
2日前
Astemo株式会社
充電制御装置
9日前
Astemo株式会社
ゲート駆動回路
25日前
Astemo株式会社
車載電力分配装置
9日前
Astemo株式会社
接合方法、構造物
17日前
Astemo株式会社
内燃機関の制御装置
17日前
Astemo株式会社
減衰力調整式緩衝器
2日前
Astemo株式会社
ノイズフィルタ装置
2日前
Astemo株式会社
電力変換装置の制御装置
17日前
Astemo株式会社
半導体装置及び電力変換装置
17日前
Astemo株式会社
電子制御装置及び環境認識方法
2日前
株式会社日立製作所
冷却構造
3日前
株式会社日立製作所
電力変換装置
4日前
株式会社日立製作所
電力変換装置
3日前
Astemo株式会社
モータ制御装置およびモータ制御方法
2日前
Astemo株式会社
電動ブレーキ及び電動ブレーキの組立方法
9日前
Astemo株式会社
電池管理システム、および、電池管理方法
17日前
Astemo株式会社
半導体装置、電力変換装置、半導体装置の製造方法
25日前
日産自動車株式会社
車両制御方法および車両制御装置
1か月前
日産自動車株式会社
車両制御方法および車両制御装置
1か月前
Astemo株式会社
データ収集装置、車両制御装置及びデータ収集システム
1か月前
日産自動車株式会社
車両制御方法および車両制御装置
1か月前
Astemo株式会社
バルブ装置
17日前
株式会社日立製作所
電力変換装置、電力変換装置の製造方法
4日前
Astemo株式会社
更新管理システム
1か月前
Astemo株式会社
制御装置及び制御システム
1か月前
Astemo株式会社
車両制御装置、車両制御方法および車両制御システム
23日前
Astemo株式会社
車載情報処理装置、自動運転システムおよび車載システム
19日前
続きを見る
他の特許を見る