TOP
|
特許
|
意匠
|
商標
特許ウォッチ
Twitter
他の特許を見る
公開番号
2025168511
公報種別
公開特許公報(A)
公開日
2025-11-07
出願番号
2025146606,2024504349
出願日
2025-09-04,2022-08-24
発明の名称
更新管理システム
出願人
Astemo株式会社
代理人
弁理士法人平木国際特許事務所
主分類
G06F
8/656 20180101AFI20251030BHJP(計算;計数)
要約
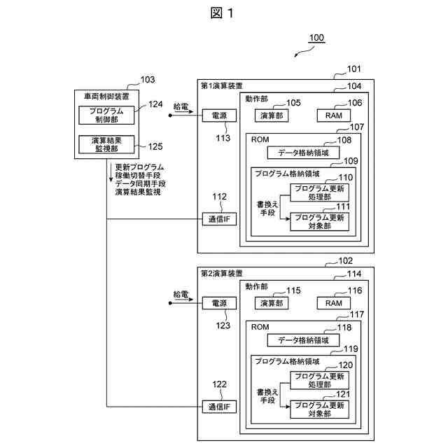
【課題】冗長性を持ったECUの構成において、2面メモリ構造を持たずに車両走行中のプログラム書込みおよび切替えを可能にする。
【解決手段】更新管理システムは、車両に搭載されているとともに、複数の演算装置と、複数の演算装置を制御する更新管理装置と、を有し、複数の演算装置は、少なくとも第1の演算装置と第2の演算装置とを有し、更新管理装置は、車両の走行中に、第2の演算装置が冗長処理を実行しているか否かを判断し、該冗長処理を実行していないと判断した場合に、第1の演算装置による冗長処理の実行を制限するとともに、第2の演算装置に格納されたプログラムを更新する。
【選択図】図1
特許請求の範囲
【請求項1】
車両に搭載された更新管理システムであって、複数の演算装置と、前記複数の演算装置を制御する更新管理装置と、を有し、
前記複数の演算装置は、少なくとも第1の演算装置と第2の演算装置とを有し、
前記更新管理装置は、前記車両の走行中に、前記第2の演算装置が冗長処理を実行しているか否かを判断し、該冗長処理を実行していないと判断した場合に、前記第1の演算装置による冗長処理の実行を制限するとともに、前記第2の演算装置に格納されたプログラムを更新する、
ことを特徴とする更新管理システム。
続きを表示(約 1,100 文字)
【請求項2】
請求項1に記載の更新管理システムであって、
前記更新管理装置は、前記第2の演算装置に格納されたプログラムを更新した後、前記車両が停止したと判断した際に、該第2の演算装置に、前記更新されたプログラムの実行を命令するとともに、前記第1の演算装置に格納されたプログラムを更新する、
ことを特徴とする更新管理システム。
【請求項3】
請求項2に記載の更新管理システムであって、
前記更新管理装置は、前記第1の演算装置に格納されたプログラムを更新した後、前記車両が停止したと判断した際に、該第1の演算装置に、前記更新されたプログラムの実行を命令するとともに、前記複数の演算装置による前記冗長処理の実行制限を解除する、
ことを特徴とする更新管理システム。
【請求項4】
請求項2に記載の更新管理システムであって、
前記更新管理装置が前記第2の演算装置に対して行う前記命令には、前記更新されたプログラムを実行する前に、前記第1の演算装置が実行中のプログラムとの同期処理を実行させる命令が含まれている、
ことを特徴とする更新管理システム。
【請求項5】
請求項4に記載の更新管理システムであって、
前記同期処理は、前記第1の演算装置の出力値を前記更新されたプログラムに基づいて再演算した値を、前記第2の演算装置が出力する処理を含む、
ことを特徴とする更新管理システム。
【請求項6】
請求項4に記載の更新管理システムであって、
前記同期処理は、前記第1の演算装置の出力値と同一の値を前記第2の演算装置が出力する処理を含む、
ことを特徴とする更新管理システム。
【請求項7】
請求項4に記載の更新管理システムであって、
前記同期処理は、前記更新されたプログラムが有する初期値を前記第2の演算装置が出力する処理を含む、
ことを特徴とする更新管理システム。
【請求項8】
請求項1に記載の更新管理システムであって、
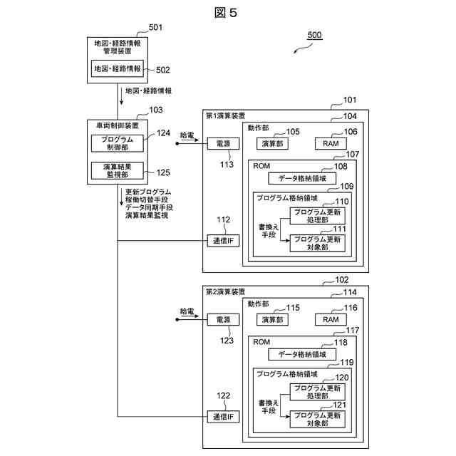
地図・経路情報管理装置をさらに有し、
前記更新管理装置は、前記地図・経路情報管理装置から地図・経路情報を取得し、前記車両の走行状態と該地図・経路情報とに基づいて、前記複数の演算装置が前記冗長処理を実行しているか否かを判断する、
ことを特徴とする更新管理システム。
【請求項9】
請求項1に記載の更新管理システムであって、
前記更新管理装置は、前記第1の演算装置及び前記第2の演算装置に格納されたプログラムを部分的に更新する、
ことを特徴とする更新管理システム。
発明の詳細な説明
【技術分野】
【0001】
本発明は、車両に搭載されたECU(Electronic Control Unit)のプログラム更新技術に関する。
続きを表示(約 1,600 文字)
【背景技術】
【0002】
自動車の自動運転技術に関しては、安全性確保のためにECUやセンサ系に冗長性を持たせることが求められている。すなわち、同一の機能を有するECUを例えば2台用意し、一方が緊急停止した際にもう一方のECUによって機能を発揮させることにより、機能安全を確保することが求められている。
【0003】
このように稼働中のプログラムを切り替える際には、稼働中のシステムへの影響を抑えることが求められる。この技術に関連して、特許文献1には、「動作検証・切替え部は,アップデート対象の制御プログラムと同じ実行環境の制御プログラムを代替プログラムとして準備」することが記載されている。
【先行技術文献】
【特許文献】
【0004】
国際公開2015/037116号
【発明の概要】
【発明が解決しようとする課題】
【0005】
近年の車両搭載ECUに搭載されたプログラムは、OTA(Over the Air)技術を用いて更新されることが多くなっている。OTAを用いたECUのプログラム更新に関する従来技術においては、車両走行中(ECUプログラム稼働中)に新プログラムを書き込むために2面メモリ構造を要し、現プログラム稼働中に新プログラムへの切替えができない。換言すると、例えば2台のECU構成を冗長化させようとした場合、一方のECU(ECU_1)が他方のECU(ECU_2)のプログラム稼働状態を常に監視する必要があり、ECU_2が実行中のプログラムを更新することができない。したがって、ECU_2に格納されたプログラムを更新しようとする場合には、ECU_2が実行中のプログラムが格納されているプログラム格納領域と同容量の格納領域を別個搭載して2面メモリ構造として、この領域に格納されたプログラムを更新し、その後切り替える必要があった。
【0006】
本発明は、冗長性を持ったECUの構成において、2面メモリ構造を持たずに車両走行中のプログラム書込みおよび切替えを可能にすることを目的としている。
【課題を解決するための手段】
【0007】
本発明の一実施例に係る更新管理システムは、車両に搭載されているとともに、複数の演算装置と、複数の演算装置を制御する更新管理装置と、を有し、複数の演算装置は、少なくとも第1の演算装置と第2の演算装置とを有し、更新管理装置は、車両の走行中に、第2の演算装置が冗長処理を実行しているか否かを判断し、該冗長処理を実行していないと判断した場合に、第1の演算装置による冗長処理の実行を制限するとともに、第2の演算装置に格納されたプログラムを更新する。
【発明の効果】
【0008】
本発明によれば、冗長構成を持つECUにおいて最小限のメモリリソースで車両走行中のプログラム更新・切替が可能になる。
本発明に関連する更なる特徴は、本明細書の記述、添付図面から明らかになるものである。また、上記した以外の課題、構成及び効果は、以下の実施例の説明により明らかにされる。
【図面の簡単な説明】
【0009】
本発明の一実施例に係る更新管理システムの構成を示すブロック図。
プログラム更新処理の一例を示すフローチャート図。
プログラム更新処理の他の一例を示すフローチャート図。
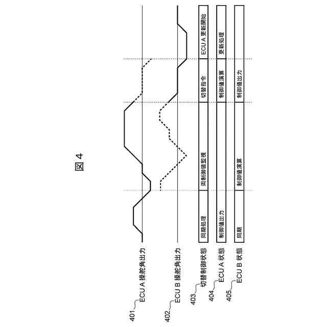
同期処理から切替え処理までの一例を示すシーケンス図。
本発明の他の実施例に係る更新管理システムの構成を示すブロック図。
【発明を実施するための形態】
【0010】
以下、図面を用いて実施例を説明する。
(【0011】以降は省略されています)
この特許をJ-PlatPat(特許庁公式サイト)で参照する
関連特許
Astemo株式会社
緩衝器
1か月前
Astemo株式会社
緩衝器
25日前
Astemo株式会社
緩衝器
17日前
Astemo株式会社
緩衝器
2日前
Astemo株式会社
電子装置
11日前
Astemo株式会社
車両制御装置
2日前
Astemo株式会社
管制システム
2日前
Astemo株式会社
電子制御装置
2日前
Astemo株式会社
充電制御装置
9日前
Astemo株式会社
ゲート駆動回路
25日前
Astemo株式会社
接合方法、構造物
17日前
Astemo株式会社
車載電力分配装置
9日前
Astemo株式会社
ノイズフィルタ装置
2日前
Astemo株式会社
減衰力調整式緩衝器
2日前
Astemo株式会社
内燃機関の制御装置
17日前
Astemo株式会社
電力変換装置の制御装置
17日前
Astemo株式会社
半導体装置及び電力変換装置
17日前
株式会社日立製作所
冷却構造
3日前
Astemo株式会社
電子制御装置及び環境認識方法
2日前
株式会社日立製作所
電力変換装置
3日前
株式会社日立製作所
電力変換装置
4日前
Astemo株式会社
モータ制御装置およびモータ制御方法
2日前
Astemo株式会社
電動ブレーキ及び電動ブレーキの組立方法
9日前
Astemo株式会社
電池管理システム、および、電池管理方法
17日前
Astemo株式会社
半導体装置、電力変換装置、半導体装置の製造方法
25日前
Astemo株式会社
データ収集装置、車両制御装置及びデータ収集システム
1か月前
Astemo株式会社
バルブ装置
17日前
株式会社日立製作所
電力変換装置、電力変換装置の製造方法
4日前
Astemo株式会社
更新管理システム
1か月前
Astemo株式会社
制御装置及び制御システム
1か月前
Astemo株式会社
車両制御装置、車両制御方法および車両制御システム
23日前
Astemo株式会社
車載情報処理装置、自動運転システムおよび車載システム
19日前
Astemo株式会社
タスク分割システム、及び、車載タスク分割システム、タスク分割方法
23日前
Astemo株式会社
燃料インジェクタの制御方法および制御ユニット、コンピュータプログラム製品、ならびに燃料インジェクタの制御装置
6日前
個人
詐欺保険
1か月前
個人
縁伊達ポイン
1か月前
続きを見る
他の特許を見る