TOP
|
特許
|
意匠
|
商標
特許ウォッチ
Twitter
他の特許を見る
10個以上の画像は省略されています。
公開番号
2025162249
公報種別
公開特許公報(A)
公開日
2025-10-27
出願番号
2024065411
出願日
2024-04-15
発明の名称
車両データ収集装置および車両データ収集方法
出願人
Astemo株式会社
代理人
弁理士法人平木国際特許事務所
主分類
G08G
1/00 20060101AFI20251020BHJP(信号)
要約
【課題】シナリオを検出した場合に、そのシナリオの開始から終了までのデータを過不足なく収集可能な車両データ収集装置を提供する。
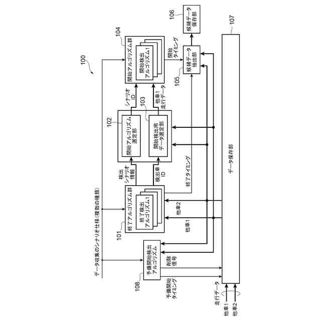
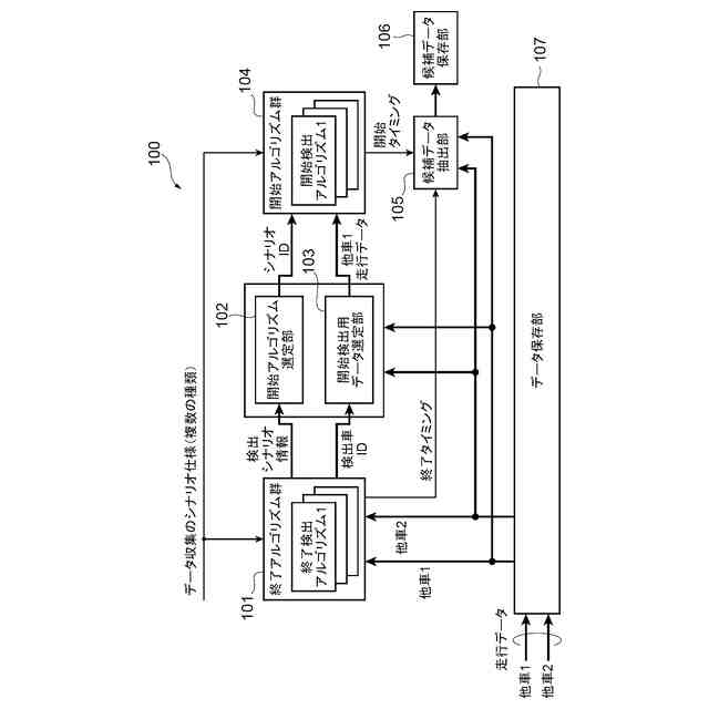
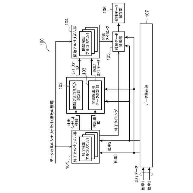
【解決手段】データ収集装置は、車両に搭載された外界検知装置により取得された一又は複数の他車両の挙動を示す時系列データを保存するデータ保存部と、データ収集対象として定義されたシナリオの終了を検出した場合に、シナリオの開始を検出するシナリオ検出部と、シナリオの開始及び終了のタイミングに基づいて、データ保存部に保存された時系列データから収集対象の時系列データを決定する収集対象データ決定部と、を備える。
【選択図】図2
特許請求の範囲
【請求項1】
車両に搭載された外界検知装置により取得された一又は複数の他車両の挙動を示す時系列データを保存するデータ保存部と、
データ収集対象として定義されたシナリオの終了を検出した場合に、前記シナリオの開始を検出するシナリオ検出部と、
前記シナリオの開始及び終了のタイミングに基づいて、前記データ保存部に保存された時系列データから収集対象の時系列データを決定する収集対象データ決定部と、を備える、
ことを特徴とする車両データ収集装置。
続きを表示(約 1,700 文字)
【請求項2】
請求項1に記載された車両データ収集装置であって、
前記シナリオは、前記他車両の挙動により定義された交通シナリオを含み、
前記シナリオ検出部は、前記交通シナリオの終了が検出された場合に、前記交通シナリオの種別に対応する前記他車両の挙動を判断することで前記シナリオの開始を検出する、
ことを特徴とする車両データ収集装置。
【請求項3】
請求項1に記載された車両データ収集装置であって、
前記データ保存部は、前記外界検知装置によって取得された自車両の挙動を示す時系列データをも保存し、
前記シナリオは、少なくとも前記自車両の挙動により定義された交通シナリオを含み、
前記シナリオ検出部は、前記交通シナリオの終了が検出された場合に、前記自車両の周辺環境に基づいて、前記シナリオの開始を検出する、
ことを特徴とする車両データ収集装置。
【請求項4】
請求項1に記載された車両データ収集装置であって、
前記データ保存部に保存された時系列データに基づいて、所定事象の発生を検出し、前記所定事象の発生が検出されてから所定時間に亘って前記シナリオの終了が検出されない場合、前記データ保存部に保存された時系列データのうち前記所定事象の発生時から前記所定時間の経過時までの時系列データを削除する、予備開始タイミング設定部をさらに備える、
ことを特徴とする車両データ収集装置。
【請求項5】
請求項1に記載された車両データ収集装置であって、
前記収集対象データ決定部は、前記シナリオの種類に基づいて、収集対象の前記時系列データの長さを変更する、
ことを特徴とする車両データ収集装置。
【請求項6】
請求項1に記載された車両データ収集装置であって、
前記収集対象データ決定部は、データ収集対象として定義されるシナリオが複数存在する場合には、危険性が高い前記シナリオから優先して収集対象として決定する、
ことを特徴とする車両データ収集装置。
【請求項7】
請求項6に記載された車両データ収集装置であって、
前記収集対象データ決定部は、データ収集対象として定義される複数の前記シナリオのうち、他車両が自車両へ接近する挙動を含む前記シナリオを他車両が前記自車両から離れる挙動を含む前記シナリオよりも優先して収集対象として決定する、
ことを特徴とする車両データ収集装置。
【請求項8】
車両に搭載された外界検知装置により取得された自車両の挙動を示す時系列データを保存するデータ保存部と、
データ収集対象として定義されたシナリオの終了を検出した場合に、前記シナリオの開始を検出するシナリオ検出部と、
前記シナリオの開始及び終了のタイミングに基づいて、前記データ保存部に保存された時系列データから収集対象の時系列データを決定する収集対象データ決定部と、を備える、
ことを特徴とする車両データ収集装置。
【請求項9】
請求項8に記載された車両データ収集装置であって、
前記シナリオは、前記自車両の挙動により決定された交通シナリオを含み、
前記シナリオ検出部は、前記交通シナリオの終了が検出された場合に、前記自車両の周辺環境に基づいて、前記シナリオの開始を検出する、
ことを特徴とする車両データ収集装置。
【請求項10】
コンピュータにより実行される車両データ収集方法であって、
車両に搭載された外界検知装置により取得された一または複数の他車両の挙動を示す時系列データをデータ保存部に保存するデータ保存ステップと、
データ収集対象として定義されたシナリオの終了を検出した場合に、前記シナリオの開始を検出するシナリオ検出ステップと、
前記シナリオの開始及び終了のタイミングに基づいて、前記データ保存部に保存された時系列データから収集対象の時系列データを決定する収集対象データ決定ステップと、を含む、
ことを特徴とする車両データ収集方法。
(【請求項11】以降は省略されています)
発明の詳細な説明
【技術分野】
【0001】
本発明は、自車両及び自車両の周囲を走行する他車両のデータを収集する車両データ収集装置および車両データ収集方法に関する。
続きを表示(約 1,300 文字)
【背景技術】
【0002】
近年の急速な社会変化・技術進化により、車両データを活用した社会課題の解決に対する機運が高まり、車両製造各社は車両データ収集システムを検討している。車両データを収集する目的は、例えば自動運転AIモデルの更新や地図の更新等様々である。
【0003】
ここでは自動運転AIモデルの更新を例にとって考える。自動運転AIモデルの更新に必要なデータは、自車両と他車両とが接近している場合等、一般的に危険とされている状況におけるデータである。
【0004】
換言すると、自動車事故につながりかねない状況におけるデータが必要であるともいえる。特に、自動車事故のうち85%以上を占めるといわれる自動車同士の接触による事故につながるデータが必要である。
【0005】
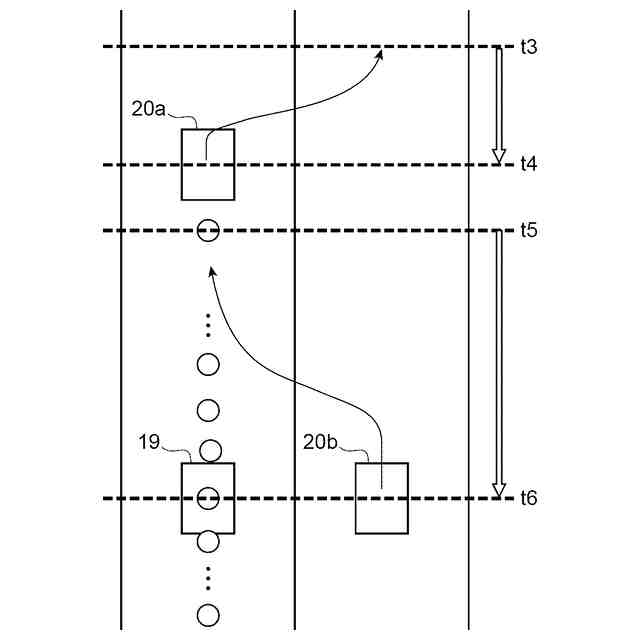
以下では、データ収集の対象となる、自車両の挙動により定義される事象または自車両の挙動と他車両の挙動とにより定義される事象のことを「シナリオ」と定義する。シナリオは、特に自車両の挙動により定義される交通シナリオ(交差点での旋回、車線変更、自車両の前方に石等の障害物が落下している状況等)または自車両の挙動と他車両の挙動とにより定義される交通シナリオ(カットイン:割込み、カットアウト、追い越し、後続車の急接近、先行車の急ブレーキ等)を含む。
【0006】
このシナリオに関するデータを収集する技術として、特許文献1が挙げられる。特許文献1においては、ある指定シナリオの終点を検出した場合、終点から固定時間遡った固定長さのデータを収集している。
【先行技術文献】
【特許文献】
【0007】
特開2020-140657号公報
【発明の概要】
【発明が解決しようとする課題】
【0008】
しかしながら、特許文献1の技術においては、シナリオの終点から固定時間遡った時間分だけのデータを収集・保存しているため、シナリオの長さが固定時間を超える場合にはシナリオの開始時点のデータを収集できず、シナリオの長さが固定時間未満の場合には、シナリオの開始時点以前の、不必要なデータまで収集してしまう。
【0009】
そこで本発明では、上記課題に鑑み、シナリオを検出した場合に、そのシナリオの開始から終了までのデータを過不足なく収集可能な車両データ収集装置を提供することを目的とする。
【課題を解決するための手段】
【0010】
上記課題を解決するために、本発明に係る車両データ収集装置は、車両に搭載された外界検知装置により取得された一又は複数の他車両の挙動を示す時系列データを保存するデータ保存部と、データ収集対象として定義されたシナリオの終了を検出した場合に、シナリオの開始を検出するシナリオ検出部と、シナリオの開始及び終了のタイミングに基づいて、データ保存部に保存された時系列データから収集対象の時系列データを決定する収集対象データ決定部と、を備える。
【発明の効果】
(【0011】以降は省略されています)
この特許をJ-PlatPat(特許庁公式サイト)で参照する
関連特許
Astemo株式会社
緩衝器
24日前
Astemo株式会社
緩衝器
18日前
Astemo株式会社
緩衝器
3日前
Astemo株式会社
緩衝器
11日前
Astemo株式会社
操舵装置
25日前
Astemo株式会社
外界認識装置
1か月前
Astemo株式会社
ゲート駆動回路
11日前
Astemo株式会社
接合方法、構造物
3日前
Astemo株式会社
プロペラシャフト
1か月前
Astemo株式会社
内燃機関の制御装置
3日前
Astemo株式会社
電力変換装置の制御装置
3日前
Astemo株式会社
半導体装置及び電力変換装置
3日前
Astemo株式会社
歯車の研磨装置及び研磨方法
27日前
Astemo株式会社
画像処理装置及び画像処理方法
27日前
Astemo株式会社
電池管理システム、および、電池管理方法
3日前
Astemo株式会社
車両データ収集装置および車両データ収集方法
27日前
Astemo株式会社
半導体装置、電力変換装置、半導体装置の製造方法
11日前
日産自動車株式会社
車両制御方法および車両制御装置
25日前
日産自動車株式会社
車両制御方法および車両制御装置
25日前
日産自動車株式会社
車両制御方法および車両制御装置
25日前
Astemo株式会社
データ収集装置、車両制御装置及びデータ収集システム
16日前
Astemo株式会社
回転電機の回転子、回転電機、インホイールモータ、車両
1か月前
Astemo株式会社
バルブ装置
3日前
Astemo株式会社
更新管理システム
16日前
Astemo株式会社
制御装置及び制御システム
24日前
Astemo株式会社
車両制御装置、車両制御方法および車両制御システム
9日前
Astemo株式会社
車載情報処理装置、自動運転システムおよび車載システム
5日前
Astemo株式会社
減衰力調整式緩衝器の製造方法およびソレノイドの製造方法
1か月前
Astemo株式会社
タスク分割システム、及び、車載タスク分割システム、タスク分割方法
9日前
日本精機株式会社
警報システム
2か月前
個人
安全支援装置
18日前
株式会社SUBARU
車両
1か月前
個人
自動電動車椅子
2か月前
スズキ株式会社
運転支援装置
2か月前
エムケー精工株式会社
車両誘導装置
2か月前
日本無線株式会社
船舶システム
19日前
続きを見る
他の特許を見る