TOP
|
特許
|
意匠
|
商標
特許ウォッチ
Twitter
他の特許を見る
公開番号
2025164840
公報種別
公開特許公報(A)
公開日
2025-10-30
出願番号
2025136874,2021068551
出願日
2025-08-20,2021-04-14
発明の名称
制御装置及び制御システム
出願人
Astemo株式会社
代理人
弁理士法人平木国際特許事務所
主分類
G06F
8/65 20180101AFI20251023BHJP(計算;計数)
要約
【課題】シングルバンクマイコンを備える制御装置のリプログラミングに要する時間を短縮することを目的とする。
【解決手段】ECU901は、メモリバンクがシングルバンクとして構成された書換領域13に格納されたプログラムを実行する第1マイコン1と、第2マイコン2とを備える制御装置である。第2マイコン2は、書換領域13に格納されたプログラムを書換プログラム5に書き換えるリプログラミング処理において書換プログラム5に対して前処理を行う前処理部214と、前処理が行われた書換プログラム5を第1マイコン1に送信する送信部213と、を有する。第1マイコン1は、第2マイコン2から送信された書換プログラム5を受信する受信部121と、受信された書換プログラム5を書換領域13に書込部122と、を有する。
【選択図】図1
特許請求の範囲
【請求項1】
メモリバンクがシングルバンクとして構成された所定領域に格納されたプログラムを実行する第1演算処理装置と、第2演算処理装置とを備える制御装置であって、
前記第2演算処理装置は、
前記所定領域に格納された前記プログラムを書換プログラムに書き換えるリプログラミング処理において前記書換プログラムに対して前処理を行う前処理部と、
前記前処理が行われた前記書換プログラムを前記第1演算処理装置に送信する送信部と、を有し、
前記第1演算処理装置は、
前記リプログラミング処理の開始要求を前記第2演算処理装置に通知する通知部と、
前記通知部が前記開始要求を通知した後、前記所定領域に格納された前記プログラムを消去する消去部と、
前記第2演算処理装置から送信された前記書換プログラムを受信する受信部と、
受信された前記書換プログラムを前記所定領域に書き込む書込部と、を有し、
前記第2演算処理装置は、前記第1演算処理装置から前記開始要求が通知された場合、前記書換プログラムを取得する取得部を更に有し、
前記前処理部は、前記取得部により取得された前記書換プログラムに対して前記前処理を行う
ことを特徴とする制御装置。
続きを表示(約 1,100 文字)
【請求項2】
前記第1演算処理装置は、受信された前記書換プログラムを前記所定領域に書き込む前に一時的に格納するバッファ領域を有し、
前記通知部は、前記バッファ領域の空き状況に応じて前記書換プログラムの送信許可を前記第2演算処理装置に通知し、
前記送信部は、前記第1演算処理装置から前記送信許可が通知された場合、前記前処理が行われた前記書換プログラムを前記第1演算処理装置に送信する
ことを特徴とする請求項1に記載の制御装置。
【請求項3】
前記通知部は、前記制御装置が制御動作を停止する停止状態に移行する際に、前記リプログラミング処理の要否を判定し、判定結果に基づいて前記開始要求を前記第2演算処理装置に通知する
ことを特徴とする請求項1に記載の制御装置。
【請求項4】
前記前処理部は、
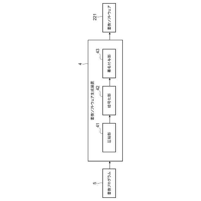
予め前記書換プログラムに付与された電子署名を検証する署名検証部、及び、予め暗号化された前記書換プログラムを復号化する復号化部を含む暗号処理部と、
予め圧縮された前記書換プログラムを伸張する伸張処理部と、を有する
ことを特徴とする請求項1に記載の制御装置。
【請求項5】
前記制御装置は、車両に搭載され前記車両を制御する装置であり、
前記通知部は、前記車両のイグニッションスイッチがオフ状態に移行することに伴って前記制御装置が制御動作を停止する停止状態に移行することを契機として、前記開始要求を前記第2演算処理装置に通知する
ことを特徴とする請求項1に記載の制御装置。
【請求項6】
メモリバンクがシングルバンクとして構成された所定領域に格納されたプログラムを実行する第1制御装置と、第2制御装置とを備える制御システムであって、
前記第2制御装置は、
前記所定領域に格納された前記プログラムを書換プログラムに書き換えるリプログラミング処理において前記書換プログラムに対して前処理を行い、
前記前処理が行われた前記書換プログラムを前記第1制御装置に送信し、
前記第1制御装置は、
前記リプログラミング処理の開始要求を前記第2制御装置に通知し、
前記開始要求を通知した後、前記所定領域に格納された前記プログラムを消去し、
前記第2制御装置から送信された前記書換プログラムを受信し、
受信された前記書換プログラムを前記所定領域に書き込み、
前記第2制御装置は、前記第1制御装置から前記開始要求が通知された場合、前記書換プログラムを取得し、取得された前記書換プログラムに対して前記前処理を行う
ことを特徴とする制御システム。
発明の詳細な説明
【技術分野】
【0001】
本発明は、制御装置及び制御システムに関する。
続きを表示(約 2,100 文字)
【背景技術】
【0002】
車両に搭載される電子制御装置(Electronic Control Unit、以下「ECU」とも称する)には、マイクロコントローラ(以下「マイコン」とも称する)が用いられている。ECUでは、マイコンに備えられたフラッシュメモリ等の不揮発性の記憶装置に格納されるソフトウェアへの機能追加やバグフィックス等を行うため、市場においてソフトウェアのリプログラミングが行われる。
【0003】
リプログラミングの1つの手法として、診断機等のソフトウェア書換装置から、有線通信によって、リプログラミング用のソフトウェアを配信する手法がある(例えば、特許文献1)。リプログラミングの他の1つの手法として、OTA(Over The Air)と呼ばれる無線通信によって、リプログラミング用のソフトウェアを配信する手法がある(例えば、特許文献2)。
【先行技術文献】
【特許文献】
【0004】
特開平11-96082号公報
特開2004-326689号公報
【発明の概要】
【発明が解決しようとする課題】
【0005】
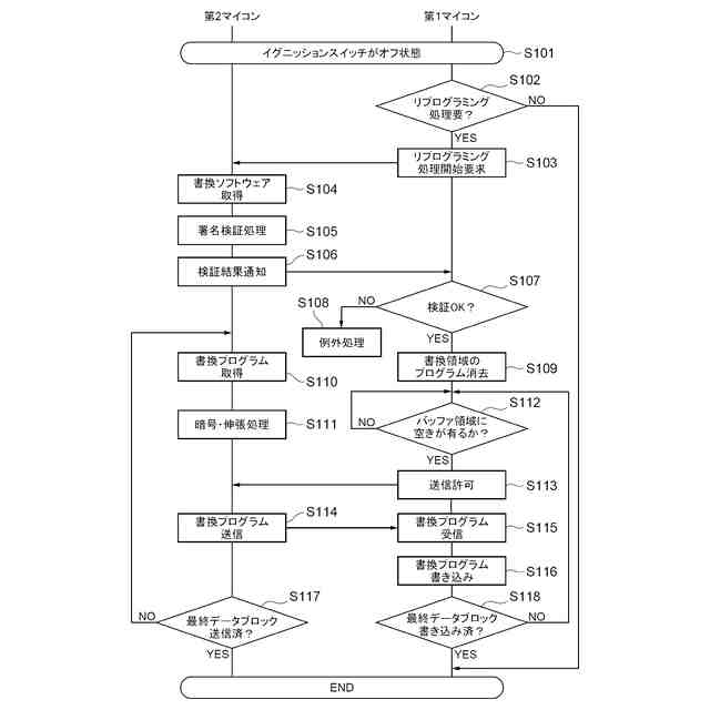
OTAによるリプログラミングでは、マイコンに備えられた記憶装置のメモリバンクの構成によって、プログラムを書き換えるタイミングが制約される。メモリバンクの構成は、デュアルバンクとシングルバンクとに分けられる。デュアルバンクの記憶装置を備えるマイコン(以下「デュアルバンクマイコン」とも称する)では、プログラムの動作面と書換面とが独立している。これにより、デュアルバンクマイコンでは、走行中(イグニッションスイッチがオン状態の際)であっても、車両の制御機能を提供しながら、リプログラミングを行うことが可能である。一方、シングルバンクの記憶装置を備えるマイコン(以下「シングルバンクマイコン」とも称する)では、プログラムの動作面と書換面とが同一である。これにより、シングルバンクマイコンでは、走行中に車両の制御機能を提供しながら、リプログラミングを行うことは難しい。
【0006】
したがって、シングルバンクマイコンでは、車両の制御機能を提供する必要がない駐車中(イグニッションスイッチがオフ状態の際)等にリプログラミングを行う必要がある。すなわち、駐車中等にリプログラミングを行う場合、リプログラミングが完了するまでの間は、走行すること(イグニッションスイッチをオン状態に移行すること)ができないので、ユーザのダウンタイムが発生してしまう。
【0007】
近年、CASE(Connected, Autonomous/Automated, Shared, Electric)等の技術分野において技術革新が進む中、ECUに求められる機能の高度化により、ソフトウェアのプログラムサイズが増加しているので、必然的にリプログラミングに要する時間は長くなる傾向にある。また、セキュリティの強化を図るべく、ソフトウェアの機密性や完全性を担保するため、ソフトウェアを暗号化したり電子署名を付与したりすることが行われている。したがって、ECUでは、リプログラミング時に復号化や電子署名の検証といった暗号処理が必要になり、リプログラミングに要する時間が更に長くなる傾向にある。このようなことから、シングルバンクマイコンを備えるECUでは、上記のような制約があるので、ユーザのダウンタイムが長くなってしまう。このような問題は、ECU以外の制御装置でも同様に発生する。
【0008】
本発明は、上記に鑑みてなされたものであり、シングルバンクマイコンを備える制御装置のリプログラミングに要する時間を短縮することを目的としている。
【課題を解決するための手段】
【0009】
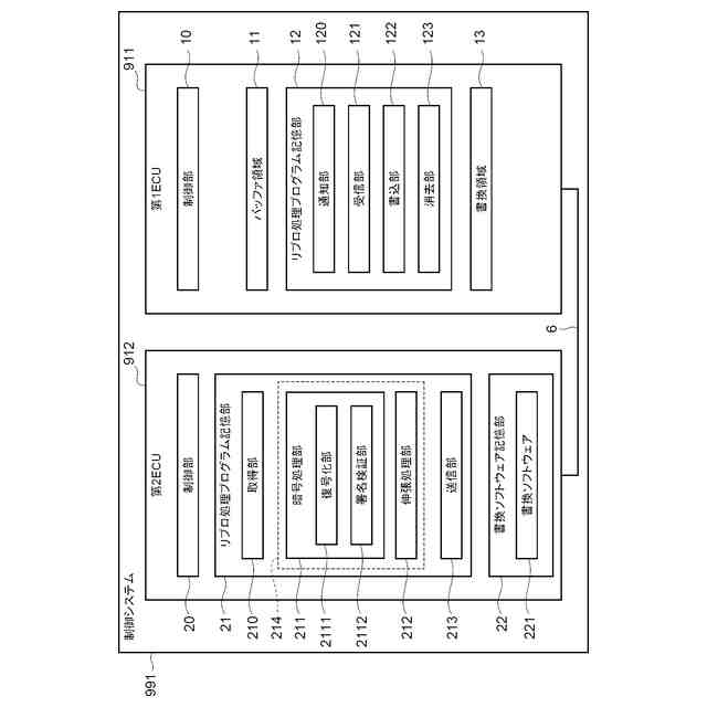
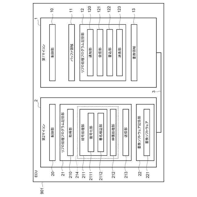
上記課題を解決するために、本発明の制御装置は、メモリバンクがシングルバンクとして構成された所定領域に格納されたプログラムを実行する第1演算処理装置と、第2演算処理装置とを備える制御装置であって、前記第2演算処理装置は、前記所定領域に格納された前記プログラムを書換プログラムに書き換えるリプログラミング処理において前記書換プログラムに対して前処理を行う前処理部と、前記前処理が行われた前記書換プログラムを前記第1演算処理装置に送信する送信部と、を有し、前記第1演算処理装置は、前記第2演算処理装置から送信された前記書換プログラムを受信する受信部と、受信された前記書換プログラムを前記所定領域に書き込む書込部と、を有することを特徴とする。
【発明の効果】
【0010】
本発明によれば、シングルバンクマイコンを備える制御装置のリプログラミングに要する時間を短縮することができる。
上記以外の課題、構成および効果は、以下の実施形態の説明により明らかにされる。
【図面の簡単な説明】
(【0011】以降は省略されています)
この特許をJ-PlatPat(特許庁公式サイト)で参照する
関連特許
Astemo株式会社
緩衝器
26日前
Astemo株式会社
緩衝器
18日前
Astemo株式会社
緩衝器
3日前
Astemo株式会社
電子装置
12日前
Astemo株式会社
車両制御装置
3日前
Astemo株式会社
電子制御装置
3日前
Astemo株式会社
充電制御装置
10日前
Astemo株式会社
管制システム
3日前
Astemo株式会社
ゲート駆動回路
26日前
Astemo株式会社
車載電力分配装置
10日前
Astemo株式会社
接合方法、構造物
18日前
Astemo株式会社
減衰力調整式緩衝器
3日前
Astemo株式会社
ノイズフィルタ装置
3日前
Astemo株式会社
内燃機関の制御装置
18日前
Astemo株式会社
電力変換装置の制御装置
18日前
Astemo株式会社
半導体装置及び電力変換装置
18日前
Astemo株式会社
電子制御装置及び環境認識方法
3日前
株式会社日立製作所
冷却構造
4日前
株式会社日立製作所
電力変換装置
4日前
株式会社日立製作所
電力変換装置
5日前
Astemo株式会社
モータ制御装置およびモータ制御方法
3日前
Astemo株式会社
電動ブレーキ及び電動ブレーキの組立方法
10日前
Astemo株式会社
電池管理システム、および、電池管理方法
18日前
Astemo株式会社
半導体装置、電力変換装置、半導体装置の製造方法
26日前
Astemo株式会社
バルブ装置
18日前
株式会社日立製作所
電力変換装置、電力変換装置の製造方法
5日前
Astemo株式会社
更新管理システム
1か月前
Astemo株式会社
車両制御装置、車両制御方法および車両制御システム
24日前
Astemo株式会社
車載情報処理装置、自動運転システムおよび車載システム
20日前
Astemo株式会社
タスク分割システム、及び、車載タスク分割システム、タスク分割方法
24日前
Astemo株式会社
燃料インジェクタの制御方法および制御ユニット、コンピュータプログラム製品、ならびに燃料インジェクタの制御装置
7日前
個人
詐欺保険
1か月前
個人
縁伊達ポイン
1か月前
個人
職業自動販売機
24日前
個人
RFタグシート
1か月前
個人
5掛けポイント
1か月前
続きを見る
他の特許を見る