TOP
|
特許
|
意匠
|
商標
特許ウォッチ
Twitter
他の特許を見る
公開番号
2025175281
公報種別
公開特許公報(A)
公開日
2025-12-01
出願番号
2024162355
出願日
2024-09-19
発明の名称
燃料インジェクタの制御方法および制御ユニット、コンピュータプログラム製品、ならびに燃料インジェクタの制御装置
出願人
Astemo株式会社
代理人
弁理士法人開知
主分類
F02M
61/10 20060101AFI20251121BHJP(燃焼機関;熱ガスまたは燃焼生成物を利用する機関設備)
要約
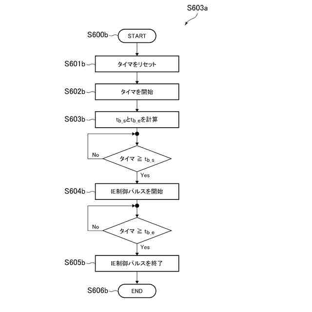
【課題】連続する2つの噴射の間に燃料インジェクタのコイルに印加される中間通電のタイミングを最適化することによって、内燃機関に噴射される少量の燃料の精度を向上させるという技術的目的に対処する。
【解決手段】閉動作制御ユニット600は、噴射制御パルスtiの終端te、持続時間ti_d、ならびに閉弁の時点t
EOI
における燃料圧力p
f
および燃料温度T
f
を、ECU109から受信し、それらに基づいて、予め記憶された関係/マップから閉弁タイミングt
EOI
を読み出し、中間通電の開始時点tb_sが、この閉弁タイミングt
EOI
に基づいて定義され、中間通電の持続時間tb_dが閉弁タイミングt
EOI
ならびに燃料圧力p
f
および燃料温度T
f
の関数として決定される。
【選択図】図7b
特許請求の範囲
【請求項1】
噴射制御パルスに基づいて内燃機関への噴射を実行するように構成された燃料インジェクタの閉動作を制御するための方法であって、
前記噴射制御パルスの終端を検出し、
前記噴射制御パルスの検出された前記終端に基づいて前記燃料インジェクタの閉弁タイミングを決定し、
決定された前記閉弁タイミングに基づいて前記燃料インジェクタの中間通電の開始端を決定し、
前記中間通電の決定された前記開始端に基づいて中間通電制御パルスを算出し、
前記中間通電制御パルスを前記燃料インジェクタに出力する
ことを特徴とする燃料インジェクタの制御方法。
続きを表示(約 1,200 文字)
【請求項2】
請求項1に記載の燃料インジェクタの制御方法において、
前記閉弁タイミングは、前記燃料インジェクタの駆動電圧に基づいて検出され、
検出された前記閉弁タイミングと前記噴射制御パルスの前記終端との関係を算出し、前記関係を利用して、前記噴射制御パルスの検出された前記終端に基づいて前記閉弁タイミングを決定する
ことを特徴とする燃料インジェクタの制御方法。
【請求項3】
請求項2に記載の燃料インジェクタの制御方法において、
検出された前記閉弁タイミングと前記噴射制御パルスの前記終端との前記関係は、前記噴射制御パルスの持続時間、燃料圧力および燃料温度を考慮に入れて算出される
ことを特徴とする燃料インジェクタの制御方法。
【請求項4】
請求項1に記載の燃料インジェクタの制御方法において、
前記中間通電の前記開始端に加えて、前記中間通電の持続時間が決定され、
前記中間通電の決定された前記開始端および前記持続時間に基づいて前記中間通電制御パルスが算出される、
ことを特徴とする燃料インジェクタの制御方法。
【請求項5】
請求項4に記載の燃料インジェクタの制御方法において、
前記中間通電の前記持続時間は、決定された前記閉弁タイミング、燃料圧力および燃料温度に基づいて決定される
ことを特徴とする燃料インジェクタの制御方法。
【請求項6】
請求項1に記載の燃料インジェクタの制御方法において、
前記中間通電の前記開始端は、前記閉弁タイミング以降の所定時間に設定される
ことを特徴とする燃料インジェクタの制御方法。
【請求項7】
請求項4に記載の燃料インジェクタの制御方法において、
前記中間通電の前記持続時間は、前記燃料インジェクタの開遅れ時間よりも短く設定される
ことを特徴とする燃料インジェクタの制御方法。
【請求項8】
請求項2に記載の燃料インジェクタの制御方法において、
検出された前記閉弁タイミングと前記噴射制御パルスの前記終端との前記関係を算出するために機械学習モデルが使用される
ことを特徴とする燃料インジェクタの制御方法。
【請求項9】
請求項8に記載の燃料インジェクタの制御方法において、
前記機械学習モデルは、前記内燃機関が学習モードで動作するときに訓練される
ことを特徴とする燃料インジェクタの制御方法。
【請求項10】
請求項1~9のうちの少なくとも一項に記載の燃料インジェクタの制御方法を実行するように構成された燃料インジェクタの制御ユニット。
(【請求項11】以降は省略されています)
発明の詳細な説明
【技術分野】
【0001】
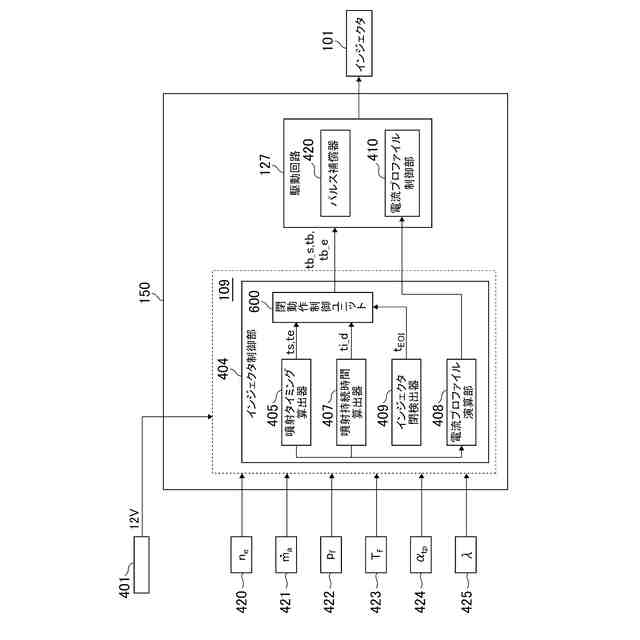
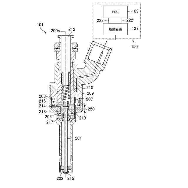
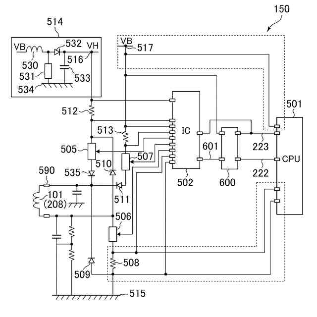
本発明は、燃料インジェクタの閉動作を制御するための方法、制御ユニット、およびコンピュータプログラム製品、ならびに燃料インジェクタを制御するための制御装置に関する。
続きを表示(約 1,600 文字)
【背景技術】
【0002】
現在の厳しい排出規制を遵守するためには、内燃機関のシリンダ内に噴射された燃料がシリンダ壁に達するのを防止する必要がある。この目標を達成するために、噴射される燃料の量を複数の小噴射に分割することが有望な手法である。しかしながら、少量の燃料を正確に計量するためには、燃料インジェクタのいわゆる弾道的動作範囲が正確に制御されなければならない。これに関連して、燃料インジェクタの安定した閉動作は、排出の増加につながるいわゆる弁のバウンスを回避するために必須である。
【0003】
特許文献1および2は、コイルと、可動鉄心と、弁体とを備える燃料インジェクタに関し、このインジェクタでは、閉動作中に、弁体がその弁座に達した後にコイルに中間通電が印加され、可動鉄心の移動方向と反対方向に磁力を与えてその速度を低下させ、弁体のバウンスを防止する。
【先行技術文献】
【特許文献】
【0004】
欧州特許出願公開第1990526号明細書
米国特許第10662886号明細書
【発明の概要】
【発明が解決しようとする課題】
【0005】
しかしながら、燃料インジェクタの閉動作の確実な安定化のためには、中間通電の正確なタイミングが重要である。中間通電の実施が早すぎると、弁体の方向が変化して、燃料噴射量の望ましくない増大が生じることがある。
【0006】
一方、中間通電の実施が遅すぎると、可動鉄心の速度が十分に減速されず、その結果、可動鉄心の衝撃によって弁体がその弁座から持ち上げられ、望ましくない追加の燃料噴射をも生じるおそれがある。特に、特許文献1には、通電(保持電流のための電圧の印加)を停止した後、保持電流を停止してから閉遅れ時間Tbまでの時間の3/4よりも長い時間にわたって継続的に通電を停止し、その後、電圧を印加して可動鉄心を吸引するための通電を開始することが好適であることが開示されている。
【0007】
しかしながら、特許文献1には、そのタイミングをどのように決定するかについての詳細は示されていない。
【0008】
本明細書に記載の主題は、連続する2つの噴射の間に燃料インジェクタのコイルに印加される中間通電のタイミングを最適化することによって、内燃機関に噴射される少量の燃料の精度を向上させるという技術的目的に対処することである。この目的は、添付の特許請求の範囲の主題によって達成される。
【課題を解決するための手段】
【0009】
添付の特許請求の範囲に記載の主題によれば、噴射制御パルスに基づいて内燃機関への噴射を実行するように構成された燃料インジェクタの閉動作を制御するための方法、制御ユニット、およびコンピュータプログラム製品が提案される。さらに、燃料インジェクタを制御するための制御装置が提案される。
【0010】
噴射制御パルスは、内燃機関(以下、「エンジン」または「燃焼機関」ともいう)のエンジン制御ユニット(ECU)によって提供され得る。特に、内燃機関は、自動車、トラック、バスなどの車両に動力を供給するために使用され得る。ECUは、例えば、負荷、シリンダ内の空気質量、および/またはエンジンの空燃比に関連して、エンジンの動作状態に基づいて噴射制御パルスを決定/算出することができる。燃料インジェクタによって噴射される燃料の量は、噴射制御パルスの持続時間(幅)によって制御され得る。例えば、高負荷では、燃料インジェクタに大量の燃料を内燃機関内に噴射させるために、長い噴射制御パルスがECUによって出力され得る。ECUが、エンジン動作サイクル中に複数の噴射制御パルスを出力して、噴射される燃料の量を複数の小噴射に分割することも可能である。
(【0011】以降は省略されています)
特許ウォッチbot のツイートを見る
この特許をJ-PlatPat(特許庁公式サイト)で参照する
関連特許
Astemo株式会社
緩衝器
25日前
Astemo株式会社
緩衝器
17日前
Astemo株式会社
緩衝器
2日前
Astemo株式会社
電子装置
11日前
Astemo株式会社
車両制御装置
2日前
Astemo株式会社
電子制御装置
2日前
Astemo株式会社
充電制御装置
9日前
Astemo株式会社
管制システム
2日前
Astemo株式会社
ゲート駆動回路
25日前
Astemo株式会社
車載電力分配装置
9日前
Astemo株式会社
接合方法、構造物
17日前
Astemo株式会社
減衰力調整式緩衝器
2日前
Astemo株式会社
ノイズフィルタ装置
2日前
Astemo株式会社
内燃機関の制御装置
17日前
Astemo株式会社
電力変換装置の制御装置
17日前
Astemo株式会社
半導体装置及び電力変換装置
17日前
Astemo株式会社
電子制御装置及び環境認識方法
2日前
株式会社日立製作所
冷却構造
3日前
株式会社日立製作所
電力変換装置
3日前
株式会社日立製作所
電力変換装置
4日前
Astemo株式会社
モータ制御装置およびモータ制御方法
2日前
Astemo株式会社
電動ブレーキ及び電動ブレーキの組立方法
9日前
Astemo株式会社
電池管理システム、および、電池管理方法
17日前
Astemo株式会社
半導体装置、電力変換装置、半導体装置の製造方法
25日前
Astemo株式会社
バルブ装置
17日前
株式会社日立製作所
電力変換装置、電力変換装置の製造方法
4日前
Astemo株式会社
更新管理システム
1か月前
Astemo株式会社
車両制御装置、車両制御方法および車両制御システム
23日前
Astemo株式会社
車載情報処理装置、自動運転システムおよび車載システム
19日前
Astemo株式会社
タスク分割システム、及び、車載タスク分割システム、タスク分割方法
23日前
Astemo株式会社
燃料インジェクタの制御方法および制御ユニット、コンピュータプログラム製品、ならびに燃料インジェクタの制御装置
6日前
個人
バンケル型内燃機関の改良
1か月前
個人
擬似オイル発電装置
23日前
個人
ガバナー
10日前
スズキ株式会社
車両の制御装置
1か月前
スズキ株式会社
車両の制御装置
1か月前
続きを見る
他の特許を見る