TOP
|
特許
|
意匠
|
商標
特許ウォッチ
Twitter
他の特許を見る
公開番号
2025177056
公報種別
公開特許公報(A)
公開日
2025-12-05
出願番号
2024083553
出願日
2024-05-22
発明の名称
緩衝器
出願人
Astemo株式会社
代理人
弁理士法人はなぶさ特許商標事務所
主分類
F16F
9/348 20060101AFI20251128BHJP(機械要素または単位;機械または装置の効果的機能を生じ維持するための一般的手段)
要約
【課題】低いバルブ特性と高いバルブ耐久性とを両立させた緩衝器を提供する。
【解決手段】縮み側減衰力機構31は、第1弁体41と、第1弁体41よりも低い剛性を有する第2弁体51と、第1弁体41と第2弁体51との間に形成されたチャンバ63と、チャンバ63の内側と外側とを連通する切欠き62とを有しているので、伸び行程時のピストン速度の上昇に伴い第1室の圧力が上昇しても、第2弁体51が第1室の圧力(背圧)を受けてピストン3側へ押されて破損することを回避することが可能であり、低いバルブ特性と高いバルブ耐久性とを両立させることができる。
【選択図】図2
特許請求の範囲
【請求項1】
作動流体が封入されたシリンダと、
前記シリンダ内に設けられ、該シリンダ内を2室に区画するピストンと、
第1端部が前記ピストンに連結され、第2端部が前記シリンダ内から外部へ延出するピストンロッドと、
前記ピストンに設けられ、前記2室を連通する通路と、
前記通路に設けられ、前記作動流体が前記2室の一方の室から他方の室へ移動することで開弁する減衰力機構と、
を備え、
前記減衰力機構は、
前記ピストンと当接可能に配置され、軸方向へ移動可能な第1バルブ部材と、
前記第1バルブ部材よりも前記ピストンから離間して配置され、前記第1バルブ部材よりも剛性が低い第2バルブ部材と、
前記第1バルブ部材と前記第2バルブ部材との間に形成されるチャンバと、
前記チャンバの内外を連通するチャンバ通路と、
を有する緩衝器。
続きを表示(約 570 文字)
【請求項2】
請求項1に記載の緩衝器であって、
前記チャンバ通路は、前記第1バルブ部材と前記第2バルブ部材との間に設けられたチャンバ形成部によって形成されている緩衝器。
【請求項3】
請求項1に記載の緩衝器であって、
前記第1バルブ部材と前記第2バルブ部材との間に設けられ、前記第1バルブ部材と前記第2バルブ部材とを軸方向へ付勢する第1付勢部材を有する緩衝器。
【請求項4】
請求項3に記載の緩衝器であって、
前記第1バルブ部材と前記ピストンとの間に設けられ、前記第1バルブ部材を軸方向へ付勢する第2付勢部材を有する緩衝器。
【請求項5】
請求項1に記載の緩衝器であって、
前記チャンバ形成部は、前記第1バルブ部材又は前記第2バルブ部材から軸方向へ突出する突出部であり、
前記チャンバ通路は、前記突出部に形成された切欠きである緩衝器。
【請求項6】
請求項1に記載の緩衝器であって、
前記第2バルブ部材は、前記第2バルブ部材の径方向外側に形成され、前記第1バルブ部材と当接可能な当接部を有し、
前記チャンバ通路は、前記第2バルブ部材に設けられ、前記当接部よりも前記第2バルブ部材の径方向内側に形成された孔である緩衝器。
発明の詳細な説明
【技術分野】
【0001】
本発明は、作動流体の流れを利用して減衰力を発生させる緩衝器に関する。
続きを表示(約 1,300 文字)
【背景技術】
【0002】
特許文献1には、複数枚のディスクを重ねて形成したバルブによってピストン通路を開閉する緩衝器(以下「従来の緩衝器」と称する)が開示されている。
【先行技術文献】
【特許文献】
【0003】
特開2022-015640号公報
【発明の概要】
【発明が解決しようとする課題】
【0004】
従来の緩衝器では、例えば、縮み側のバルブ特性を低く設定する場合、縮み側のピストン通路に設けられた縮み側バルブを構成するディスクの積層枚数を少なくする必要がある。この場合、伸び行程時に第1油室の圧力(背圧)が高まることにより、縮み側バルブが破損するおそれがある。
【0005】
本発明は、低いバルブ特性と高いバルブ耐久性とを両立させた緩衝器を提供することを課題とする。
【課題を解決するための手段】
【0006】
本発明の緩衝器は、減衰力機構は、ピストンと当接可能に配置され、軸方向へ移動可能な第1バルブ部材と、前記第1バルブ部材よりも前記ピストンから離間して配置され、前記第1バルブ部材よりも剛性が低い第2バルブ部材と、前記第1バルブ部材と前記第2バルブ部材との間に形成されるチャンバと、前記チャンバの内外を連通するチャンバ通路と、を有する。
【発明の効果】
【0007】
本発明によれば、低いバルブ特性と高いバルブ耐久性とを両立させた緩衝器を提供することができる。
【図面の簡単な説明】
【0008】
第1実施形態に係る緩衝器の軸平面による断面部の一部を示す図である。
図1の要部を拡大して示す図である。
第1実施形態の説明図であって、縮み行程減衰力機構の第2弁体の平面図である。
図3におけるA-A断面図である。
第2実施形態の説明図であって、図2に対応する図である。
第2実施形態の説明図であって、縮み行程減衰力機構の第2弁体の平面図である。
第2実施形態の他の形態を示す図である。
【発明を実施するための形態】
【0009】
(第1実施形態)
本発明の第1実施形態を添付した図を参照して説明する。
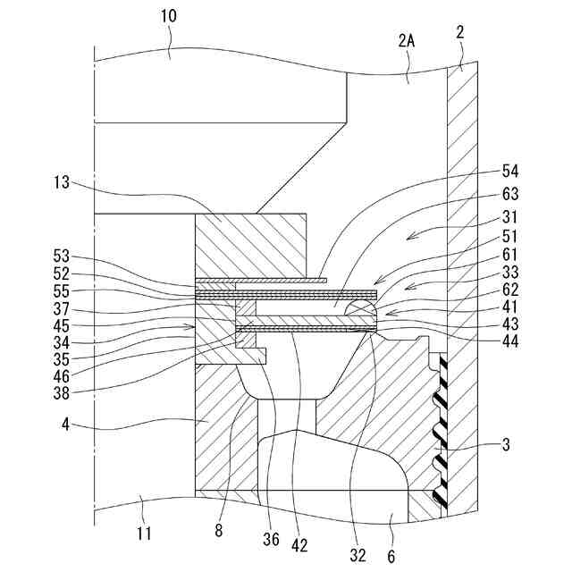
便宜上、図1における上下方向をそのまま「上下方向」と称する。図1に示されるように、緩衝器1は、作動流体が封入されたシリンダ2と、シリンダ2内に摺動可能に嵌装され、シリンダ2内を第1室2Aと第2室2Bとに区画するピストン3とを有する。
【0010】
ピストン3は、上端側が第1室2Aに開口する伸び側通路5と、下端側が第2室2Bに開口する縮み側通路6とを有する。ピストン3は、ピストン3の下端側に設けられ、伸び側通路5に連通される環状溝7と、ピストン3の上端側に設けられ、縮み側通路6に連通される環状溝8とを有する。伸び側通路5はピストン3の環状溝8よりも外周側に開口し、縮み側通路6はピストン3の環状溝7よりも外周側に開口する。
(【0011】以降は省略されています)
この特許をJ-PlatPat(特許庁公式サイト)で参照する
関連特許
個人
留め具
1か月前
個人
鍋虫ねじ
3か月前
個人
紛体用仕切弁
3か月前
個人
ホース保持具
7か月前
個人
回転伝達機構
4か月前
個人
差動歯車用歯形
5か月前
個人
ジョイント
2か月前
個人
給排気装置
2か月前
個人
地震の揺れ回避装置
4か月前
個人
ナット
1か月前
個人
ナット
2か月前
株式会社不二工機
電磁弁
5か月前
株式会社不二工機
電磁弁
6か月前
個人
ゲート弁バルブ
17日前
個人
吐出量監視装置
3か月前
カヤバ株式会社
緩衝器
5か月前
柿沼金属精機株式会社
分岐管
3か月前
兼工業株式会社
バルブ
1か月前
カヤバ株式会社
緩衝器
5か月前
カヤバ株式会社
ダンパ
5か月前
カヤバ株式会社
緩衝器
2か月前
カヤバ株式会社
ダンパ
5か月前
個人
固着具と固着具の固定方法
6か月前
個人
固着具と固着具の固定方法
8か月前
日東電工株式会社
断熱材
7か月前
株式会社三五
ドライブシャフト
1か月前
株式会社ノーリツ
分配弁
7か月前
株式会社奥村組
制振機構
2か月前
アズビル株式会社
回転弁
2か月前
株式会社ニフコ
クリップ
2か月前
株式会社フジキン
ボールバルブ
6か月前
株式会社タカギ
水栓装置
4か月前
株式会社ノーリツ
分配弁
7か月前
株式会社奥村組
制振機構
2か月前
個人
固着具と固着具の固定方法
6か月前
竹内工業株式会社
ラッチ
2日前
続きを見る
他の特許を見る