TOP
|
特許
|
意匠
|
商標
特許ウォッチ
Twitter
他の特許を見る
10個以上の画像は省略されています。
公開番号
2025177433
公報種別
公開特許公報(A)
公開日
2025-12-05
出願番号
2024084268
出願日
2024-05-23
発明の名称
モータ制御装置およびモータ制御方法
出願人
Astemo株式会社
代理人
弁理士法人開知
主分類
H02P
21/22 20160101AFI20251128BHJP(電力の発電,変換,配電)
要約
【課題】磁石温度推定時のセンサ誤差による推定値への誤差影響を低減することが可能なモータ制御装置およびモータ制御方法を提供する。
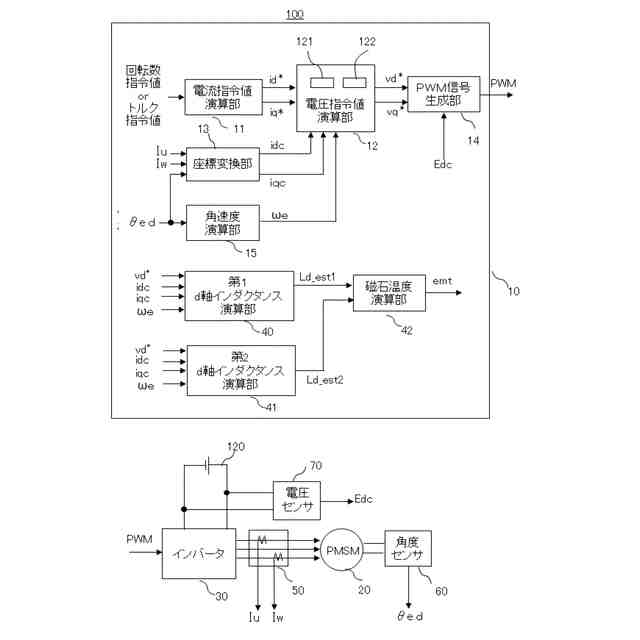
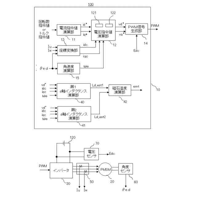
【解決手段】モータ制御装置100はd軸電流に高調波電流を重畳するd軸高調波電流重畳部121と、高調波電流が重畳されたd軸高調波電流が第1所定範囲内であるときに、d軸高調波電流に基づいて第1d軸インダクタンスの推定値Ld_est1を演算する第1d軸インダクタンス演算部40と、d軸高調波電流が第1所定範囲の下限値より小の上限値を有する第2所定範囲内であるときに、d軸高調波電流に基づいて第2d軸インダクタンスの推定値Ld_est2を演算する第2d軸インダクタンス演算部41と、第1d軸インダクタンスの推定値Ld_est1と第2d軸インダクタンスの推定値Ld_est2に基づき、モータ20の磁石温度推定値emtを演算する磁石温度演算部42を備える。
【選択図】図1
特許請求の範囲
【請求項1】
モータをインバータにより駆動するモータ制御装置において、
d軸電流に高調波電流を重畳するd軸高調波電流重畳部と、
前記高調波電流が重畳されたd軸高調波電流が第1所定範囲内であるときに、前記d軸高調波電流に基づいて第1d軸インダクタンスの推定値を演算する第1d軸インダクタンス演算部と、
前記d軸高調波電流が第2所定範囲内であるときに、前記d軸高調波電流に基づいて第2d軸インダクタンスの推定値を演算する第2d軸インダクタンス演算部と、
前記第1d軸インダクタンスの推定値と前記第2d軸インダクタンスの推定値に基づいて、前記モータの磁石温度推定値を演算する磁石温度演算部を備える
ことを特徴とするモータ制御装置。
続きを表示(約 1,200 文字)
【請求項2】
請求項1に記載のモータ制御装置において、
前記第1d軸インダクタンス演算部と前記第2d軸インダクタンス演算部は、
前記第1d軸インダクタンスの推定値の前記モータの磁石温度または回転子温度の所定の温度幅に対する変化率と、
前記第2d軸インダクタンスの推定値の磁石温度または回転子温度の所定の温度幅に対する変化率の差分が所定値以上となるように、
前記第1所定範囲と前記第2所定範囲を設定することを特徴とするモータ制御装置。
【請求項3】
請求項1または請求項2に記載のモータ制御装置において、
前記d軸高調波電流重畳部は、
前記d軸高調波電流を前記第1所定範囲の下限値以下である第1-1所定値から前記第1所定範囲の上限値以上である第1-2所定値に変化させた後、再び、前記第1-1所定値に変化させる重畳動作をN回(Nは1以上の整数)繰り返し、
その後、前記d軸高調波電流を前記第2所定範囲の下限値以下である第2-1所定値から前記第2所定範囲の上限値以上である第2-2所定値に変化させた後、再び、前記第2-1所定値に変化させる重畳動作をM回(Mは1以上の整数)繰り返すことを特徴とするモータ制御装置。
【請求項4】
請求項1または請求項2に記載のモータ制御装置において、
前記磁石温度演算部は、
前記第1d軸インダクタンスの推定値と前記第2d軸インダクタンスの推定値との比に基づいて磁石温度推定値を演算することを特徴とするモータ制御装置。
【請求項5】
請求項3に記載のモータ制御装置において、
前記第1所定範囲の上限値と下限値は正の電流値、前記第2所定範囲の上限値と下限値は負の電流値であることを特徴とするモータ制御装置。
【請求項6】
請求項3に記載のモータ制御装置において、
前記第1-1所定値および前記第2-2所定値は0であることを特徴とするモータ制御装置。
【請求項7】
請求項1に記載のモータ制御装置において、
前記第1所定範囲と前記第2所定範囲が
前記第1d軸インダクタンスの推定値および前記第2d軸インダクタンスの推定値の算出精度と、発生する音および振動と関係から定められることを特徴とするモータ制御装置。
【請求項8】
モータをインバータにより駆動するモータ制御方法において、
d軸電流に高調波電流を重畳し、
前記高調波電流が重畳されたd軸高調波電流が第1所定範囲内であるときに、前記d軸高調波電流に基づいて第1d軸インダクタンスの推定値を演算し、
前記d軸高調波電流が第2所定範囲内であるときに、前記d軸高調波電流に基づいて第2d軸インダクタンスの推定値を演算し、
前記第1d軸インダクタンスの推定値と前記第2d軸インダクタンスの推定値に基づいて、前記モータの磁石温度推定値を演算することを特徴とするモータ制御方法。
発明の詳細な説明
【技術分野】
【0001】
本発明は、モータ制御装置およびモータ制御方法に関する。
続きを表示(約 1,100 文字)
【背景技術】
【0002】
特許文献1は、基本波の周波数とは異なる周波数の電圧または電流をd軸に重畳する重畳部と、重畳した電圧または電流と、重畳することにより得られた電流または電圧から磁石温度を推定する永久磁石同期電動機の駆動装置を開示している。
【0003】
また、特許文献2は、d軸のインダクタンス相当値判断手段と、インダクタンス相当値に基づいて、永久磁石の磁石磁束量の推定値を演算する推定方法を開示している。
【先行技術文献】
【特許文献】
【0004】
特開2015-133891号公報
特許第6158115号公報
【発明の概要】
【発明が解決しようとする課題】
【0005】
特許文献1は、基本波の周波数とは異なる周波数の電圧または電流をd軸に重畳する重畳部と、重畳した電圧または電流と、重畳することにより得られた電流または電圧から磁石温度を推定する永久磁石同期電動機の駆動装置を開示している。
【0006】
特許文献2は、d軸のインダクタンス相当値判断手段と、インダクタンス相当値に基づいて、永久磁石の磁石磁束量の推定値を演算する推定方法と、d軸に高周波電圧を印加する高周波電圧印加手段と、高周波電圧印加手段にて印加された電圧に応じて、d軸に流れる高周波電流の振幅を検出する高周波電流振幅検出手段とを備え、前記高周波電圧と高周波電流振幅に基づいてインダクタンス相当値を判断する判断手段を開示している。
【0007】
しかしながら、電圧センサや電流センサに誤差が存在する場合、特許文献1に記載された技術においては、重畳した電圧または電流と、重畳することにより得られた電流または電圧に誤差が発生し、その結果、磁石温度推定値にも誤差が発生する。
【0008】
同様に、電圧センサや電流センサに誤差が存在する場合、特許文献2に記載された技術おいては、高周波電圧と高周波電流振幅に誤差が発生し、その結果、インダクタンス相当値に誤差が発生する。
【0009】
高精度な磁石温度推定またはインダクタンス相当値推定を行うためには、センサ誤差による推定値への影響の低減が必要である。
【0010】
しかし、特許文献1および特許文献2に記載された技術では、センサ誤差による推定値への影響の低減手法については述べられていない。そのため、特許文献1および特許文献2に記載された技術には改善の余地があると考えられる。
(【0011】以降は省略されています)
この特許をJ-PlatPat(特許庁公式サイト)で参照する
関連特許
個人
高圧電気機器の開閉器
18日前
個人
電気を重力で発電装置
1か月前
キヤノン電子株式会社
モータ
1か月前
キヤノン電子株式会社
モータ
1か月前
日星電気株式会社
ケーブル組立体
1か月前
コーセル株式会社
電源装置
1か月前
株式会社アイドゥス企画
減反モータ
18日前
トヨタ自動車株式会社
モータ
1か月前
株式会社デンソー
端子台
11日前
株式会社デンソー
回転電機
2日前
個人
二次電池繰返パルス放電器用印刷基板
1か月前
株式会社ダイヘン
送配電装置
2日前
株式会社不二越
空冷式油圧装置
2日前
ローム株式会社
半導体集積回路
9日前
富士電機株式会社
電力変換装置
2日前
本田技研工業株式会社
回転電機
4日前
富士電機株式会社
電力変換装置
2日前
株式会社デンソー
電力変換装置
1か月前
株式会社日立製作所
回転電機
9日前
株式会社TMEIC
制御装置
10日前
トヨタ自動車株式会社
固定子の加熱装置
1か月前
矢崎総業株式会社
電源回路
17日前
矢崎総業株式会社
給電装置
10日前
株式会社デンソー
非接触受電装置
1か月前
山洋電気株式会社
モータ
1か月前
株式会社イノコンバンク
無線給電システム
2日前
日産自動車株式会社
ロータシャフト
25日前
日産自動車株式会社
ロータシャフト
25日前
ローム株式会社
モータドライバ回路
25日前
個人
非対称鏡像力を有する4層PWB電荷搬送体
25日前
トヨタ自動車株式会社
ステータの製造装置
1か月前
大和ハウス工業株式会社
敷設用機器
10日前
トヨタ紡織株式会社
ロータの製造装置
1か月前
個人
電線盗難防止方法及び電線盗難防止装置
1か月前
サンデン株式会社
モータ
3日前
京商株式会社
模型用非接触電力供給システム
18日前
続きを見る
他の特許を見る