TOP
|
特許
|
意匠
|
商標
特許ウォッチ
Twitter
他の特許を見る
公開番号
2025170429
公報種別
公開特許公報(A)
公開日
2025-11-18
出願番号
2025147056,2021106415
出願日
2025-09-04,2021-06-28
発明の名称
車載情報処理装置、自動運転システムおよび車載システム
出願人
Astemo株式会社
代理人
ポレール弁理士法人
主分類
G08G
1/16 20060101AFI20251111BHJP(信号)
要約
【課題】
本発明は、一般道の路上駐車による自動運転快適性の劣化を抑止することを課題とする。
【解決手段】
本発明は、レーン情報を含む第1地図情報を記憶する第1地図記憶部と、店舗や施設を含む物件情報を含む第2地図情報を記憶する第2地図記憶部と、車両の走行経路を取得する経路取得部と、前記走行経路に隣接する前記物件情報を取得する物件取得部と、前記物件情報に基づき推奨レーンを判定する判定部と、を備える車両制御システムであって、一般道路で自動走行する際に、路上に車両が停車していることによる快適さの劣化や自動運転解除となってしまうことの防止、路上駐車有無を店舗(静的な情報)と車速(動的な情報)を組み合わせることで、予測精度を高めた走行推奨レーン情報を通知することが出来る。また、外部との通信を発生させず、オフラインでの地図加工等も行わず安価に運用出来る。を有した車両制御システムである。
【選択図】図1
特許請求の範囲
【請求項1】
複数の走行レーンで構成される走行経路を走行する車両の運転支援を行うための車載情報処理装置において、
走行経路の走行レーンを識別するレーン情報および物件の特徴を示す物件情報に基づき算出される路上駐車可能性スコアを記憶する地図管理部と、
前記車両の走行経路を取得する走行経路取得部と、
取得された前記走行経路のレーン情報を取得するレーン情報取得部と、
取得された前記走行経路に近接する物件に関する前記路上駐車可能性スコアを取得する物件情報取得部と、
取得された前記路上駐車可能性スコアおよび取得された前記レーン情報に基づき、前記車両に対する推奨走行レーンを特定するための推奨走行レーン情報を特定する推奨レーン情報設定部を有する車載情報処理装置。
続きを表示(約 1,000 文字)
【請求項2】
請求項1に記載の車載情報処理装置において、
前記推奨レーン情報設定部は、前記車両の車速の低下の有無に応じた推奨走行レーンを特定する車載情報処理装置。
【請求項3】
請求項1に記載の車載情報処理装置において、
前記走行経路は、少なくとも当該走行経路の最も外側に位置する第1走行レーンおよび第2走行レーンで構成され、
前記推奨レーン情報設定部は、前記車両が前記第2走行レーンを走行しており、前記車速が低下した場合、当該第2走行レーンを、前記推奨走行レーンとして特定する車載情報処理装置。
【請求項4】
請求項1に記載の車載情報処理装置において、
前記走行経路は、少なくとも当該走行経路の最も外側に位置する第1走行レーンおよび第2走行レーンで構成され、
前記推奨レーン情報設定部は、前記車両が前記第2走行レーンを走行しており、前記車速が低下しない場合、前記走行経路を構成する各走行レーンを、前記推奨走行レーンとして特定する車載情報処理装置。
【請求項5】
請求項1ないし4に記載のいずれかの車載情報処理装置において、
路上駐車を判断する前記物件を間引く機能を有する車載情報処理装置。
【請求項6】
請求項1ないし5に記載のいずれかの車載情報処理装置において、
前記路上駐車可能性スコアは、前記車両外に設置されたサーバにより演算されかつ前記車両に送信される車載情報処理装置。
【請求項7】
請求項1ないし6に記載のいずれかの車載情報処理装置において、
前記路上駐車可能性スコアは、物件の業態業種、位置、営業時間、駐車場有無のいずれか又は複数の組み合わせに基づき算出される車載情報処理装置。
【請求項8】
請求項1ないし7に記載のいずれかの車載情報処理装置において、
前記路上駐車可能性スコアは、時間帯ごとに算出された動的な確率に関する情報である車載情報処理装置。
【請求項9】
請求項1ないし8に記載のいずれかの車載情報処理装置において、
前記路上駐車可能性スコアは、前記走行経路の走行方向ごとに設けられる車載情報処理装置。
【請求項10】
請求項1ないし9に記載のいずれかの車載情報処理装置を備える車載情報処理システムにおいて、
前記車両外に設置されたサーバを備え、前記路上駐車可能性スコアは、前記サーバにより演算される車載情報処理システム。
発明の詳細な説明
【技術分野】
【0001】
本発明は、移動体、特に車両に対する運転支援技術に関する。
続きを表示(約 1,900 文字)
【背景技術】
【0002】
現在車両の運転支援技術として、自動運転、運転支援(ADASや運転者に対する情報通知)が行われている。ここで、一般道路では、左車線の路肩に寄せて駐停車している車両が数多く存在する。このため、運転支援技術を適用した車両においては、出来る限り事前に、この路上駐車を予測することが望まれる。このように、予測することで、当該車線の走行を回避するなど対策が可能となる。
【0003】
この分野の先行技術として、特開2006-184005号公報(特許文献1)がある。特許文献1に記載された経路案内システムでは、道路リンクごとの車線情報、及び交差点における誘導経路情報に基づいて区間ごとの推奨走行レーンを設定する推奨車線設定処理手段と、道路リンクごとの路上駐車車両の存在に伴って変動する道路状況を表す道路状況情報を取得する道路状況情報取得処理手段と、道路状況情報に基づいて設定された推奨走行レーンを変更する推奨車線決定処理手段とを有する。道路リンクごとの路上駐車車両の存在に伴って変動する道路状況に応じて推奨走行レーンが変更されるので、車両を走行させるのが好ましい車線を確実に案内することができ、経路案内を適切に行うことができる。
【先行技術文献】
【特許文献】
【0004】
特開2006-184005号公報
【発明の概要】
【発明が解決しようとする課題】
【0005】
前述したように、特許文献1には、路上駐車車両の存在に伴い変化する道路状況を判断して適切な推奨走行レーンを変更する手段が記載されている。しかし、その判断手法は過去の実績に基づく統計情報を拠り所としている為、走行実績が少ない路線で使用出来ない問題や実機に搭載するデータベース(統計情報)そのもののメンテナンスの問題などがあった。
【0006】
そこで、本発明では、走行実績が無くても路上駐車の可能性を判断できる運転支援技術を提供することを目的とする。
【課題を解決するための手段】
【0007】
本願において開示される発明の代表的な一例を示せば、以下の通りである。車両の走行経路に近接する物件の物件情報に基づき、当該走行経路における車両の推奨走行レーンを特定する。より詳細な構成は、走行経路の走行レーンを識別するレーン情報および物件の特徴を示す物件情報を記憶する地図管理部と、前記車両の走行経路を取得する走行経路取得部と、取得された前記走行経路のレーン情報を取得するレーン情報取得部と、取得された前記走行経路に近接する物件の物件情報を取得する物件情報取得部と、取得された前記物件情報および取得された前記レーン情報に基づき、前記車両に対する推奨走行レーンを特定するための推奨走行レーン情報を特定する推奨レーン情報設定部を有する車載情報処理装置である。また、本発明には、車載情報処理装置を含む自動運転システムや車載システムも含まれる。
【発明の効果】
【0008】
本発明によれば、路上駐車の可能性に応じた運転支援技術を提供することができる。
【図面の簡単な説明】
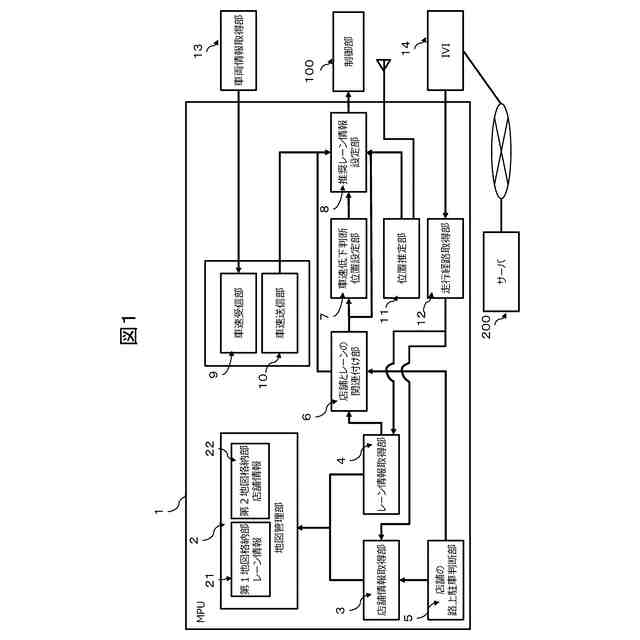
【0009】
実施例1および2におけるMPUを含む車両制御システム機能ブロック図である。
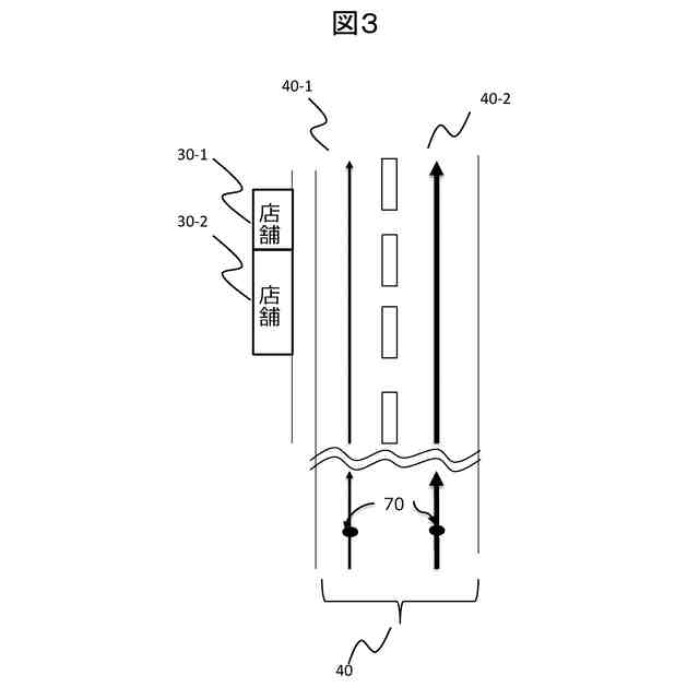
実施例1を適用する場面を示す図である。
実施例1における推奨走行レーンを設定する処理の概要を表現したイメージ図である。
実施例1における推奨走行レーンを設定する処理の詳細を示すフローチャートである。
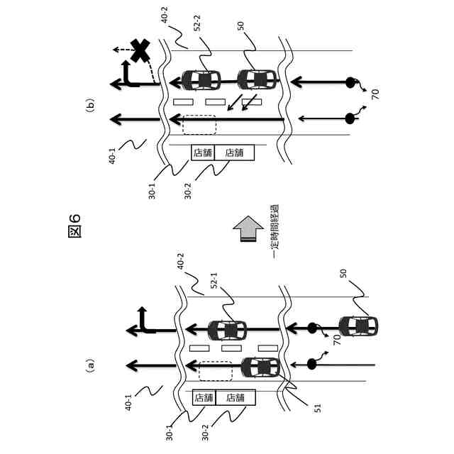
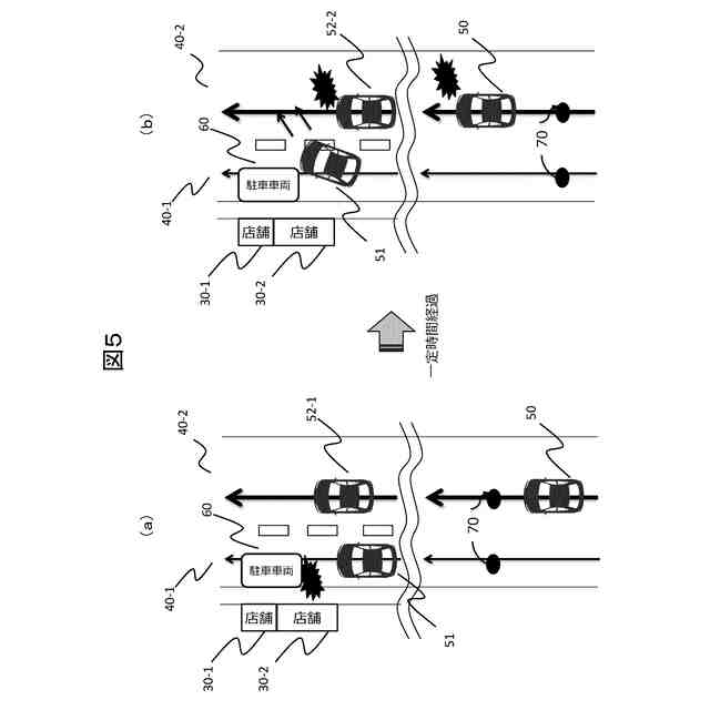
実施例2における車速変化ポイント70を通過後に自車両の車速が低下した場合の推奨レーンの特定を説明するための図である。
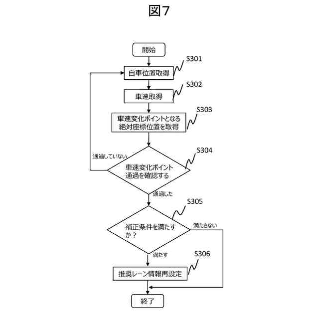
実施例2における車速変化ポイント70を通過後に自車両の車速が低下しない場合の推奨レーンの特定を説明するための図である。
実施例2における推奨走行レーンを補正する処理の詳細を示すフローチャートである。
実施例1および2で用いられる店舗情報を示す図である。
【発明を実施するための形態】
【0010】
以下、本発明の実施形態を説明する。本実施形態では、走行経路に近接する店舗の店舗情報に基づき、複数の走行レーン(車線)から車両に対する推奨走行レーンを特定する。
そして、本実施形態では、車両が、走行経路として走行レーンが2車線で構成される道路を走行する場合を例に説明する。また、本実施形態では、左側通行を例に説明する。また、本実施形態では、特定された推奨走行レーンに応じて、車両の自動運転制御を実行する。
(【0011】以降は省略されています)
この特許をJ-PlatPat(特許庁公式サイト)で参照する
関連特許
Astemo株式会社
緩衝器
20日前
Astemo株式会社
緩衝器
5日前
Astemo株式会社
緩衝器
1日前
Astemo株式会社
電子装置
14日前
Astemo株式会社
充電制御装置
12日前
Astemo株式会社
電子制御装置
5日前
Astemo株式会社
電子制御装置
今日
Astemo株式会社
管制システム
5日前
Astemo株式会社
車両制御装置
5日前
Astemo株式会社
接合方法、構造物
20日前
Astemo株式会社
車載電力分配装置
12日前
Astemo株式会社
ノイズフィルタ装置
5日前
Astemo株式会社
減衰力調整式緩衝器
5日前
Astemo株式会社
内燃機関の制御装置
20日前
Astemo株式会社
電力変換装置の制御装置
20日前
Astemo株式会社
半導体装置及び電力変換装置
20日前
Astemo株式会社
電子制御装置及び環境認識方法
5日前
株式会社日立製作所
冷却構造
6日前
株式会社日立製作所
電力変換装置
6日前
株式会社日立製作所
電力変換装置
7日前
Astemo株式会社
モータ制御装置およびモータ制御方法
5日前
Astemo株式会社
電池管理システム、および、電池管理方法
20日前
Astemo株式会社
電動ブレーキ及び電動ブレーキの組立方法
12日前
Astemo株式会社
バルブ装置
20日前
株式会社日立製作所
電力変換装置、電力変換装置の製造方法
7日前
Astemo株式会社
車両制御装置、車両制御方法および車両制御システム
26日前
Astemo株式会社
車載情報処理装置、自動運転システムおよび車載システム
22日前
Astemo株式会社
タスク分割システム、及び、車載タスク分割システム、タスク分割方法
26日前
Astemo株式会社
燃料インジェクタの制御方法および制御ユニット、コンピュータプログラム製品、ならびに燃料インジェクタの制御装置
9日前
日本精機株式会社
警報システム
3か月前
個人
安全支援装置
1か月前
株式会社SUBARU
車両
2か月前
個人
自動電動車椅子
2か月前
エムケー精工株式会社
車両誘導装置
3か月前
スズキ株式会社
運転支援装置
3か月前
ニッタン株式会社
検知器
3か月前
続きを見る
他の特許を見る