TOP
|
特許
|
意匠
|
商標
特許ウォッチ
Twitter
他の特許を見る
10個以上の画像は省略されています。
公開番号
2025178915
公報種別
公開特許公報(A)
公開日
2025-12-09
出願番号
2024085793
出願日
2024-05-27
発明の名称
緩衝器
出願人
Astemo株式会社
代理人
弁理士法人志賀国際特許事務所
主分類
F16F
9/58 20060101AFI20251202BHJP(機械要素または単位;機械または装置の効果的機能を生じ維持するための一般的手段)
要約
【課題】伸び切り時に衝撃を緩和する際の特性調整の自由度を向上させることが可能となる緩衝器を提供する。
【解決手段】シリンダ17に摺動可能に挿入されて、シリンダ17の内部を2室に区画するピストンと、第1端部がピストンに連結されて、第2端部がシリンダ17の外部に延出されるピストンロッド51と、シリンダ17の端部に設けられ、シリンダ17を閉塞する閉塞部材28と、閉塞部材28とピストンとの間に設けられるストッパ部材71と、ストッパ部材71と閉塞部材28との間に設けられるクッション部材72と、クッション部材72の径方向外側に配置され、クッション部材72の径方向外側の少なくとも一部を覆うカバー部材73と、カバー部材73から径方向外側に突出し、複数設けられているリブ102と、を備える。
【選択図】図2
特許請求の範囲
【請求項1】
作動流体が封入されたシリンダと、
前記シリンダに摺動可能に挿入されて、該シリンダの内部を2室に区画するピストンと、
第1端部が前記ピストンに連結されて、第2端部が前記シリンダの外部に延出されるピストンロッドと、
前記シリンダの端部に設けられ、該シリンダを閉塞する閉塞部材と、
前記閉塞部材と前記ピストンとの間に設けられるストッパ部材と、
前記ストッパ部材と前記閉塞部材との間に設けられるクッション部材と、
前記クッション部材の径方向外側に配置され、該クッション部材の径方向外側の少なくとも一部を覆うカバー部材と、
前記カバー部材から径方向外側に突出し、複数設けられているリブと、
を備える緩衝器。
続きを表示(約 1,100 文字)
【請求項2】
作動流体が封入されたシリンダと、
前記シリンダに摺動可能に挿入されて、該シリンダの内部を2室に区画するピストンと、
第1端部が前記ピストンに連結されて、第2端部が前記シリンダの外部に延出されるピストンロッドと、
前記シリンダの端部に設けられ、該シリンダを閉塞する閉塞部材と、
前記閉塞部材と前記ピストンとの間に設けられるストッパ部材と、
前記ストッパ部材と前記閉塞部材との間に設けられるクッション部材と、
前記クッション部材の径方向外側に配置され、該クッション部材の径方向外側の少なくとも一部を覆うカバー部材と、
前記カバー部材から径方向内側に突出し、前記クッション部材に挿入される突出部と、
を備える緩衝器。
【請求項3】
請求項2に記載の緩衝器であり、
前記カバー部材は、径方向外側に突出するよう設けられる複数のリブが設けられている緩衝器。
【請求項4】
請求項1または3に記載の緩衝器であり、
前記リブは、前記カバー部材の軸方向一端から他端まで形成されている緩衝器。
【請求項5】
請求項2または3に記載の緩衝器であり、
前記突出部は、軸方向両端面の一方もしくは他方のどちらか一方が傾斜するよう形成されている緩衝器。
【請求項6】
請求項1または3に記載の緩衝器であり、
前記リブは、前記シリンダと常時摺接するよう形成されている緩衝器。
【請求項7】
請求項1または2に記載の緩衝器であり、
前記カバー部材の径方向外側は、軸方向の端面から軸方向中央にかけて外径が大きくなるよう形成されている緩衝器。
【請求項8】
作動流体が封入されたシリンダと、
前記シリンダに摺動可能に挿入されて、該シリンダの内部を2室に区画するピストンと、
第1端部が前記ピストンに連結されて、第2端部が前記シリンダの外部に延出されるピストンロッドと、
前記シリンダの端部に設けられ、該シリンダを閉塞する閉塞部材と、
前記閉塞部材と前記ピストンとの間に設けられるストッパ部材と、
前記ストッパ部材と前記閉塞部材との間に設けられるクッション部材と、
前記クッション部材の径方向内側に配置され、該クッション部材の径方向内側の少なくとも一部を覆うカバー部材と、
前記カバー部材から径方向外側に突出し、前記クッション部材に挿入される突出部と、
を備える緩衝器。
発明の詳細な説明
【技術分野】
【0001】
本発明は、緩衝器に関する。
続きを表示(約 2,100 文字)
【背景技術】
【0002】
緩衝器には、伸び切り時に弾性部材を変形させて衝撃を緩和し、その後、ストッパ部材を閉塞部材に接触させることで、弾性部材への過度な荷重負荷を抑制し、耐久性を向上させるものがある(例えば、特許文献1参照)。
【先行技術文献】
【特許文献】
【0003】
特開2023-4732号公報
【発明の概要】
【発明が解決しようとする課題】
【0004】
緩衝器においては、伸び切り時に衝撃を緩和する際の特性調整の自由度を向上させることが求められている。
【0005】
したがって、本発明は、伸び切り時に衝撃を緩和する際の特性調整の自由度を向上させることが可能となる緩衝器の提供を目的とする。
【課題を解決するための手段】
【0006】
上記目的を達成するために、本発明に係る第1の態様は、作動流体が封入されたシリンダと、前記シリンダに摺動可能に挿入されて、該シリンダの内部を2室に区画するピストンと、第1端部が前記ピストンに連結されて、第2端部が前記シリンダの外部に延出されるピストンロッドと、前記シリンダの端部に設けられ、該シリンダを閉塞する閉塞部材と、前記閉塞部材と前記ピストンとの間に設けられるストッパ部材と、前記ストッパ部材と前記閉塞部材との間に設けられるクッション部材と、前記クッション部材の径方向外側に配置され、該クッション部材の径方向外側の少なくとも一部を覆うカバー部材と、前記カバー部材から径方向外側に突出し、複数設けられているリブと、を備える、構成とした。
【0007】
本発明に係る第2の態様は、作動流体が封入されたシリンダと、前記シリンダに摺動可能に挿入されて、該シリンダの内部を2室に区画するピストンと、第1端部が前記ピストンに連結されて、第2端部が前記シリンダの外部に延出されるピストンロッドと、前記シリンダの端部に設けられ、該シリンダを閉塞する閉塞部材と、前記閉塞部材と前記ピストンとの間に設けられるストッパ部材と、前記ストッパ部材と前記閉塞部材との間に設けられるクッション部材と、前記クッション部材の径方向外側に配置され、該クッション部材の径方向外側の少なくとも一部を覆うカバー部材と、前記カバー部材から径方向内側に突出し、前記クッション部材に挿入される突出部と、を備える、構成とした。
【0008】
本発明に係る第3の態様は、作動流体が封入されたシリンダと、前記シリンダに摺動可能に挿入されて、該シリンダの内部を2室に区画するピストンと、第1端部が前記ピストンに連結されて、第2端部が前記シリンダの外部に延出されるピストンロッドと、前記シリンダの端部に設けられ、該シリンダを閉塞する閉塞部材と、前記閉塞部材と前記ピストンとの間に設けられるストッパ部材と、前記ストッパ部材と前記閉塞部材との間に設けられるクッション部材と、前記クッション部材の径方向内側に配置され、該クッション部材の径方向内側の少なくとも一部を覆うカバー部材と、前記カバー部材から径方向外側に突出し、前記クッション部材に挿入される突出部と、を備える、構成とした。
【発明の効果】
【0009】
本発明によれば、伸び切り時に衝撃を緩和する際の特性調整の自由度を向上させることが可能となる。
【図面の簡単な説明】
【0010】
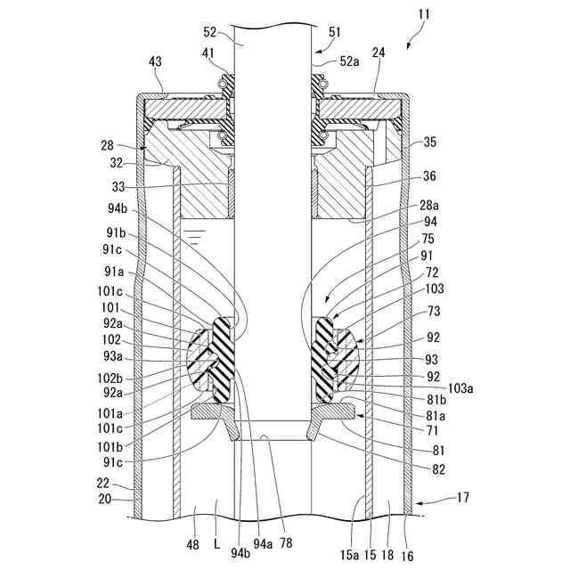
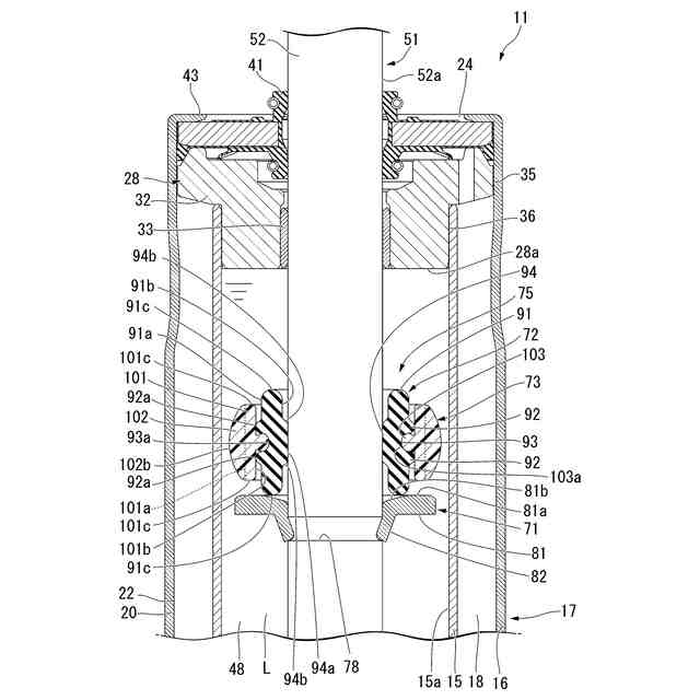
本発明に係る第1実施形態の緩衝器を示す断面図である。
本発明に係る第1実施形態の緩衝器を示す要部の断面図であって、衝撃緩和機構の非作動時の状態を示すものである。
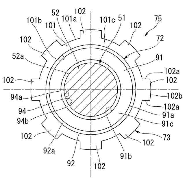
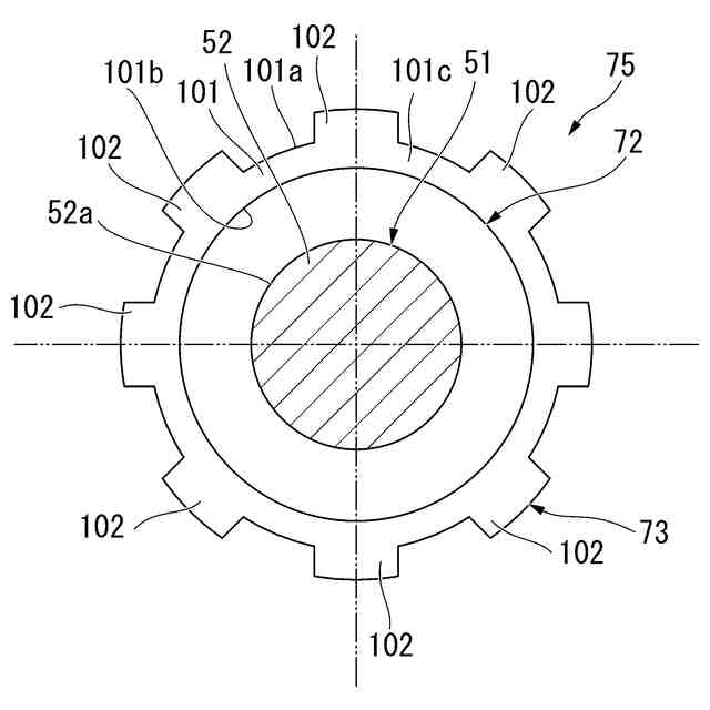
本発明に係る第1実施形態の緩衝器を示す非作動時の状態のピストンロッドとクッション部材とカバー部材とを示す断面図である。
本発明に係る第1実施形態の緩衝器を示す要部の断面図であって、衝撃緩和機構の作動時の状態を示すものである。
本発明に係る第1実施形態の緩衝器を示す作動時の状態のピストンロッドとクッション部材とカバー部材とを示す断面図である。
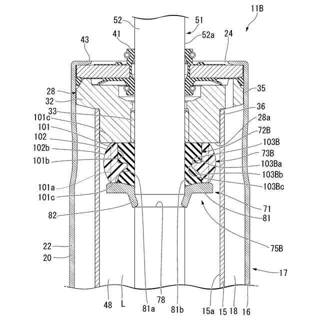
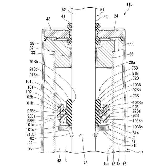
本発明に係る第2実施形態の緩衝器を示す要部の断面図であって、衝撃緩和機構の非作動時の状態を示すものである。
本発明に係る第2実施形態の緩衝器を示す要部の断面図であって、衝撃緩和機構の作動時の状態を示すものである。
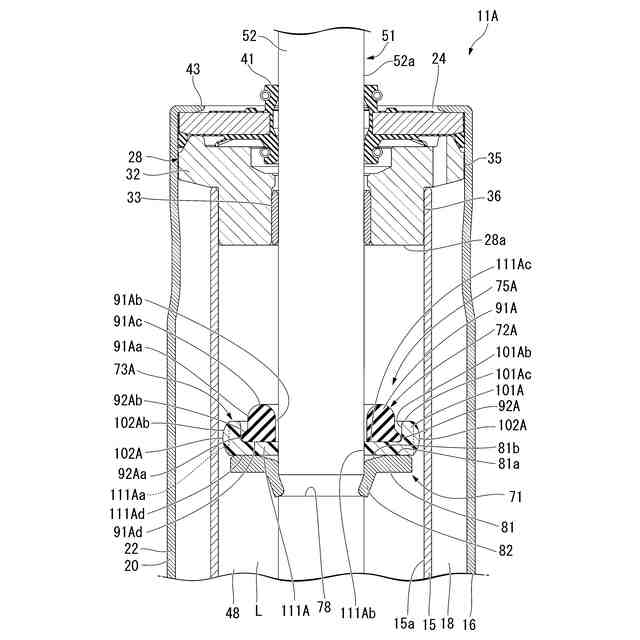
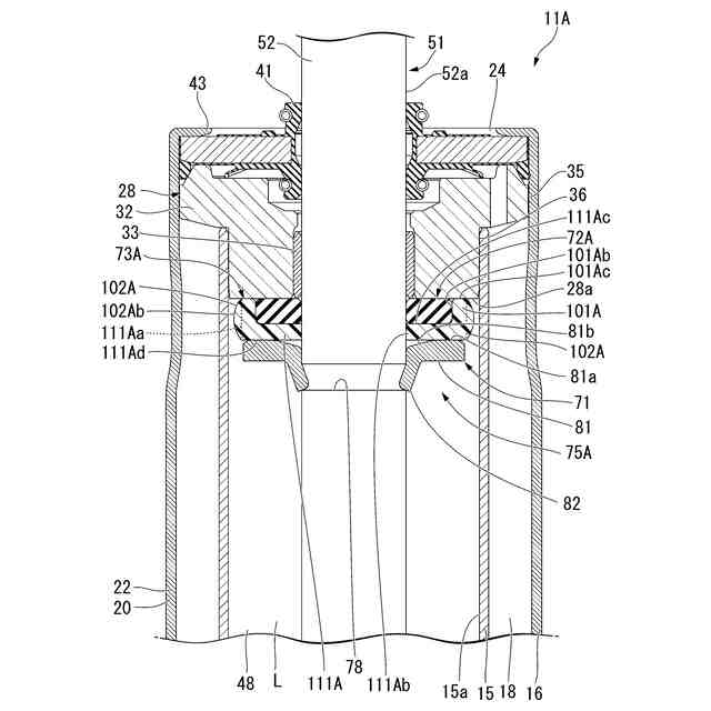
本発明に係る第3実施形態の緩衝器を示す要部の断面図であって、衝撃緩和機構の非作動時の状態を示すものである。
本発明に係る第3実施形態の緩衝器を示す要部の断面図であって、衝撃緩和機構の作動時の状態を示すものである。
本発明に係る第4実施形態の緩衝器を示す要部の断面図であって、衝撃緩和機構の非作動時の状態を示すものである。
本発明に係る第4実施形態の緩衝器を示す要部の断面図であって、衝撃緩和機構の作動時の状態を示すものである。
【発明を実施するための形態】
(【0011】以降は省略されています)
この特許をJ-PlatPat(特許庁公式サイト)で参照する
関連特許
Astemo株式会社
緩衝器
1日前
Astemo株式会社
電子制御装置
今日
Astemo株式会社
車両制御装置
5日前
個人
留め具
1か月前
個人
鍋虫ねじ
3か月前
個人
回転伝達機構
4か月前
個人
紛体用仕切弁
3か月前
個人
差動歯車用歯形
5か月前
個人
給排気装置
2か月前
個人
ジョイント
2か月前
個人
ナット
1か月前
株式会社不二工機
電磁弁
6か月前
個人
地震の揺れ回避装置
4か月前
株式会社不二工機
電磁弁
5か月前
個人
ナット
2か月前
個人
ゲート弁バルブ
20日前
個人
吐出量監視装置
3か月前
カヤバ株式会社
ダンパ
5か月前
カヤバ株式会社
ダンパ
5か月前
カヤバ株式会社
緩衝器
2か月前
柿沼金属精機株式会社
分岐管
3か月前
兼工業株式会社
バルブ
1か月前
カヤバ株式会社
緩衝器
5か月前
カヤバ株式会社
緩衝器
5か月前
株式会社ノーリツ
分配弁
7か月前
個人
固着具と固着具の固定方法
6か月前
株式会社ノーリツ
分配弁
7か月前
個人
固着具と固着具の固定方法
6か月前
株式会社ノーリツ
分配弁
2か月前
株式会社ニフコ
クリップ
20日前
株式会社不二工機
電動弁
2か月前
竹内工業株式会社
ラッチ
5日前
株式会社フジキン
ボールバルブ
6か月前
アズビル株式会社
回転弁
2か月前
株式会社不二工機
電磁弁
3か月前
株式会社三五
ドライブシャフト
1か月前
続きを見る
他の特許を見る