TOP
|
特許
|
意匠
|
商標
特許ウォッチ
Twitter
他の特許を見る
10個以上の画像は省略されています。
公開番号
2025170171
公報種別
公開特許公報(A)
公開日
2025-11-14
出願番号
2025154129,2024531884
出願日
2025-09-17,2022-07-08
発明の名称
タスク分割システム、及び、車載タスク分割システム、タスク分割方法
出願人
Astemo株式会社
代理人
弁理士法人信友国際特許事務所
主分類
G06F
9/50 20060101AFI20251107BHJP(計算;計数)
要約
【課題】複数のタスクを複数の演算部に割り当てる際に、少なくとも1つの演算部が失陥や異常を生じた場合においても安全性が失われないようにタスクを分割することができるタスク分割システム、及び、車載タスク分割システム、タスク分割方法を提供する。
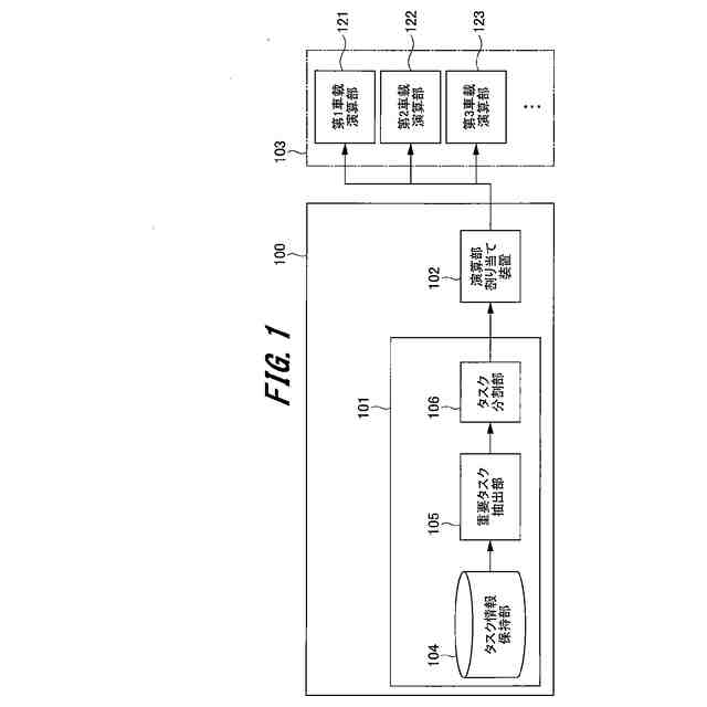
【解決手段】タスク分割システムは、複数の演算部で実行される複数のタスクの情報を保持するタスク情報保持部と、タスク情報保持部に保持された複数のタスクから重要タスクを抽出する重要タスク抽出部と、タスク分割部と、を備えている。タスク分割部は、重要タスク抽出部が抽出した重要タスクに対して、互いに補完関係になっている別の重要タスクがあるか確認し、補完し合う重要タスクに補完関係の属性情報を付与する。
【選択図】図1
特許請求の範囲
【請求項1】
複数の演算部で実行される複数のタスクの情報を保持するタスク情報保持部と、
前記タスク情報保持部に保持された複数の前記タスクから重要タスクを抽出する重要タスク抽出部と、
前記重要タスク抽出部が抽出した前記重要タスクに対して、互いに補完関係になっている別の重要タスクがあるか確認し、補完し合う重要タスクに前記補完関係の属性情報を付与するタスク分割部と、
を備えたタスク分割システム。
続きを表示(約 1,000 文字)
【請求項2】
前記タスク分割部は、前記重要タスクに対して、互いに補完関係になっている別の重要タスクがないと判断した場合、前記補完し合う重要タスクを別々の演算部に割り当てることができるように前記属性情報を付与する
請求項1に記載のタスク分割システム。
【請求項3】
前記タスク分割部は、
補完無しと判断された前記重要タスクをそれぞれ異なる演算部で補完的に演算できるよう、一定の重複領域を持たせて分割する
請求項2に記載のタスク分割システム。
【請求項4】
前記タスク分割部は、
前記複数のタスクの種別に基づいてグループ化し、同じグループのタスクが単一の演算部に割り当てられないように前記属性情報を付与する
請求項1に記載のタスク分割システム。
【請求項5】
前記タスク情報保持部は、
前記属性情報に基づいて前記複数のタスクの優先度を設定する
請求項1に記載のタスク分割システム。
【請求項6】
前記重要タスク抽出部は、
前記優先度に基づいて、前記複数のタスクのうち、所定の閾値以上のタスクを前記重要タスクとして抽出する
請求項5に記載のタスク分割システム。
【請求項7】
前記重要タスク抽出部は、
異常時の安全性に基づいて、前記重要タスクを抽出する
請求項1に記載のタスク分割システム。
【請求項8】
前記タスク分割部で付与された前記補完関係の属性情報に基づいて、前記補完し合う重要タスクを別々の演算部に割り当てる演算部割り当て装置を更に備える
請求項1に記載のタスク分割システム。
【請求項9】
前記演算部割り当て装置は、
前記複数の演算部に対して、互い違いとなるように前記重要タスクを割り振る
請求項8に記載のタスク分割システム。
【請求項10】
車両に設けた複数の演算部で実行される複数のタスクの情報を保持するタスク情報保持部と、
前記タスク情報保持部に保持された複数の前記タスクから重要タスクを抽出する重要タスク抽出部と、
前記重要タスク抽出部が抽出した前記重要タスクに対して、互いに補完関係になっている別の重要タスクがあるか確認し、補完し合う重要タスクに前記補完関係の属性情報を付与するタスク分割部と、
を備えた車載タスク分割システム。
(【請求項11】以降は省略されています)
発明の詳細な説明
【技術分野】
【0001】
本発明は、電子制御装置で実行されるタスクを分割するタスク分割システム、及び、車載タスク分割システム、タスク分割方法に関する。
続きを表示(約 1,900 文字)
【背景技術】
【0002】
車両には、外界認識センサと接続され、車両や歩行者を認識する電子制御装置や、複数の電子制御装置で得られた認識結果を統合して自動運転や運転支援のための演算を行う電子制御装置、エンジンやアクチュエータの制御を行う電子制御装置等、多くの電子制御装置が搭載されている。また、近年では、搭載される電子制御装置の数を減らすため、一つの電子制御装置への機能の集約が行われている。しかしながら、一つの演算用部品しか持たない電子制御装置では、増大する処理負荷に対応するため、演算用部品が高価になる、という問題を有していた。
【0003】
複数の電子制御装置を用いて、機能(タスク)を分散配置することが行われている。このような従来技術としては、例えば、特許文献1及び特許文献2に記載されているようなものがある。
【0004】
特許文献1には、プロセッサが備える複数種別のコアに対して、当該コアに実行させるタスクを割り当てるコア割当装置が記載されている。そして、特許文献1には、タスクを定義する設計情報から、タスクの特徴を示す特徴情報を取得する特徴取得部と、特徴情報と、プロセッサにおけるコアの構成とに基づいて、タスクをコアに割り当てる割当部と、を有する技術が記載されている。
【0005】
また、特許文献2には、業務処理の実行に必要な異なる内容の情報を格納したデータベースをそれぞれ保有する複数のサーバと、サーバが保有する各データベースにアクセスすることによって業務処理を実行する業務処理用クライアントと、を有するクライアントサーバシステムにおけるデータベースの保守管理を行う技術が記載されている。また、各サーバが保有するデータベースに格納された情報のうち業務処理の継続実行に必要な情報を抽出し、抽出した情報に基づきスタンドアロン用縮退運転用データベースを業務処理用クライアントに生成するデータベース監視装置を有している。そして、業務処理用クライアントは、少なくとも1台のサーバにアクセスができないときには、スタンドアロン用縮退運転用データベースへアクセス先を切り替えることによって業務処理を継続して実行する技術が記載されている。
【先行技術文献】
【特許文献】
【0006】
特開2021-039666号公報
特開2000-181770号公報
【発明の概要】
【発明が解決しようとする課題】
【0007】
しかしながら、特許文献1に記載された技術では、複数の演算部のうちいずれかの演算部が失陥した際の安全性については、考慮されていない。また、特許文献2には、少なくとも1台のサーバがダウンした際にも処理実行を継続させるため、縮退運転用のデータベースを生成するデータベース保守管理システムが開示されている。
【0008】
しかしながら、特許文献2に記載された技術では、縮退運転用のデータベースを生成するためのデータベースを、別のサーバに用意する必要がある。そのため、特許文献2記載の技術をリソースの制約が厳しい車載の電子制御装置へ適用することは、困難である。
【0009】
本発明の目的は、上記の問題点を考慮し、複数のタスクを複数の演算部に割り当てる際に、少なくとも1つの演算部が失陥や異常を生じた場合においても安全性が失われないようにタスクを分割することができるタスク分割システム、及び、車載タスク分割システム、タスク分割方法を提供することにある。
【課題を解決するための手段】
【0010】
上記課題を解決し、本発明の目的を達成するため、タスク分割システムは、複数の演算部で実行される複数のタスクの情報を保持するタスク情報保持部と、タスク情報保持部に保持された複数のタスクから重要タスクを抽出する重要タスク抽出部と、タスク分割部と、を備えている。タスク分割部は、重要タスク抽出部が抽出した重要タスクに対して、互いに補完関係になっている別の重要タスクがあるか確認し、補完し合う重要タスクに補完関係の属性情報を付与する。
また、車載タスク分割システムは、車両に設けた複数の演算部で実行される複数のタスクの情報を保持するタスク情報保持部と、タスク情報保持部に保持された複数のタスクから重要タスクを抽出する重要タスク抽出部と、タスク分割部と、を備えている。タスク分割部は、重要タスク抽出部が抽出した重要タスクに対して、互いに補完関係になっている別の重要タスクがあるか確認し、補完し合う重要タスクに補完関係の属性情報を付与する。
(【0011】以降は省略されています)
この特許をJ-PlatPat(特許庁公式サイト)で参照する
関連特許
Astemo株式会社
緩衝器
13日前
Astemo株式会社
緩衝器
6日前
Astemo株式会社
緩衝器
19日前
Astemo株式会社
操舵装置
20日前
Astemo株式会社
ゲート駆動回路
6日前
Astemo株式会社
半導体装置、電力変換装置、半導体装置の製造方法
6日前
Astemo株式会社
データ収集装置、車両制御装置及びデータ収集システム
11日前
日産自動車株式会社
車両制御方法および車両制御装置
20日前
日産自動車株式会社
車両制御方法および車両制御装置
20日前
日産自動車株式会社
車両制御方法および車両制御装置
20日前
Astemo株式会社
更新管理システム
11日前
Astemo株式会社
制御装置及び制御システム
19日前
Astemo株式会社
車両制御装置、車両制御方法および車両制御システム
4日前
Astemo株式会社
車載情報処理装置、自動運転システムおよび車載システム
今日
Astemo株式会社
タスク分割システム、及び、車載タスク分割システム、タスク分割方法
4日前
個人
詐欺保険
1か月前
個人
縁伊達ポイン
1か月前
個人
5掛けポイント
11日前
個人
職業自動販売機
4日前
個人
RFタグシート
22日前
個人
QRコードの彩色
1か月前
個人
地球保全システム
1か月前
個人
ペルソナ認証方式
19日前
個人
自動調理装置
21日前
個人
情報処理装置
14日前
個人
冷凍食品輸出支援構造
2か月前
個人
為替ポイント伊達夢貯
2か月前
個人
農作物用途分配システム
1か月前
個人
表変換編集支援システム
2か月前
個人
残土処理システム
1か月前
個人
知財出願支援AIシステム
2か月前
個人
インターネットの利用構造
18日前
個人
タッチパネル操作指代替具
28日前
個人
知的財産出願支援システム
1か月前
個人
サービス情報提供システム
6日前
個人
AIによる情報の売買の仲介
2か月前
続きを見る
他の特許を見る