TOP
|
特許
|
意匠
|
商標
特許ウォッチ
Twitter
他の特許を見る
公開番号
2025159000
公報種別
公開特許公報(A)
公開日
2025-10-17
出願番号
2025127012,2023008556
出願日
2025-07-30,2019-11-20
発明の名称
減衰力調整式緩衝器の製造方法およびソレノイドの製造方法
出願人
Astemo株式会社
代理人
弁理士法人広和特許事務所
主分類
H01F
7/16 20060101AFI20251009BHJP(基本的電気素子)
要約
【課題】非磁性部材の特性を保つことができ、第1,第2の固定鉄心の間で可動鉄心に対する磁束密度を高く維持することができるようにする。
【解決手段】
ソレノイドの主要部を構成する第1のステータコアと第2のステータコアとの間には、コイルの内周側に位置して非磁性リングが設けられている。非磁性リングは、可動鉄心(プランジャ)に対する磁気回路の磁束密度を高めるように、第1,第2の固定鉄心(第1,第2のステータコア)との間にろう付け部によって接合されている。オーステナイト系ステンレス鋼等の非磁性材料からなる非磁性リングは、その内径寸法が第1,第2のステータコアの内径よりも大径または小径となり、プランジャとの間に径方向の隙間が形成されている。
【選択図】図3
特許請求の範囲
【請求項1】
減衰力調整式緩衝器であって、該減衰力調整式緩衝器は、
作動流体が封入されるシリンダと、
前記シリンダ内に挿入されて前記シリンダ内をロッド側室とボトム側室とに画成するピストンと、
前記ピストンに連結されて前記シリンダの外部へ延びるピストンロッドと、
前記ピストンロッドの移動によって前記作動流体の流れが生じる流路と、
前記流路に設けられソレノイドによって開閉動作が調整される減衰力調整バルブと、
を備え、
前記ソレノイドは、
通電により磁力を発生するコイルと、
前記コイルの内周側に設けられる第1,第2の固定鉄心と、
前記第1,第2の固定鉄心の間に設けられ、前記第1,第2の固定鉄心に対してろう付けにより一体的に固定される非磁性部材と、
前記第1,第2の固定鉄心および前記非磁性部材の内周側に配され、軸方向へ移動可能に設けられる可動鉄心と、
前記可動鉄心に設けられる軸部と、
前記軸部を支持する第1,第2のブッシュと、を備え、
前記軸部の前記第2の固定鉄心側の端部には、前記減衰力調整バルブの弁体が設けられ、
前記第1,第2の固定鉄心の内径と比して、前記非磁性部材の内径は大径または小径であり、
前記非磁性部材は、前記第2の固定鉄心端部に設けられる円錐状突部との間にろう付け温度が1000度以上となるろう材を用いて前記第2の固定鉄心と接合され、該非磁性部材の軸方向端部と前記第2の固定鉄心とが当接していることを特徴とする減衰力調整式緩衝器。
続きを表示(約 1,500 文字)
【請求項2】
請求項1に記載の減衰力調整式緩衝器において、
前記非磁性部材は、オーステナイト系ステンレス鋼からなる部材である減衰力調整式緩衝器。
【請求項3】
請求項1または2に記載の減衰力調整式緩衝器において、
前記非磁性部材は、純銅ろうからなるろう材を用いて前記ろう付けしてなる減衰力調整式緩衝器。
【請求項4】
通電により磁力を発生するコイルと、
前記コイルの内周側に設けられる第1,第2の固定鉄心と、
前記第1,第2の固定鉄心の間に設けられ、前記第1,第2の固定鉄心に対してろう付けにより一体的に固定される非磁性部材と、
前記第1,第2の固定鉄心および前記非磁性部材の内周側に配され、軸方向へ移動可能に設けられる可動鉄心と、
前記可動鉄心に設けられる軸部と、
前記軸部を支持する第1,第2のブッシュと、を備え、
前記第1,第2の固定鉄心の内径と比して、前記非磁性部材の内径は大径または小径であり、
前記非磁性部材は、前記第2の固定鉄心端部に設けられる円錐状突部との間にろう付け温度が1000度以上となるろう材を用いて前記第2の固定鉄心と接合され、該非磁性部材の軸方向端部と前記第2の固定鉄心とが当接していることを特徴とするソレノイド。
【請求項5】
請求項4に記載のソレノイドにおいて、
前記非磁性部材は、オーステナイト系ステンレス鋼からなる部材であるソレノイド。
【請求項6】
請求項4または5に記載のソレノイドにおいて、
前記非磁性部材は、純銅ろうからなるろう材を用いて前記ろう付けしてなるソレノイド。
【請求項7】
請求項4乃至6の何れか1項に記載のソレノイドにおいて、
前記第1,第2の固定鉄心の内径を画定する内径部と、前記非磁性部材の内径を画定する内径部とは、ろう付け後に切削加工されていないことを特徴とするソレノイド。
【請求項8】
減衰力調整式緩衝器であって、該減衰力調整式緩衝器は、
作動流体が封入されるシリンダと、
前記シリンダ内に挿入されて前記シリンダ内をロッド側室とボトム側室とに画成するピストンと、
前記ピストンに連結されて前記シリンダの外部へ延びるピストンロッドと、
前記ピストンロッドの移動によって前記作動流体の流れが生じる流路と、
前記流路に設けられソレノイドによって開閉動作が調整される減衰力調整バルブと、
を備え、
前記ソレノイドは、
通電により磁力を発生するコイルと、
前記コイルの内周側に設けられる第1,第2の固定鉄心と、
前記第1,第2の固定鉄心の間に設けられ、前記第1,第2の固定鉄心に対してろう付けにより一体的に固定される非磁性部材と、
前記第1,第2の固定鉄心および前記非磁性部材の内周側に配され、軸方向へ移動可能に設けられる可動鉄心と、
前記可動鉄心の内周側に設けられる軸部と、
前記軸部を支持する第1,第2のブッシュと、を備え、
前記軸部の前記第2の固定鉄心側の端部には、前記減衰力調整バルブの弁体が設けられ、
前記非磁性部材は、前記第2の固定鉄心端部に設けられる円錐状突部との間にろう付け温度が1000度以上となるろう材を用いて前記第2の固定鉄心と接合され、該非磁性部材の軸方向端部と前記第2の固定鉄心とが当接していることを特徴とする減衰力調整式緩衝器。
発明の詳細な説明
【技術分野】
【0001】
本発明は、例えば車両の振動を緩衝する減衰力調整式緩衝器およびソレノイドに関する。
続きを表示(約 2,900 文字)
【背景技術】
【0002】
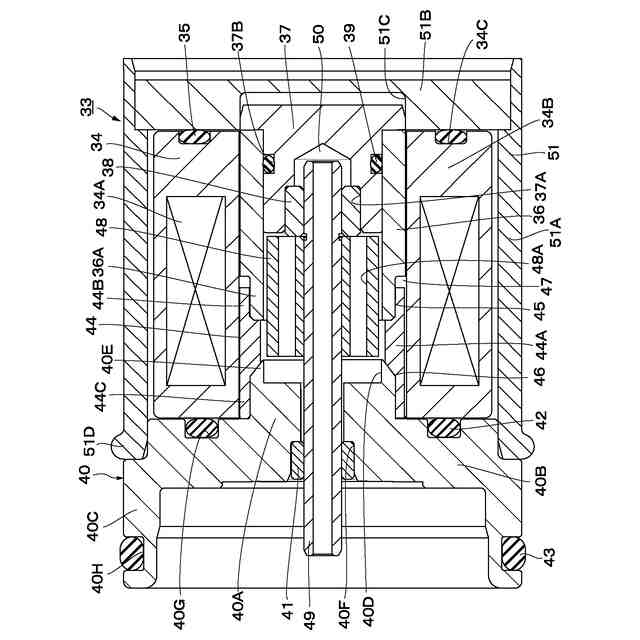
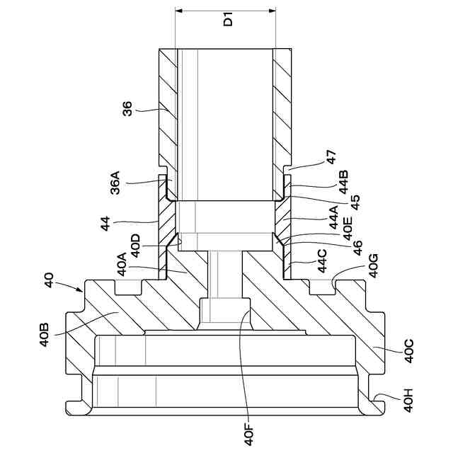
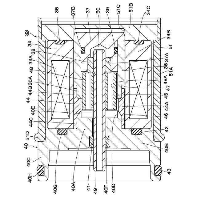
一般に、車両に搭載されるセミアクティブサスペンション等の懸架装置は、車両の走行条件、挙動等に応じて減衰力を可変に調整するようにした減衰力調整式緩衝器を備えられている。また、減衰力調整式緩衝器には、減衰力を可変に調整する電磁比例アクチュエータとしてソレノイドを用いたものが知られている。例えば、特許文献1には、この種のソレノイドとして、通電により磁力を発生するコイルと、該コイルの内周側に配され磁性材料からなる第1,第2の固定鉄心(ステータコア)と、該第1,第2の固定鉄心の間を軸方向で繋ぐ非磁性部材と、第1,第2の固定鉄心および非磁性部材の内周側に配され軸方向へ移動可能に設けられる可動鉄心(プランジャ)とにより構成したものが記載されている。
【0003】
また、特許文献2には、第1,第2の固定鉄心の間に非磁性部材を接合するのに、ろう付け手段を用いたものが記載されている。この場合、例えば第2の固定鉄心と非磁性部材とをろう付けで接合した後に、その内周面を切削加工することにより段差のない面一となるよう形成している。これにより、可動鉄心の摺動性を高めるようにしている。さらに、特許文献3には、第1,第2の固定鉄心の間に磁路断面積を部分的に小さくする薄肉部を設ける構成としたものが記載されている。これにより、第1,第2の固定鉄心の間で、可動鉄心を通る磁束密度を高め、ソレノイドとしての性能を向上させるようにしている。
【先行技術文献】
【特許文献】
【0004】
特開2014-73018号公報
特開2009-127692号公報
特開2017-118124号公報
【発明の概要】
【発明が解決しようとする課題】
【0005】
ところで、上記特許文献に示されたソレノイドでは、第1,第2の固定鉄心との間に非磁性部材を接合し、非磁性部材により可動鉄心に対する磁気回路の磁束密度を高めるようにしている。しかし、非磁性部材は、接合後に機械加工(例えば、内周面を切削加工)を行うと、加工ひずみで磁気的な特性が変化し、非磁性部材が磁化され易くなるという問題がある。また、第1,第2の固定鉄心の間に磁路断面積を部分的に小さくする薄肉部を設ける構成とした場合は、薄肉部により固定鉄心全体の機械的強度が低下し、耐久性、寿命が低下するという問題がある。
【課題を解決するための手段】
【0006】
本発明は、上述した従来技術の問題に鑑みなされたもので、本発明の目的は、非磁性部材の特性を保つことができ、第1,第2の固定鉄心の間で可動鉄心に対する磁束密度を高く維持することができるようにした減衰力調整式緩衝器およびソレノイドを提供することにある。
【0007】
上述した課題を解決するため、本発明の一実施形態は、作動流体が封入されるシリンダと、前記シリンダ内に挿入されて前記シリンダ内をロッド側室とボトム側室とに画成するピストンと、前記ピストンに連結されて前記シリンダの外部へ延びるピストンロッドと、前記ピストンロッドの移動によって前記作動流体の流れが生じる流路と、前記流路に設けられソレノイドによって開閉動作が調整される減衰力調整バルブと、を備えてなる減衰力調整式緩衝器であって、前記ソレノイドは、通電により磁力を発生するコイルと、前記コイルの内周側に設けられる第1,第2の固定鉄心と、前記第1,第2の固定鉄心の間に設けられ、前記第1,第2の固定鉄心に対してろう付けにより一体的に固定される非磁性部材と、前記第1,第2の固定鉄心および前記非磁性部材の内周側に配され、軸方向へ移動可能に設けられる可動鉄心と、前記可動鉄心に設けられる軸部と、前記軸部を支持する第1,第2のブッシュと、を備え、前記軸部の前記第2の固定鉄心側の端部には、前記減衰力調整バルブの弁体が設けられ、前記第1,第2の固定鉄心の内径と比して、前記非磁性部材の内径は大径または小径であり、前記非磁性部材は、前記第2の固定鉄心端部に設けられる円錐状突部との間にろう付け温度が1000度以上となるろう材を用いて前記第2の固定鉄心と接合され、該非磁性部材の軸方向端部と前記第2の固定鉄心とが当接していることを特徴としている。
【0008】
また、本発明の一実施形態に係るソレノイドは、通電により磁力を発生するコイルと、前記コイルの内周側に設けられる第1,第2の固定鉄心と、前記第1,第2の固定鉄心の間に設けられ、前記第1,第2の固定鉄心に対してろう付けにより一体的に固定される非磁性部材と、前記第1,第2の固定鉄心および前記非磁性部材の内周側に配され、軸方向へ移動可能に設けられる可動鉄心と、前記可動鉄心に設けられる軸部と、前記軸部を支持する第1,第2のブッシュと、を備え、前記第1,第2の固定鉄心の内径と比して、前記非磁性部材の内径は大径または小径であり、前記非磁性部材は、前記第2の固定鉄心端部に設けられる円錐状突部との間にろう付け温度が1000度以上となるろう材を用いて前記第2の固定鉄心と接合され、該非磁性部材の軸方向端部と前記第2の固定鉄心とが当接していることを特徴としている。
【0009】
さらに、本発明の一実施形態は、作動流体が封入されるシリンダと、前記シリンダ内に挿入されて前記シリンダ内をロッド側室とボトム側室とに画成するピストンと、前記ピストンに連結されて前記シリンダの外部へ延びるピストンロッドと、前記ピストンロッドの移動によって前記作動流体の流れが生じる流路と、前記流路に設けられソレノイドによって開閉動作が調整される減衰力調整バルブと、を備えてなる減衰力調整式緩衝器であって、前記ソレノイドは、通電により磁力を発生するコイルと、前記コイルの内周側に設けられる第1,第2の固定鉄心と、前記第1,第2の固定鉄心の間に設けられ、前記第1,第2の固定鉄心に対してろう付けにより一体的に固定される非磁性部材と、前記第1,第2の固定鉄心および前記非磁性部材の内周側に配され、軸方向へ移動可能に設けられる可動鉄心と、前記可動鉄心に設けられる軸部と、前記軸部を支持する第1,第2のブッシュと、を備え、前記軸部の前記第2の固定鉄心側の端部には、前記減衰力調整バルブの弁体が設けられ、前記非磁性部材は、前記第2の固定鉄心端部に設けられる円錐状突部との間にろう付け温度が1000度以上となるろう材を用いて前記第2の固定鉄心と接合され、該非磁性部材の軸方向端部と前記第2の固定鉄心とが当接していることを特徴としている。
【0010】
本発明の一実施形態によれば、非磁性部材の特性が熱影響等で変化するのを抑えることができ、第1,第2の固定鉄心の間で可動鉄心を通る磁束密度を高く維持することができる。
【図面の簡単な説明】
(【0011】以降は省略されています)
この特許をJ-PlatPat(特許庁公式サイト)で参照する
関連特許
Astemo株式会社
緩衝器
11日前
Astemo株式会社
緩衝器
3日前
Astemo株式会社
ゲート駆動回路
11日前
Astemo株式会社
接合方法、構造物
3日前
Astemo株式会社
内燃機関の制御装置
3日前
Astemo株式会社
電力変換装置の制御装置
3日前
Astemo株式会社
半導体装置及び電力変換装置
3日前
Astemo株式会社
電池管理システム、および、電池管理方法
3日前
Astemo株式会社
半導体装置、電力変換装置、半導体装置の製造方法
11日前
Astemo株式会社
データ収集装置、車両制御装置及びデータ収集システム
16日前
Astemo株式会社
バルブ装置
3日前
Astemo株式会社
更新管理システム
16日前
Astemo株式会社
車両制御装置、車両制御方法および車両制御システム
9日前
Astemo株式会社
車載情報処理装置、自動運転システムおよび車載システム
5日前
Astemo株式会社
タスク分割システム、及び、車載タスク分割システム、タスク分割方法
9日前
APB株式会社
蓄電セル
1か月前
東ソー株式会社
絶縁電線
1か月前
日新イオン機器株式会社
イオン源
1か月前
株式会社東芝
端子台
24日前
マクセル株式会社
電源装置
24日前
ローム株式会社
半導体装置
1か月前
三菱電機株式会社
回路遮断器
11日前
富士電機株式会社
電磁接触器
3日前
株式会社GSユアサ
蓄電装置
25日前
株式会社GSユアサ
蓄電装置
25日前
株式会社GSユアサ
蓄電装置
3日前
株式会社GSユアサ
蓄電装置
17日前
株式会社ホロン
冷陰極電子源
1か月前
株式会社GSユアサ
蓄電設備
1か月前
株式会社GSユアサ
蓄電設備
1か月前
太陽誘電株式会社
コイル部品
1か月前
トヨタ自動車株式会社
蓄電装置
25日前
日本特殊陶業株式会社
保持装置
16日前
サクサ株式会社
電池の固定構造
1か月前
日新イオン機器株式会社
基板処理装置
27日前
日本特殊陶業株式会社
保持装置
1か月前
続きを見る
他の特許を見る