TOP
|
特許
|
意匠
|
商標
特許ウォッチ
Twitter
他の特許を見る
10個以上の画像は省略されています。
公開番号
2025156990
公報種別
公開特許公報(A)
公開日
2025-10-15
出願番号
2024059788
出願日
2024-04-02
発明の名称
撮像装置
出願人
Astemo株式会社
代理人
弁理士法人開知
主分類
G03B
17/55 20210101AFI20251007BHJP(写真;映画;光波以外の波を使用する類似技術;電子写真;ホログラフイ)
要約
【課題】放熱性の向上を図りつつ、筐体劣化の原因となる水滴の滞留を防止することができる撮像装置の提供。
【解決手段】撮像装置1は、撮像素子3およびメイン回路基板6を収納する筐体2を備える。筐体2の天板20には、窪んだ底面(凹部外壁面)203aおよび筐体2の内側に突出する凹部内壁面203bを有する凹部200と、天板20の外壁面に形成されて凹部200の後方側領域に連通する溝201とが設けられ、凹部内壁面203bには、メイン回路基板6に配置された発熱部品8が熱的に接触しており、溝201は、凹部200の後方側領域から筐体2の側方または後方に延伸し、延伸方向の溝端部が開放されている。
【選択図】図4
特許請求の範囲
【請求項1】
撮像素子および回路基板を収納する筐体を備え、撮像方向を前方側として少なくとも前記筐体の前方側が車外に露出する車載用の撮像装置であって、
前記筐体の天板には、窪んだ凹部外壁面および前記筐体の内側に突出する凹部内壁面を有する凹部と、前記天板の外壁面に形成されて前記凹部の後方側領域に連通する溝とが設けられ、
前記凹部内壁面には、前記回路基板に配置された発熱部品が熱的に接触しており、
前記溝は、前記凹部の後方側領域から前記筐体の側方または後方に延伸し、延伸方向の溝端部が開放されている、撮像装置。
続きを表示(約 800 文字)
【請求項2】
請求項1に記載の撮像装置において、
前記凹部は、前記天板の前記発熱部品が対向する領域に形成されている、撮像装置。
【請求項3】
請求項1に記載の撮像装置において、
前記溝は、前記凹部の後方側領域から前記筐体の左側方に向けて延伸している、撮像装置。
【請求項4】
請求項1に記載の撮像装置において、
前記凹部外壁面は、前記筐体の後方に向けて下り傾斜の傾斜面を形成している、撮像装置。
【請求項5】
請求項1に記載の撮像装置において、
前記溝の底面は、前記溝の延伸方向に下り傾斜の傾斜面を形成している、撮像装置。
【請求項6】
請求項1に記載の撮像装置において、
前記溝は、
溝底面が前記凹部の後方側領域から前記筐体の左側方に向けて下り傾斜で延伸する第1の溝と、
溝底面が前記凹部の後方側領域から前記筐体の右側方に向けて下り傾斜で延伸する第2の溝とを有し、
前記第1の溝の前記溝底面の傾斜角と前記第2の溝の前記溝底面の傾斜角とが異なる、撮像装置。
【請求項7】
請求項1に記載の撮像装置において、
前記溝は、前記凹部の後方側領域から前記筐体の側方に延伸し、延伸方向の溝端部が前記筐体の側面において開放されており、
前記側面の前記溝端部よりも筐体前方側において前記側面から突出する突出部を備える、撮像装置。
【請求項8】
請求項1に記載の撮像装置において、
前記溝は、前記凹部の後方側領域から前記筐体の側方に延伸し、延伸方向の溝端部が前記筐体の側面において開放されており、
前記筐体の前記側面に沿って筐体前側から筐体後側に延在し、前記溝端部が連通している導風通路を備える、撮像装置。
発明の詳細な説明
【技術分野】
【0001】
本発明は、車載用の撮像装置に関する。
続きを表示(約 2,400 文字)
【背景技術】
【0002】
近年、安全かつ快適な車社会の実現を目指して、運転者支援システムの実車搭載が進んでいる。その中で、衝突前の停止動作を自動で行う衝突被害軽減制動装置や、先行車を自動追尾する車間自動制御装置や、車線逸脱抑制装置、標識認識など、運転者や搭乗者の安全性と利便性と快適性を追求したシステムの開発が進んでいる。このようなシステムとしては、例えば、車両や歩行者などを認識して対象物の距離計測を行う外界認識システムがある。
【0003】
撮像装置内部に設けられている電子部品には発熱量が大きなものもあり、その電子部品の放熱性を向上させるために、電子部品を筐体の内壁面に熱接触させて放熱性向上を図る構成が知られている(例えば、特許文献1参照)。電子部品に熱接触させる筐体領域は、筐体の寸法精度を確保するために筐体の板厚を一定とした状態で背の低い電子部品に近接させる必要がある。そのため、筐体領域は電子部品に近接させるために筐体内側方向に変形され、その外壁面が周囲の筐体外壁面に対して窪むことになる。
【先行技術文献】
【特許文献】
【0004】
特開2008-193108号公報
【発明の概要】
【発明が解決しようとする課題】
【0005】
ところで、外界認識システムの入力装置の一種である撮像装置は、外界を正確に認識するため、明確な視野の確保が必須である。特に、車外に撮像装置を取り付ける2輪車などの場合、雨天走行時には、撮像装置は車両前方(走行方向)から雨滴が吹き付けられることになる。そのため、撮像装置の筐体の窪みに雨滴などが溜まりやすく、筐体が腐食したり劣化したりして、例えば筐体に穴が開いたりする。その場合、筐体内に水滴が侵入して、回路部品に不具合が生じる可能性がある。
【課題を解決するための手段】
【0006】
本発明の一態様による撮像装置は、撮像素子および回路基板を収納する筐体を備え、撮像方向を前方側として少なくとも前記筐体の前方側が車外に露出する車載用の撮像装置であって、前記筐体の天板には、窪んだ凹部外壁面および前記筐体の内側に突出する凹部内壁面を有する凹部と、前記天板の外壁面に形成されて前記凹部の後方側領域に連通する溝とが設けられ、前記凹部内壁面には、前記回路基板に配置された発熱部品が熱的に接触しており、前記溝は、前記凹部の後方側領域から前記筐体の側方または後方に延伸し、延伸方向の溝端部が開放されている。
【発明の効果】
【0007】
本発明によれば、撮像装置における放熱性の向上を図りつつ、筐体劣化の原因となる水滴の滞留を防止することができる。
【図面の簡単な説明】
【0008】
図1は、第1の実施形態の撮像装置の概観を示す斜視図である。
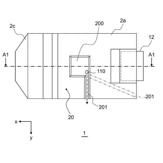
図2は、撮像装置の外観を示す平面図である。
図3は、撮像装置の自動二輪車への搭載例を示す図である。
図4は、図2のA1-A1断面図である。
図5は、比較例における撮像装置の外観を示す図である。
図6は、比較例の撮像装置の断面図である。
図7は、変形例1における撮像装置の外観を示す図である。
図8Aは、変形例1における撮像装置の断面図であり、図7に示すx軸に垂直な平面Sで撮像装置を切断したA2-A2断面を示す。
図8Bは、変形例1における撮像装置の断面図であり、図8AのA3-A3断面を示す。
図9は、変形例2における撮像装置の外観を示す斜視図である。
図10は、変形例2における撮像装置のA4-A4断面図である。
図11は、本発明の第2の実施形態に係る撮像装置を示す図である。
図12は、撮像装置の変形例3を示す図である。
図13は、撮像装置の変形例4を示す図である。
図14は、放熱フィンの他の例を示す図である。
図15は、撮像装置の変形例5を示す図である。
図16は、撮像装置の変形例6を示す図である。
【発明を実施するための形態】
【0009】
以下、図を参照して本発明を実施するための形態について説明する。以下の記載および図面は、本発明を説明するための例示であって、説明の明確化のため、適宜、省略および簡略化がなされている。また、以下の説明では、同一または類似の要素および処理には同一の符号を付し、重複説明を省略する場合がある。なお、以下に記載する内容はあくまでも本発明の実施の形態の一例を示すものであって、本発明は下記の実施の形態に限定されるものではなく、他の種々の形態でも実施することが可能である。
【0010】
<第1の実施形態>
図1~図6を参照して、本発明の第1の実施形態に係る撮像装置について説明する。図1,2は、撮像装置1の外観を示す図である。図1は撮像装置1の斜視図であり、図2は平面図である。撮像装置1は、自動二輪車などの鞍乗型車両の車体や、車室を有する車両(例えば、建設機械やトラクター等)の車室外などに設置される車載用の撮像装置である。図3は、撮像装置1の自動二輪車100への搭載例を示す図である。自動二輪車100の前面側には開口101が形成されており、撮像装置1は車体に設けられた開口101から車両前方を撮像するように搭載されている。なお、図3において、車両の前後方向をx軸、車両の左右方向をy軸、車両の天地方向をz軸とする。そして、車両前方側をx軸の正方向とし、車両左側方側をy軸の正方向とし、車両の天方向(鉛直上方向)をz軸の正方向とする。
(【0011】以降は省略されています)
この特許をJ-PlatPat(特許庁公式サイト)で参照する
関連特許
Astemo株式会社
撮像装置
2日前
Astemo株式会社
学習システム及び学習方法
1日前
Astemo株式会社
画像処理装置および画像処理方法
3日前
Astemo株式会社
車両制御プログラム決定方法および通信制御装置
2日前
Astemo株式会社
攻撃監視装置、攻撃監視システム及び攻撃監視方法
1日前
Astemo株式会社
バッテリーマネージメントシステム、および、バッテリーマネージメント方法
今日
Astemo株式会社
緩衝器用ピストンロッドの製造方法
3日前
Astemo株式会社
減衰力調整式緩衝器の製造方法およびソレノイドの製造方法
今日
個人
表示装置
2日前
個人
雨用レンズカバー
今日
株式会社シグマ
絞りユニット
29日前
キヤノン株式会社
撮像装置
28日前
日本精機株式会社
車両用投射装置
8日前
キヤノン株式会社
撮像装置
22日前
株式会社リコー
画像形成装置
1か月前
株式会社リコー
画像形成装置
18日前
株式会社オプトル
プロジェクタ
21日前
キヤノン株式会社
画像形成装置
3日前
キヤノン株式会社
トナー
9日前
キヤノン株式会社
トナー
14日前
沖電気工業株式会社
画像形成装置
今日
キヤノン株式会社
レンズキャップ
1日前
キヤノン株式会社
現像装置
7日前
スタンレー電気株式会社
照明装置
10日前
アイホン株式会社
カメラシステム
8日前
株式会社電気印刷研究所
静電印刷用積層体
14日前
ブラザー工業株式会社
画像形成装置
7日前
ブラザー工業株式会社
画像形成装置
7日前
古野電気株式会社
装置
今日
株式会社リコー
画像形成装置
18日前
ブラザー工業株式会社
画像形成装置
1か月前
ブラザー工業株式会社
画像形成装置
1か月前
ブラザー工業株式会社
画像形成装置
1か月前
キヤノン株式会社
画像形成装置
18日前
キヤノン株式会社
画像形成装置
15日前
ブラザー工業株式会社
定着装置
1か月前
続きを見る
他の特許を見る